Каталог запасных частей к технике: KRONE ECollect 753, 903, 1053. Z-Gearbox
1
1
2
8
9
10
11
12
12
12
13
14
15
15
16
16
17
18
18
19
19
20
20
21
21
22
23
24
25
25
26
27
28
29
30
31
32
33
34
35
35
36
36
36
37
37
37
38
39
40
41
42
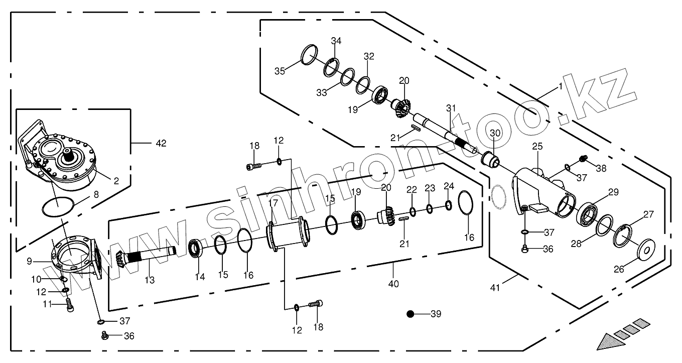
| Позиция на иллюстрации | Заводской номер детали | Название детали | |
|---|---|---|---|
| 1 | 200919911 | Z-Gearbox-left | |
| 1 | 200919881 | Z-Gearbox-right | |
| 2 | 200903090 | Collector gear-cpl. | |
| 8 | 009376040 | O-ring | |
| 9 | 200902661 | Flange | |
| 10 | 200903440 | Cover plate | |
| 11 | 009031391 | Allen screw | |
| 12 | 009099110 | Detent edged washer | |
| 13 | 003530411 | Pinion shaft | |
| 14 | 009321380 | Taper roller bearing | |
| 15 | 009111680 | Shim ring | |
| 16 | 009375770 | O-ring | |
| 17 | 200902750 | Housing | |
| 18 | 009031351 | Allen screw | |
| 19 | 009321100 | Taper roller bearing | |
| 20 | 003530401 | Bevel wheel | |
| 21 | 009153560 | Fit-in key | |
| 22 | 009108910 | Shim ring | |
| 23 | 009107300 | Supporting disc | |
| 24 | 009115450 | Circlip | |
| 25 | 200902791 | Housing | |
| 26 | 009360220 | Radial-shaft sealing ring | |
| 27 | 009116910 | Circlip | |
| 28 | 009108480 | Shim ring | |
| 29 | 009303510 | Grooved ball bearing | |
| 30 | 003530551 | Bearing bush | |
| 31 | 200919680 | Shaft | |
| 32 | 009109940 | Shim ring | |
| 33 | 009107460 | Supporting disc | |
| 34 | 009116860 | Circlip | |
| 35 | 009252081 | Sealing cap | |
| 36 | 009060101 | Screw plug | |
| 37 | 009377270 | Gasket ring | |
| 38 | 009198111 | Breather | |
| 39 | 009261010 | Oil-Id.-no.=1ltr | |
| 40 | 200912120 | Transitional gearbox | |
| 41 | 200919890 | Transversal gearbox | |
| 42 | 200912061 | Collector gear |
Содержащиеся в справочниках-каталогах запасные части и детали не предлагаются к продаже, а носят исключительно информационный характер