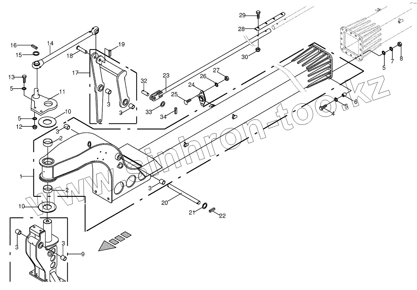
Каталог запасных частей к технике: KRONE EC-9000. Гусиная шейка / продольная рулевая тяга
1
2
2
3
3
3
3
3
3
4
5
5
5
5
6
7
8
9
10
10
11
12
13
14
15
16
17
18
19
20
21
22
23
24
25
26
27
28
29
30
32
33
34
| Позиция на иллюстрации | Заводской номер детали | Название детали | |
|---|---|---|---|
| 1 | 003532810 | Gooseneck | |
| 2 | 009353380 | Bearing bush | |
| 3 | 004411901 | Bearing bush | |
| 4 | 009011402 | Hex head bolt | |
| 5 | 009099121 | Detent edged washer | |
| 6 | 002256241 | Bushing | |
| 7 | 009099041 | Detent edged washer | |
| 8 | 009087190 | Locknut | |
| 9 | 003532840 | Axle support-front | |
| 10 | 003532600 | Approach disc | |
| 11 | 003531320 | Deflector | |
| 12 | 009087161 | Locknut | |
| 13 | 009011321 | Hex head bolt | |
| 14 | 003532700 | Upper link | |
| 15 | 009105141 | Washer | |
| 16 | 009127182 | Roll pin | |
| 17 | 003532820 | Steering compensator | |
| 18 | 009161203 | Pin | |
| 19 | 009126432 | Roll pin | |
| 20 | 003532540 | Pin | |
| 21 | 009105152 | Washer | |
| 22 | 009127162 | Roll pin | |
| 23 | 003531500 | Steering rod-front | |
| 24 | 002665981 | Steering rod bearing-cpl. | |
| 25 | 009047312 | Coach bolt | |
| 26 | 009099081 | Detent edged washer | |
| 27 | 009082100 | Hex nut | |
| 28 | 003532550 | U-bow | |
| 29 | 009014530 | Hex head bolt | |
| 30 | 009087010 | Locknut | |
| 32 | 001394731 | Pin | |
| 33 | 009106531 | Washer | |
| 34 | 009126161 | Roll pin |
Содержащиеся в справочниках-каталогах запасные части и детали не предлагаются к продаже, а носят исключительно информационный характер