Каталог запасных частей к технике: KRONE EC 32CRI. Geabox №550000-724000
1
2
2
3
4
5
6
7
7
7
7
8
8
9
9
10
10
11
12
13
14
14
15
16
17
18
18
19
19
20
21
22
23
24
25
26
27
27
28
28
29
29
30
31
32
32
33
34
35
36
37
37
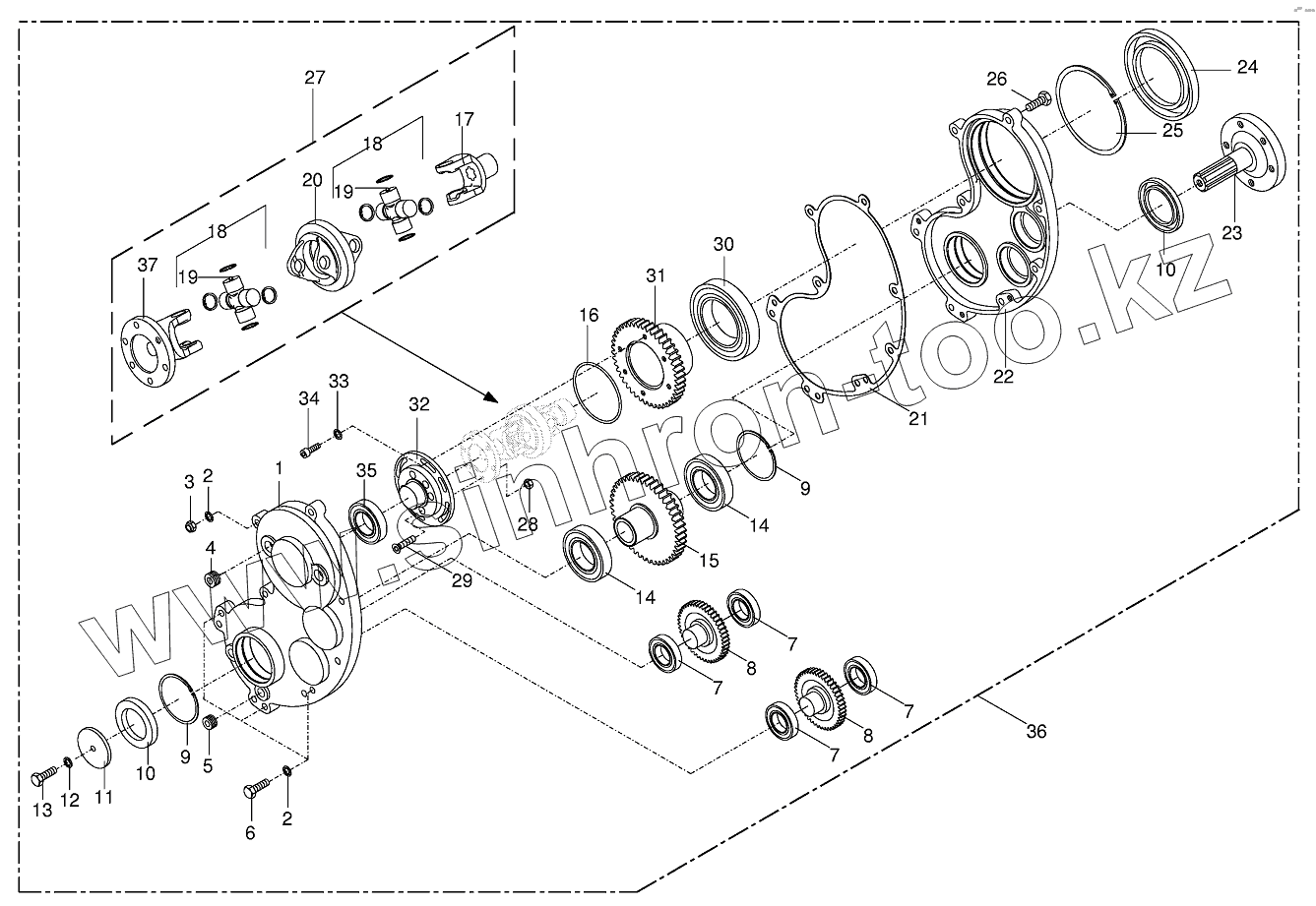
| Позиция на иллюстрации | Заводской номер детали | Название детали | |
|---|---|---|---|
| 00 926 101 0 | 00 926 101 0 | Oil -Id.-no.=1ltr | |
| 1 | 00 258 139 4 | Gearbox half -right | |
| 2 | 00 909 909 1 | Detent edged washer | |
| 3 | 00 908 212 0 | Hex nut | |
| 4 | 00 906 045 1 | Screw plug | |
| 5 | 00 906 040 1 | Screw plug | |
| 6 | 00 900 639 0 | Hex head bolt | |
| 7 | 00 930 536 1 | Grooved ball bearing | |
| 8 | 00 258 136 0 | Spur gear | |
| 9 | 00 911 673 0 | Circlip | |
| 10 | 00 936 300 2 | Radial-shaft sealing ring | |
| 11 | 00 910 642 0 | Washer | |
| 12 | 00 909 910 1 | Detent edged washer | |
| 13 | 00 900 657 0 | Hex head bolt | |
| 14 | 00 930 152 0 | Grooved ball bearing | |
| 15 | 00 258 135 0 | Spur gear | |
| 16 | 00 937 632 0 | O-ring | |
| 17 | 00 955 476 0 | Outer yoke | |
| 18 | 00 955 478 0 | Cross assy | |
| 19 | 00 919 002 0 | Grease niple | |
| 20 | 00 955 479 0 | Double yoke | |
| 21 | 00 258 133 1 | Gasket | |
| 22 | 00 258 138 1 | Gearbox half -left | |
| 23 | 00 258 129 0 | Profile shaft | |
| 24 | 00 936 065 0 | Radial-shaft sealing ring | |
| 25 | 00 911 698 0 | Circlip | |
| 26 | 00 900 285 1 | Hex head bolt | |
| 27 | 00 258 100 2 | Double universal joint | |
| 27 | 00 258 061 0 | Double universal joint | |
| 28 | 00 908 704 1 | Locknut | |
| 28 | 00 908 706 0 | Locknut | |
| 29 | 00 904 369 1 | Countersunkscrew | |
| 29 | 00 904 025 1 | Countersunkscrew | |
| 30 | 00 930 010 0 | Grooved ball bearing | |
| 31 | 00 258 137 0 | Spur gear | |
| 32 | 00 258 063 0 | Bearing plate | |
| 32 | 00 258 163 2 | Bearing plate | |
| 33 | 00 909 908 1 | Detent edged washer | |
| 34 | 00 903 075 1 | Allen screw | |
| 35 | 00 930 508 0 | Grooved ball bearing | |
| 36 | 00 258 105 4 | Gearbox -cpl. | |
| 37 | 00 955 477 0 | Flange yoke | |
| 37 | 00 955 492 0 | Flange yoke |
Содержащиеся в справочниках-каталогах запасные части и детали не предлагаются к продаже, а носят исключительно информационный характер