Вернуться на главную
Поиск
Каталоги запчастей к технике
Сельхозтехника
KRONE
BiG X V8, BiG X V12
Suction fan
Каталог запасных частей к технике: KRONE BiG X V8, BiG X V12. Suction fan
zoom-in
zoom-out
enlarge
shrink
circle-right
circle-left
file-text2
info
cart
Тип техники
Не выбрано
Легковые автомобили
Грузовые автомобили и прицепы
Автобусы
Сельхозтехника
Спецтехника
Двигатели
Мототехника
Марка
Не выбрано
AGCO
Amity
CASE IH
DongFeng
Fortschritt
Foton
Franz Kleine
Gaspardo
Great Plains
KRONE
KUHN
Lemken
Lovol
MacDon
Massey Ferguson
New Holland
TIGARBO
Vaderstad
Versatile
Wirax
Агро
Агротехмаш
Бобруйскагромаш (ОАО «УКХ «Бобруйскагромаш»)
БЭМЗ
ВгТЗ
Воронежсельмаш
ВТЗ
Гомсельмаш
ДКЗ
ЗАО "Техника-сервис"
ЗиД
КЗК
Кировец-Ландтехник
Клевер
Красная Звезда
Лидагропроммаш
Лидсельмаш
ЛТЗ
Машстройхолдинг
Минитракторы
Мордовагромаш
МТЗ
Навигатор-Новое машиностроение
Нефтекамский автозавод
ПТЗ
Ремком
РСМ
Сибсельмаш
ТеКЗ
ТКЗ
ХЗТСШ
ХТЗ
ЮМЗ
Модель
Не выбрано
280CV-Q, 320CV-Q, 280CRI-Q (2013)
280CV-Q, 320CV-Q, 280CRI-Q (2013)
ActiveMow R200 (2018)
ActiveMow R200 (2018)
ActiveMow R200 (2018)
ActiveMow R200 (2018)
ActiveMow R200 (2018)
ActiveMow R200 (2018)
ActiveMow R240 (2018)
ActiveMow R240 (2018)
ActiveMow R240 (2018)
ActiveMow R240 (2018)
ActiveMow R240 (2018)
ActiveMow R240 (2018)
ActiveMow R280 (2018)
ActiveMow R280 (2018)
ActiveMow R280 (2018)
ActiveMow R280 (2018)
ActiveMow R280 (2018)
ActiveMow R280 (2018)
ActiveMow R320 (2018)
ActiveMow R320 (2018)
ActiveMow R320 (2018)
ActiveMow R320 (2018)
ActiveMow R320 (2018)
ActiveMow R320 (2018)
ActiveMow R360 (2018)
ActiveMow R360 (2018)
ActiveMow R360 (2018)
ActiveMow R360 (2018)
ActiveMow R360 (2018)
ActiveMow R360 (2018)
AFL243RS (2013)
AM 203CV, AM 243CV, AM 283CV (2018)
AM 203CV, AM 243CV, AM 283CV (2018)
AM 203CV, AM243CV, AM283CV (2018)
AM 203CV, AM243CV, AM283CV (2018)
AM 243 (2018)
AM 243CV (2018)
AM 243CV (2018)
AM 243CV, AM283CV (2018)
AM 283 (2018)
AM 283CV (2018)
BiG X 500 (2018)
BiG X V8, BiG X V12 (2018)
BIG-M-400 (2016)
BIG-M-420 (2016)
BIG-M-420 (2016)
BIG-M-I (2016)
BIG-M-I (2016)
BIG-M-I (2016)
BIG-M-II (2016)
BIG-M-II (2016)
BIG-M-II (2016)
BIG-M-II (2016)
BIG-M-II (2016)
BIG-M-II (2016)
BIG-M-II (2016)
BIG-X-1000 (2016)
BIG-X-1000 (2016)
BIG-X-1100 (2016)
BIG-X-480 (2016)
BIG-X-480 (2017)
BIG-X-500 (2010)
BIG-X-500 (2010)
BIG-X-500 (2010)
BIG-X-500 (2010)
BIG-X-500 (2010)
BIG-X-530 (2016)
BIG-X-530 (2017)
BIG-X-580 (2016)
BIG-X-580 (2017)
BIG-X-600 (2016)
BIG-X-600 (2016)
BIG-X-600 (2016)
BIG-X-630 (2016)
BIG-X-630 (2017)
BIG-X-650 (2010)
BIG-X-650 (2013)
BIG-X-650 (2013)
BIG-X-650 (2013)
BIG-X-650 (2013)
BIG-X-650 (2013)
BIG-X-650 (2013)
BIG-X-650 (2013)
BIG-X-650 (2013)
BIG-X-700 (2010)
BIG-X-700 (2013)
BIG-X-700 (2013)
BIG-X-700-1 (2013)
BIG-X-700-1 (2013)
BIG-X-700-1 (2016)
BIG-X-700-1 (2016)
BIG-X-700-1 (2016)
BIG-X-800 (2016)
BIG-X-800 (2016)
BIG-X-800/1000 (2013)
BIG-X-850-1 (2018)
BIG-X-850-1/1100-1 (2013)
BIG-X-850-1/1100-1 (2013)
BIG-X-850/1100 (2013)
BIG-X-V8/BIG-X-V12 (2013)
BIG-X-V8/BIG-X-V12 (2013)
BIG-X-V8/BIG-X-V12 (2013)
Easycollect (2018)
EasyCut F360M (2018)
EasyFlow 300, 380 (2012)
EasyFlow 3000, 3800 (2013)
EasyFlow 3000, 3800 (2013)
EasyFlow 3001 (2013)
EasyFlow 3001 (2013)
EasyFlow 3001 (2013)
EasyFlow 3001 (2013)
EasyFlow 3001 (2013)
EasyFlow 3001 (2013)
EasyFlow 3801 (2013)
EasyFlow 3801 (2013)
EasyFlow 3801 (2013)
EasyFlow 3801 (2013)
EasyFlow 3801 (2013)
EC 27/32 (2013)
EC 28/32 (2013)
EC 28/32 (2013)
EC 28/32 (2013)
EC 28/32CV (2013)
EC 28/32CV (2013)
EC 28/32CV (2013)
EC 28/32M (2013)
EC 28/32M (2013)
EC 28/32P (2013)
EC 28/32P (2013)
EC 28/32P (2013)
EC 28M (2013)
EC 32CRI (2013)
EC 32CRI (2013)
EC 32CRI (2013)
EC 32CV (2013)
EC 360/400 (2013)
EC 360/400 (2013)
EC 360/400 (2013)
EC 360/400 (2013)
EC F280 (2018)
EC F280 / F320 (2013)
EC F280 M (2013)
EC F280/320/360 (2013)
EC F320 (2018)
EC F320 M (2013)
EC F320 M (2013)
EC F320CV (2013)
EC F320M/F360M (2013)
EC F360 (2018)
EC R280 (2013)
EC R320 (2013)
EC R360 (2013)
EC R400 (2018)
EC-9000 (2008)
EC270CV/320CV (2013)
EC280/320 (2013)
EC280/320 (2013)
EC280/320 (2013)
EC280CV-Q/320CV-Q (2013)
EC280CV/320CV (2013)
EC280CV/320CV/280CR (2013)
EC280CV/320CV/C280CRI (2013)
EC28CV/32CV/32CV-F (2013)
EC28CV/C32CV/32CV-F (2013)
EC32CV/32CV-F (2013)
EColl.6000,7500,6000FP (2013)
EColl.6000,7500,9000,6000F (2013)
EColl.6000,7500,9000,6000F/FP (2013)
EColl.6000,7500,9000,6000F/FP (2013)
EColl.6000-7500-9000-6000CL/JD (2013)
ECollect 753, 903, 1053 (2013)
ECollect753, 903, 1053 (2013)
ECollect753, 903, 1053 (2013)
ECR280CV/320CV (2012)
KW 8.50-8 (2018)
KWT 7.70-6X7, KWT 8.50-8, KWT 10.50-8X7 (2018)
X-Disc 6200 (2013)
X-Disc 6200 (2013)
Схема
>
Не выбрано
Feeder
Feeder Housing with support foot
Roller gear
Roller gearbox part 2
Lower feed rollers
Lower feed roller bearing
Top feed rollers
Top feed roller bearing
Top roller gearbox
Grain collecting plate / slotted cover
Oscillating levers/Tension spring
Cover- Feeder Housing
Pivoting frame / linkage
Lateral flotation system/Locking mech.
Lateral flotation system
Angle sensor- Pivoting frame
P.T.O shafts
Chopping aggregate -cpl. without blades
Chopping aggregate
Chopping drum bearing
Chopping drum support with locking devic
Angle sensor / securing key
Shear bar adjustment
Lift.mechan. feeder hous./front attachm.
Mounting part sharpening device
Chain carriage- sharpening device
Sharpening
Sharpening device drive
Cover plate- sharpening device
Grass channel
Transfer channel
Discharge accelerator
Discharge accelerator /Roller
Discharge accelerator housinge
Discharge chute rotation drive
Mounting parts discharge chute rotation
Channel union
Discharge chute drive flange
Live ring with obstacle protection
Upper discharge chute with wear plates
Hydraulic components-discharge chute
Discharge flap-end piece
Discharge chute extension 10-row
Discharge chute extension 12-row
Hydraulic components discharge chute
Work light to upper discharge chute
Parking brake
Tyres
Steering axle
Steering axle rocker arm
Steering sensor
Trailer hitch / installation parts frame
Steering columm
Wear parts - driver's seat
Control box
Control switsches
Control box - wiring loom
Multifunction lever / Circuit board
Cab 556000 - 570000
Cab 570001 - 570000
Control panel (roof)
Air conditioning
Cab - glazing
Cab - Sound deadening
Cab - Cab lining, aerial
Cab suspension / Deacon light / Horn
Tensioning device- main drive
Belt guide - main drive
Cracker drive / tensioning device
Sieve drum drive
Lines sieve drum
Spreader drive
Auxiliary gearbox
Suction system drive
Compressor OM502 (V8)
Compressor OM444 (V12)
Air pressure container OM502- OM444
Blow-out gun
Fan drive
Air conditioner drive
Additional generator
Hydraulic tank
Variable disqlacement pump
Suction line - auxiliary line
Cooling line - ground drive part 1
Cooling line - ground drive part 2
Traction drive wheel engine -front
Cam lobe motor
Traction drive wheel engine -rear
Charge pressure line - part 1
Charge pressure line - part 2
Stufenumschaltung vorne Hydr
Hydr.line speed range shifting back
Leak.line ground drive fr.final drive
Leak.line ground drive (oil tank)
Leak.line ground drive raer final drive
HP line hydraulic system
SP variable delivery pump/fix.displ.m.
Suction line hydraulic system
Suction line hydraulic system
Batery mounting (hydraulics)
Diverter vave bloc
Diverter vave bloc
Valve block part I
Valve block part II
Pressure line valve block/hydr.system
Steering lines part 1( rear steer.axle)
Steering line (up to brake valve)
Hydraulic parts parking brake
Brake line tank/valve block
Brake line brake valve/fr.final drive
Lines lift.hydraulics part 1
Lines lift.hydraulics part 2
Lines discharge chute / flap
Lines front attachement
Lines transv.ground following
Lines sharpening device
Lines autopiot-optional
Lines main clutch
Diesel fuel tank
Diesel fuel pipe
Diesel engine / Clutch
Engine support
Cooling system /Radiator frame
Rotor / Air conditioner mounting
Fan
Fan gearbox
Sieve drum
Suction manifold
Mounting parts radiator door
Air cleaning equipment OM 502 (V8)
Air cleaning equipment OM 444 (V12)
Exhaust gas equipment
Silencer OM502 (V8)
Silencer OM502 OM444 (V12)
Turbo air pipes OM502 (V8)
Turbo air pipes OM444 (V12)
Cooling water pipes OM502 (V8)
Cooling water pipes OM444 (V12)
Cooling water compensating system OM502 (V8)
Cooling water compensating system OM 444 (V12)
Hydraulic pumps OM502- OM444
Motor output drive (OM502)
Motor output drive (OM444)
Heater OM502- OM444
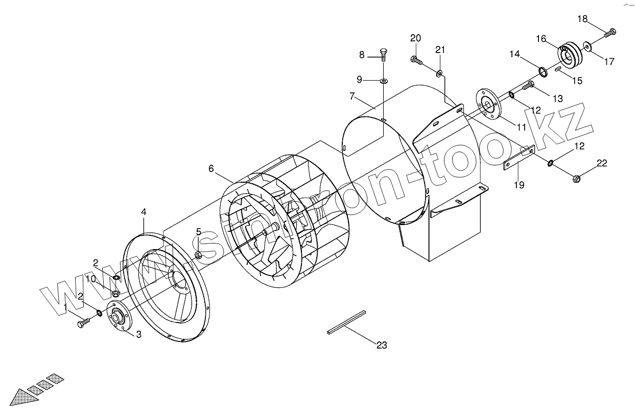
Suction fan
Suction duct
Panelling frame
Panelling top / roof flap
Cab access
Front panel / Headlight
Lateral guard
Rear side panel
Plastic panelling
Plastic panelling engine compartment
Battery box
Fire extinguisher
Joint / Wheel chock
Mudguard
Platform right
Warning panel for excess width
Dividing wall
Ascending ladder
Terminals and connectors
Secondary distributor (SD1, SD2, SD3)
Wir.loom conn. SD1, SD2, SD3,hydr. block
Wiring loom hydraulic pumps
Wiring loom SD1,sensors,senders
Wiring Harness CAN
Wiring loom supply lead SD1, SD2, SD3
Wiring loom conn. chopping drum SD2,SD3
Wiring Harness - chopping aggregate
Wiring loom (hydr.block)
Wiring loom cab
Wiring loom control area (4x6)
Wiring loom cab (4x2 & 4x5)
Wiring loom cab (4x2 & 4x5)
Wiring loom cab (4x3)
Wiring loom cab (4x4)
Wiring loom discharge chute sensors
Several wiring looms
Battery and ground cable (V8)
Battery and ground cable (V12)
Backing-up lights
General information labels
Warning signs
P.T.O shafts -roller drive
P.T.O shafts
P.T.O shafts -roller gear -below
Duct
Cracker housing
Roller back
Roller front
Adjustment mandril w. angle sensor
E-Motor und Spannspille
Roller basin
Pulley for changing directions
Installation car
Rope winch
1
2
2
3
4
5
6
7
8
9
10
11
12
12
13
14
15
16
17
18
19
20
21
22
23
Позиция на иллюстрации
Заводской номер детали
Название детали
1
00 900 616 0
Hex head bolt
2
00 909 908 1
Detent edged washer
3
00 934 026 0
Flange bearing
4
00 216 203 0
Cover
5
00 908 210 0
Hex nut
6
00 216 202 0
Rotor
7
00 216 201 0
Housing
8
00 900 612 0
Hex head bolt
9
00 910 413 0
Washer
10
00 908 706 0
Locknut
11
00 934 027 0
Flange bearing
12
00 909 909 1
Detent edged washer
13
00 900 636 0
Hex head bolt
14
00 216 204 0
Spacer ring
15
00 915 064 0
Fit-in key
16
00 216 205 0
V-belt pulley
17
00 216 206 0
End plate
18
00 900 657 0
Hex head bolt
19
00 216 207 0
Enclosure
20
00 900 637 0
Hex head bolt
21
00 910 361 0
Washer
22
00 908 758 0
Locknut
23
00 938 694 1
Rubber profile -Id.-no.= 1m
Содержащиеся в справочниках-каталогах запасные части и детали не предлагаются к продаже, а носят исключительно информационный характер
Дополнительная информация
×
Название:
Номер:
Примечание: