Каталог запасных частей к технике: KRONE BiG X V8, BiG X V12. Cab - glazing
00 220 601 0
00 220 601 0
1
2
3
4
5
6
7
8
8
8
9
9
9
10
11
12
13
14
15
15
16
17
18
19
20
21
22
23
24
25
26
27
28
29
29
30
30
31
32
33
34
35
36
37
37
38
39
40
41
42
42
42
42
43
43
44
44
44
45
46
47
47
48
49
50
51
52
53
54
55
56
57
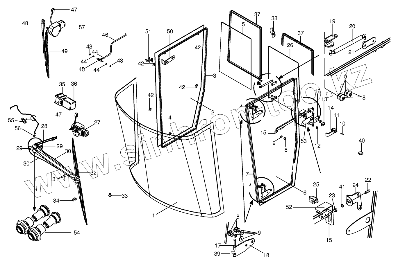
| Позиция на иллюстрации | Заводской номер детали | Название детали | |
|---|---|---|---|
| 00 220 601 0 | 00 220 601 0 | Cover | |
| 00 220 601 0 | 00 220 601 0 | Cover | |
| 1 | 00 220 369 0 | Windshield | |
| 2 | 00 220 389 0 | Side window | |
| 3 | 00 220 372 0 | Gasket | |
| 4 | 00 220 391 0 | Support | |
| 5 | 00 220 475 0 | Rear panel -right | |
| 6 | 00 220 373 0 | Door window | |
| 7 | 00 220 372 0 | Gasket | |
| 8 | 00 220 480 0 | Outside washer | |
| 9 | 00 220 479 0 | Intermediate washer | |
| 10 | 00 220 464 0 | Key | |
| 11 | 00 220 376 0 | Handle | |
| 12 | 00 220 481 0 | Mat | |
| 13 | 00 220 482 0 | Mat | |
| 14 | 00 220 484 0 | Key for pressure switch | |
| 15 | 00 220 379 0 | Handle -inside | |
| 16 | 00 220 377 0 | Pivot plate -right | |
| 17 | 00 220 382 0 | Sprig | |
| 18 | 00 220 374 0 | Hinge | |
| 19 | 00 220 388 0 | Support | |
| 20 | 00 220 387 0 | Gas spring | |
| 21 | 00 220 381 0 | Support | |
| 22 | 00 220 383 0 | Cotter bolt | |
| 23 | 00 220 487 0 | Hex nut | |
| 24 | 00 220 385 0 | Locking plug retainer | |
| 25 | 00 220 486 0 | Yoke | |
| 26 | 00 220 474 0 | Rear panel -left | |
| 27 | 00 220 600 0 | Wiper motor -left/right | |
| 28 | 00 220 411 0 | Wiper linkage | |
| 29 | 00 220 503 0 | Angle lug | |
| 30 | 00 220 504 0 | Hose | |
| 31 | 00 220 412 0 | Parallel wiper arm | |
| 32 | 00 220 413 0 | Wiper Blade | |
| 33 | 00 220 502 0 | Spray nozzle -4 times | |
| 34 | 00 220 501 0 | Clamp | |
| 35 | 00 220 516 0 | Attachable sleeve housing | |
| 36 | 00 220 515 0 | Wi/Wa interval control unit | |
| 37 | 00 220 476 0 | Gasket | |
| 38 | 00 220 477 0 | Panel strap | |
| 39 | 00 220 478 0 | Brass ring | |
| 40 | 00 220 562 0 | Sealing plug | |
| 41 | 00 220 485 0 | Washer | |
| 42 | 00 220 563 0 | Support | |
| 43 | 00 220 614 0 | Cable socket | |
| 44 | 00 220 615 0 | Hose clamp | |
| 45 | 00 220 613 0 | T-piece | |
| 46 | 00 220 612 0 | Hose -Id.-no.= 1m | |
| 47 | 00 220 602 0 | Bent location pin | |
| 48 | 00 220 603 0 | Wiper arm | |
| 49 | 00 220 604 0 | Wiper-blade | |
| 50 | 00 220 638 0 | Feeler door stop -front | |
| 51 | 00 220 639 0 | Door contact switch | |
| 52 | 00 220 635 0 | Lock cladding | |
| 53 | 00 220 637 0 | Mat | |
| 54 | 00 220 567 0 | Spacer bushing | |
| 55 | 00 220 649 0 | Non-return valve | |
| 56 | 00 220 648 0 | Protective cap | |
| 57 | 00 220 600 0 | Wiper motor -left/right |
Содержащиеся в справочниках-каталогах запасные части и детали не предлагаются к продаже, а носят исключительно информационный характер