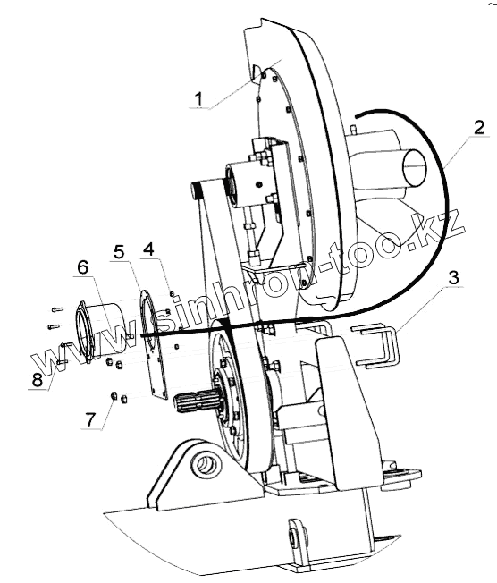
Каталог запасных частей к технике: Красная Звезда Вега-6 (8). Подключение тягометра
1
2
3
4
4
5
6
6
7
8
8
| Позиция на иллюстрации | Заводской номер детали | Название детали | |
|---|---|---|---|
| 1 | 509.046.6150А | Вентилятор | |
| 2 | СУПА02.004-01 | Трубка | |
| 3 | Скоба2М8х70х55/203.56Ц9хр | Скоба 2М8х70х55/203.56Ц9хр | |
| 4 | ГайкаISO7042-М4-8 | Гайка М4-8 | |
| 4 | ГайкаISO7042-М5-8 | Гайка М5-8 | |
| 5 | СУС00.4024 | Кронштейн | |
| 6 | ТмМП-100М1-У3 | Тягометр мембранный показывающий | |
| 6 | KPCh100-1 | Манометр | |
| 7 | ГайкаISO7042-М8-8 | Гайка | |
| 8 | ВинтВМ4-6gх10.58.019 | Винт ВМ4-6gх10.58.019 | |
| 8 | ВинтВМ5-6gх10.58.019 | Винт ВМ5-6gх10.58.019 |
Содержащиеся в справочниках-каталогах запасные части и детали не предлагаются к продаже, а носят исключительно информационный характер