Каталог запасных частей к технике: Красная Звезда УПС-12. Маркер (центральная часть)
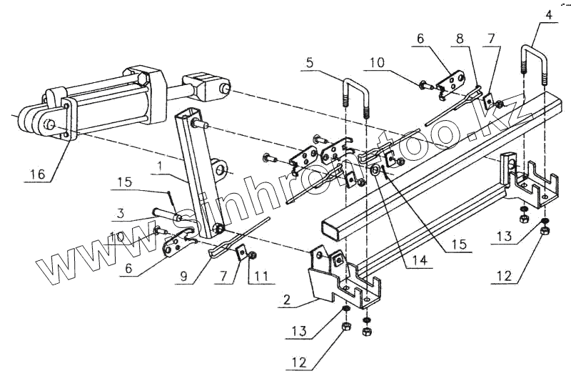
1
2
3
4
5
6
6
7
7
8
9
10
10
11
12
12
13
13
14
15
15
16
| Позиция на иллюстрации | Заводской номер детали | Название детали | |
|---|---|---|---|
| 1 | 509.046.1800 | Рычаг | |
| 2 | 509.046.2350 | Кронштейн | |
| 3 | С 4.605.-07 | Штырь | |
| 4 | 509046.6073-02 | Скоба | |
| 5 | 509.046.6073-03 | Скоба | |
| 6 | ССГ 00.533-01 | Планка | |
| 7 | ТРБ519 | Прижим | |
| 8 | 509.046.6075 | Канат | |
| 9 | 509.046.6075-01 | Канат | |
| 10 | Болт М10х35.58.019 ГОСТ 7802-81 | Болт М10х35.58.019 ГОСТ 7802-81 | |
| 11 | Гайка М10-6Н.6.019 ГОСТ 5915-70 | Гайка М10-6Н.6.019 ГОСТ 5915-70 | |
| 12 | Гайка М12-6Н.6.019 ГОСТ 5915-70 | Гайка М12-6Н.6.019 ГОСТ 5915-70 | |
| 13 | Шайба 12 65Г 019 ГОСТ 6402-70 | Шайба 12 65Г 019 ГОСТ 6402-70 | |
| 14 | Шайба С16х2.01.10.019 ГОСТ 11371-78 | Шайба С16х2.01.10.019 ГОСТ 11371-78 | |
| 15 | Шплинты 5х28.019 ГОСТ 397-79 | Шплинты 5х28.019 ГОСТ 397-79 | |
| 16 | Гидроцилиндр Ц-75 ОСТ 23.1.97-88 | Гидроцилиндр Ц-75 ОСТ 23.1.97-88 |
Содержащиеся в справочниках-каталогах запасные части и детали не предлагаются к продаже, а носят исключительно информационный характер