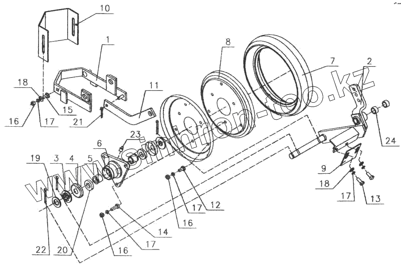
Каталог запасных частей к технике: Красная Звезда УПС-12. Каток передний 509.046.1380
1
2
3
4
5
6
7
8
9
10
11
12
13
14
15
16
16
16
17
17
17
17
18
18
19
20
21
22
23
24
| Позиция на иллюстрации | Заводской номер детали | Название детали | |
|---|---|---|---|
| 1 | 509.046.2890 | Поводок | |
| 2 | 509.046.2920 | Поводок | |
| 3 | Н-041.09.201 | Шайба | |
| 4 | Н-041.09.405 | Колпачок | |
| 5 | Н-041.09.001 | Втулка | |
| 6 | Н-041.09.002 | Ступица | |
| 7 | Н-041.09.003 | Обод | |
| 8 | Н-041.09.401 | Диск | |
| 9 | 509.046.493 | Чистик | |
| 10 | 509.046.4011 | Комкоотвод | |
| 11 | 509.046.565А | Поводок | |
| 12 | Болты М8-6qх16.58.019 ГОСТ 7796-70 | Болты М8-6qх16.58.019 ГОСТ 7796-70 | |
| 13 | Болты М8-6qх20.58.019 ГОСТ 7796-70 | Болты М8-6qх20.58.019 ГОСТ 7796-70 | |
| 14 | Болты М8-6qх25.58.019 ГОСТ 7796-70 | Болты М8-6qх25.58.019 ГОСТ 7796-70 | |
| 15 | Болт М8qх25.58 019 ГОСТ 7802-81 | Болт М8qх25.58 019 ГОСТ 7802-81 | |
| 16 | Гайка М8-6Н.6.019 ГОСТ 5915-70 | Гайка М8-6Н.6.019 ГОСТ 5915-70 | |
| 17 | Шайба 8 65Г 019 ГОСТ 6402-70 | Шайба 8 65Г 019 ГОСТ 6402-70 | |
| 18 | Шайбы С8 01.10.019 ГОСТ 11371-70 | Шайбы С8 01.10.019 ГОСТ 11371-70 | |
| 19 | Шайбы С18 01.10.019 ГОСТ 11371-70 | Шайбы С18 01.10.019 ГОСТ 11371-70 | |
| 20 | Манжета 1.2-18х35-1 ГОСТ 8752-79/ ОСТ 38.05146-78 | Манжета 1.2-18х35-1 ГОСТ 8752-79/ ОСТ 38.05146-78 | |
| 21 | Шплинт 4х20.019 ГОСТ 397-79 | Шплинт 4х20.019 ГОСТ 397-79 | |
| 22 | Шплинт 5х28.019 ГОСТ 397-79 | Шплинт 5х28.019 ГОСТ 397-79 | |
| 23 | Масленка 1.2 Ц6хр ГОСТ19853-74 | Масленка 1.2 Ц6хр ГОСТ19853-74 | |
| 24 | Н126.04.011 | Втулка |
Содержащиеся в справочниках-каталогах запасные части и детали не предлагаются к продаже, а носят исключительно информационный характер