Каталог запасных частей к технике: Красная Звезда УПС-12. Аппарат высевающий 509.046.1390
1
2
3
4
4
5
7
8
9
10
11
12
13
14
14
15
17
17
18
18
19
19
20
20
20
21
22
23
23
24
25
26
27
28
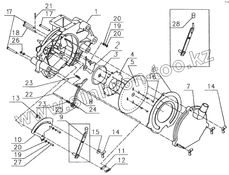
| Позиция на иллюстрации | Заводской номер детали | Название детали | |
|---|---|---|---|
| 1 | 509.046.3010 | Корпус | |
| 2 | 509.046.4215 | Заслонка | |
| 3 | 509.046.4192 | Фланец | |
| 4 | 509.046.4191 | Ворошилка | |
| 4 | 509.046.031 | Прокладка | |
| 5 | 509.046.4005 | Диск n = 40, 0 2.2 | |
| 7 | 509.046.032 | Крышка | |
| 8 | 509.046.1350 | Сбрасыватель | |
| 9 | 509.046.1310 | Ручка | |
| 10 | 509.046.4001 | Циферблат | |
| 11 | 509.046.494 | Планка | |
| 12 | 509.046.687 | Пружина | |
| 13 | Болт М8х20.58.019 ГОСТ 7802-81 | Болт М8х20.58.019 ГОСТ 7802-81 | |
| 14 | Гайка М8-6Н.КЧ.33-8-Ф ГОСТ 3032-76 | Гайка М8-6Н.КЧ.33-8-Ф ГОСТ 3032-76 | |
| 15 | Шайба С8.01 .10.019 ГОСТ 6958-78 | Шайба С8.01 .10.019 ГОСТ 6958-78 | |
| 17 | 509.046.681 | Винт | |
| 18 | 509.046.2960 | Болт | |
| 18 | Винт ВМ4-6gх12.58.019 ГОСТ 17473-80 | Винт ВМ4-6gх12.58.019 ГОСТ 17473-80 | |
| 19 | Шайба 6 65Г 019 ГОСТ 6402-70 | Шайба 6 65Г 019 ГОСТ 6402-70 | |
| 20 | Шайба С6 01.10.019 ГОСТ 11371-78 | Шайба С6 01.10.019 ГОСТ 11371-78 | |
| 21 | Шплинт 3,2х14.019 ГОСТ 397-79 | Шплинт 3,2х14.019 ГОСТ 397-79 | |
| 22 | 509.046.676 | Штырь | |
| 23 | 509.046.684 | Пружина | |
| 24 | Винт ВМ3-6gх6.58.019 ГОСТ 17473-80 | Винт ВМ3-6gх6.58.019 ГОСТ 17473-80 | |
| 25 | Шайба С3,5.01.10 019 ГОСТ 6958-78 | Шайба С3,5.01.10 019 ГОСТ 6958-78 | |
| 26 | Гайка М6-6Н.8.019 ГОСТ 5915-70 | Гайка М6-6Н.8.019 ГОСТ 5915-70 | |
| 27 | Винт ВМ6-6qх16.58 019 ГОСТ 17473-80 | Винт ВМ6-6qх16.58 019 ГОСТ 17473-80 | |
| 28 | СУПК 00.014 | Наконечник |
Содержащиеся в справочниках-каталогах запасные части и детали не предлагаются к продаже, а носят исключительно информационный характер