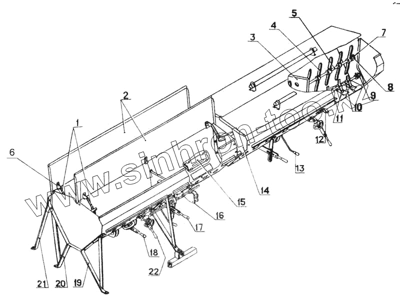
Каталог запасных частей к технике: Красная Звезда СЗТ-3,6А. Ящик зернотуковый СЕТ 00.1150-01
1
2
3
4
5
6
7
8
9
10
11
12
13
14
15
16
17
18
19
20
21
22
| Позиция на иллюстрации | Заводской номер детали | Название детали | |
|---|---|---|---|
| 1 | 552.6.023 | Пружина | |
| 2 | СЗГ.00.160 | Крыша | |
| 3 | СЗГ 00.4009 | Свзь | |
| 4 | СЕТ-00.208 | Ворошитель | |
| 5 | СЕТ-00.615 | Вал ворошителей правый | |
| 6 | СГЖ-8-5-А | Защелка | |
| 7 | ВМ10-6gх20.33Н019 ГОСТ 1485-84 | Винт | |
| 8 | С12.102 | Кольцо | |
| 9 | СЕТ-00.150 | Букса | |
| 10 | СЕТ-00.612 | Вал нагнетателей правый | |
| 11 | СТА-210В | Нагнетатель | |
| 12 | СУК 00.670 | Кронштейн | |
| 13 | СЗГ.00.2440 | Ручка (478318273710) | |
| 14 | СЕТ 00.940 | Бок | |
| 15 | СУК.00.431-А | Заслонка | |
| 16 | СЗГ.00.750-01 | Корпус (478318270903) | |
| 17 | СЗГ.00.1440 | Рычаг | |
| 18 | СЗХ.00.680 | Рычаг (478345022303) | |
| 19 | СЗГ.00.950-01 | Ножка (478318274510) | |
| 20 | СЗГ.00.930 | Ножка | |
| 21 | СЗГ.00.705 | Подставка | |
| 22 | СЗГ.00.1590 | Рычаг |
Содержащиеся в справочниках-каталогах запасные части и детали не предлагаются к продаже, а носят исключительно информационный характер