Вернуться на главную
Поиск
Каталоги запчастей к технике
Сельхозтехника
Красная Звезда
СЗТ-3,6А
Пробоотборник травяной
Каталог запасных частей к технике: Красная Звезда СЗТ-3,6А. Пробоотборник травяной
zoom-in
zoom-out
enlarge
shrink
circle-right
circle-left
file-text2
info
cart
Тип техники
Не выбрано
Легковые автомобили
Грузовые автомобили и прицепы
Автобусы
Сельхозтехника
Спецтехника
Двигатели
Мототехника
Марка
Не выбрано
AGCO
Amity
CASE IH
DongFeng
Fortschritt
Foton
Franz Kleine
Gaspardo
Great Plains
KRONE
KUHN
Lemken
Lovol
MacDon
Massey Ferguson
New Holland
TIGARBO
Vaderstad
Versatile
Wirax
Агро
Агротехмаш
Бобруйскагромаш (ОАО «УКХ «Бобруйскагромаш»)
БЭМЗ
ВгТЗ
Воронежсельмаш
ВТЗ
Гомсельмаш
ДКЗ
ЗАО "Техника-сервис"
ЗиД
КЗК
Кировец-Ландтехник
Клевер
Красная Звезда
Лидагропроммаш
Лидсельмаш
ЛТЗ
Машстройхолдинг
Минитракторы
Мордовагромаш
МТЗ
Навигатор-Новое машиностроение
Нефтекамский автозавод
ПТЗ
Ремком
РСМ
Сибсельмаш
ТеКЗ
ТКЗ
ХЗТСШ
ХТЗ
ЮМЗ
Модель
Не выбрано
Вега-6 (8) (2012)
Веста-12 (2012)
КПСН-4, КПСП-4
КРНВ-4.2-02 (04) (до 2012)
КРНВ-4.2-02 (04) (с 2012)
КРНВ-5,6-02 (04) (до 2012)
КРНВ-5,6-02 (04) (с 2012)
КРНВ-5.6-02 (2008)
ПС-0,5
СЗ-3,6А
СЗ-5,4
СЗ-5,4 "Астра" (2010)
СЗТ-3,6А
СЗТ-3,6А "Астра" (2010)
СОН-4,2 (2005)
СПС-4,2А (2005)
ССТ-12В
СТС-2 (6)
СУПН-12А
СУПН-8
СУПН-8А
УПС-12
УПС-6 (Веста-6) (2012)
УПС-8 (Веста-8) (2012)
Схема
>
Не выбрано
Колесо опорно-приводное СЗГ 00.1520-01
Рама сеялки с установкой валов подъема сошников, механизма передач на вал контрпривода
Прицепное устройство
Прицепное устройство
Унифицированная система контроля технологических параметров посевных машин
Схема расположения и монтажа УСК на сеялке
Пульт 152.390.061
Датчик высева 155.183.025
Датчик уровня 155.183.020-01
Пробоотборник травяной
Сошник Н 105.03.000
Сошник 108.00.2580
Установка наральниковых сошников
Подножка СЕТ 00.800-02
Аппарат высевающий травяной
Сборка механизма передачи ящика зернотукового
Сеялка зернотуковая СЗТ-3.6А
Общее устройство сеялки
Звездочки среднего вала контрпривода
Механизм навески сошников
Ящик зернотуковый СЕТ 00.1150-01
Ящик зернотуковый СЕТ 00.1150-01
Зерновой и туковый высевающие аппараты
Пробоотборник зерновой
Механизм передачи ящика зернотукового
Механизм передачи на валы зерновых аппаратов
Редуктор СЗГ 00.070
Крепление щитков редуктора СЗГ 00.070
Установка травяных ящиков на заднем брусе рамы
Ящик левый СЕТ 00.160
Механизм передачи левого травяного ящика
Соединение травяных ящиков
Механизм передачи на травяные ящики
Редуктор травяной СЕТ 00.480
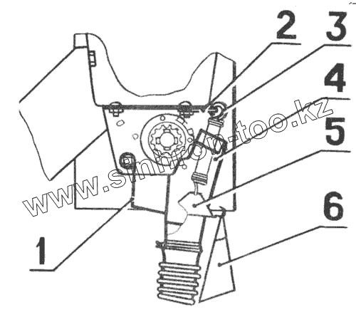
1
2
3
4
5
6
Позиция на иллюстрации
Заводской номер детали
Название детали
1
СЕТ 00.496
Петля
2
С 21.401
Планка
3
Н 040.07.618
Пружина
4
Н-127.14.030
Воронка
5
СЕТ 00.1060
Пробоотборник
6
СЕТ 00.495
Лоток
Содержащиеся в справочниках-каталогах запасные части и детали не предлагаются к продаже, а носят исключительно информационный характер
Дополнительная информация
×
Название:
Номер:
Примечание: