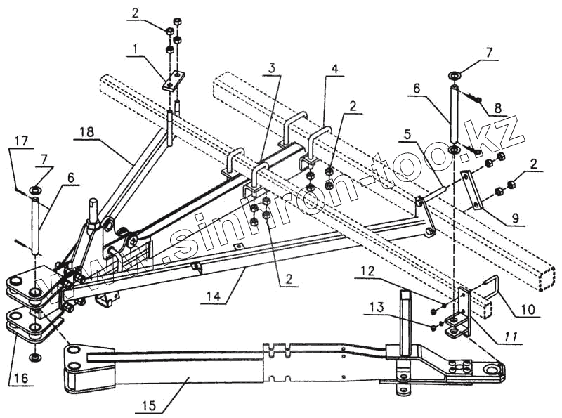
Каталог запасных частей к технике: Красная Звезда СЗ-5,4. Прицепное устройство в транспортном положении
1
2
2
2
2
3
4
5
6
6
7
7
8
9
10
11
12
13
14
15
16
17
18
| Позиция на иллюстрации | Заводской номер детали | Название детали | |
|---|---|---|---|
| 1 | С21.505 | Планка | |
| 2 | Гайка М16-6Н.6.019 ГОСТ 5915-70 | Гайка М16-6Н.6.019 ГОСТ 5915-70 | |
| 3 | Скоба 2М16х64х105/35.56.Ц9хр ОСТ 23.2.10-81 | Скоба 2М16х64х105/35.56.Ц9хр ОСТ 23.2.10-81 | |
| 4 | Скоба 2М16х98х125/35.56.Ц9хр ОСТ 23.2.10-81 | Скоба 2М16х98х125/35.56.Ц9хр ОСТ 23.2.10-81 | |
| 5 | Болт М16-6gх130.66.019 ГОСТ 7796-70 | Болт М16-6gх130.66.019 ГОСТ 7796-70 | |
| 6 | ОЗШ 00.655 | Штырь | |
| 7 | Шайба 24.01.10.019 ГОСТ 11371-78 | Шайба 24.01.10.019 ГОСТ 11371-78 | |
| 8 | С54.602-01 | Шплинт пружинный (477310267808) | |
| 9 | С21.505-03 | Планка | |
| 10 | Скоба 2М10х73х60/25.56.Ц9хр ОСТ 23.2.10-81 | Скоба 2М10х73х60/25.56.Ц9хр ОСТ 23.2.10-81 | |
| 11 | ОЗШ 00.970 | Фиксатор | |
| 12 | Шайба 10.65Г.019 ГОСТ 6402-70 | Шайба 10.65Г.019 ГОСТ 6402-70 | |
| 13 | Гайка М10-6Н.6019 ГОСТ 5915-70 | Гайка М10-6Н.6019 ГОСТ 5915-70 | |
| 14 | ОЗШ 00.950 | Сница | |
| 15 | ОЗШ 00.930 | Сница | |
| 16 | ОЗШ 00.940 | Сница | |
| 17 | Шплинт 5х36.019 ГОСТ 397-79 | Шплинт 5х36.019 ГОСТ 397-79 | |
| 18 | ОЗШ 00.550 | Сница |
Содержащиеся в справочниках-каталогах запасные части и детали не предлагаются к продаже, а носят исключительно информационный характер