Каталог запасных частей к технике: Красная Звезда СЗ-3,6А. Пульт 152.390.061
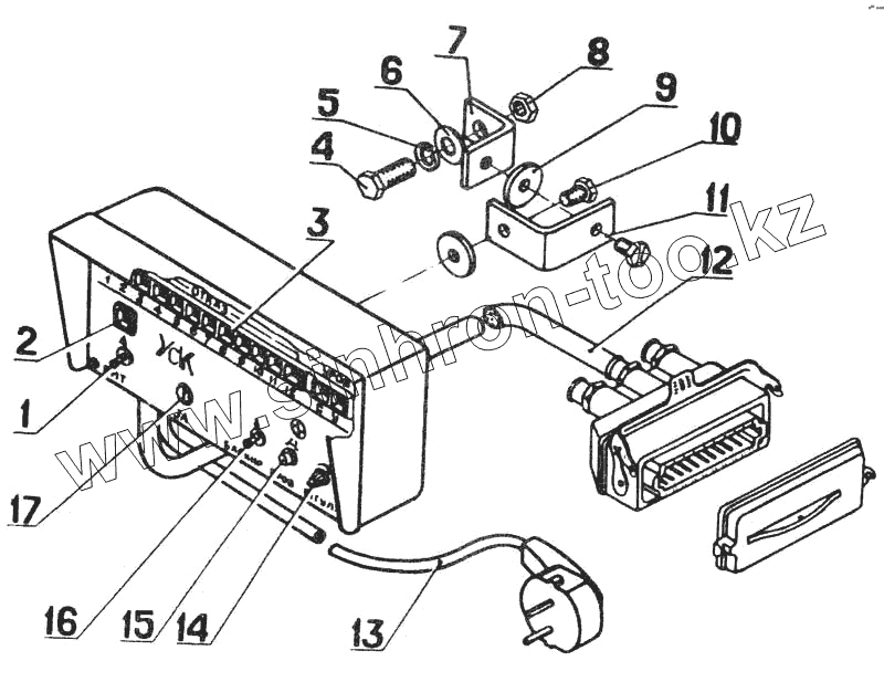
1
2
3
4
5
6
7
8
9
10
11
12
13
14
15
16
17
| Позиция на иллюстрации | Заводской номер детали | Название детали | |
|---|---|---|---|
| 1 | Микротумблер ПИТ включения питания | Микротумблер ПИТ включения питания | |
| 2 | Световой индикатор включения питания | Световой индикатор включения питания | |
| 3 | Световые индикаторы «1...12» | Световые индикаторы «1...12» | |
| 4 | М8-6gх20.58.019 ГОСТ 7796-70 | Болт | |
| 5 | 8 65Г 019 ГОСТ 6402-70 | Шайба | |
| 6 | 8х1,4.01.10.019 ГОСТ 11371-78 | Шайба | |
| 7 | 158.111.019 | Уголок | |
| 8 | М8-6Н.6.019 ГОСТ 5915-70 | Гайка | |
| 9 | 158.947.131 | Шайба резиновая | |
| 10 | 158.920.400 | Болт | |
| 11 | 158.111.018 | Уголок | |
| 12 | Кабель с розеткой РШАГ-20 | Кабель с розеткой РШАГ-20 | |
| 13 | Кабель питания с вилкой для подключения к электрической сети трактора | Кабель питания с вилкой для подключения к электрической сети трактора | |
| 14 | Регулятор времени задержки включения сигнализации «Регул» | Регулятор времени задержки включения сигнализации «Регул» | |
| 15 | Кнопка «ПРОБ» включения режима «Проверка» | Кнопка «ПРОБ» включения режима «Проверка» | |
| 16 | Микротумблер «Блокир» включения режима блокировки | Микротумблер «Блокир» включения режима блокировки | |
| 17 | Держатель предохранителя на 3А | Держатель предохранителя на 3А |
Содержащиеся в справочниках-каталогах запасные части и детали не предлагаются к продаже, а носят исключительно информационный характер