Вернуться на главную
Поиск
Каталоги запчастей к технике
Сельхозтехника
Красная Звезда
СЗ-3,6А
Крепление прицепного устройства к раме сеялки
Каталог запасных частей к технике: Красная Звезда СЗ-3,6А. Крепление прицепного устройства к раме сеялки
zoom-in
zoom-out
enlarge
shrink
circle-right
circle-left
file-text2
info
cart
Тип техники
Не выбрано
Легковые автомобили
Грузовые автомобили и прицепы
Автобусы
Сельхозтехника
Спецтехника
Двигатели
Мототехника
Марка
Не выбрано
AGCO
Amity
CASE IH
DongFeng
Fortschritt
Foton
Franz Kleine
Gaspardo
Great Plains
KRONE
KUHN
Lemken
Lovol
MacDon
Massey Ferguson
New Holland
TIGARBO
Vaderstad
Versatile
Wirax
Агро
Агротехмаш
Бобруйскагромаш (ОАО «УКХ «Бобруйскагромаш»)
БЭМЗ
ВгТЗ
Воронежсельмаш
ВТЗ
Гомсельмаш
ДКЗ
ЗАО "Техника-сервис"
ЗиД
КЗК
Кировец-Ландтехник
Клевер
Красная Звезда
Лидагропроммаш
Лидсельмаш
ЛТЗ
Машстройхолдинг
Минитракторы
Мордовагромаш
МТЗ
Навигатор-Новое машиностроение
Нефтекамский автозавод
ПТЗ
Ремком
РСМ
Сибсельмаш
ТеКЗ
ТКЗ
ХЗТСШ
ХТЗ
ЮМЗ
Модель
Не выбрано
Вега-6 (8) (2012)
Веста-12 (2012)
КПСН-4, КПСП-4
КРНВ-4.2-02 (04) (до 2012)
КРНВ-4.2-02 (04) (с 2012)
КРНВ-5,6-02 (04) (до 2012)
КРНВ-5,6-02 (04) (с 2012)
КРНВ-5.6-02 (2008)
ПС-0,5
СЗ-3,6А
СЗ-5,4
СЗ-5,4 "Астра" (2010)
СЗТ-3,6А
СЗТ-3,6А "Астра" (2010)
СОН-4,2 (2005)
СПС-4,2А (2005)
ССТ-12В
СТС-2 (6)
СУПН-12А
СУПН-8
СУПН-8А
УПС-12
УПС-6 (Веста-6) (2012)
УПС-8 (Веста-8) (2012)
Схема
>
Не выбрано
Рама сеялки с установкой валов подъема сошников и механизма передачи на вал контрпривода
Крепление прицепного устройства к раме сеялки
Прицепное устройство
Колесо опорно-приводное
Унифицированная система контроля 151.111.040-15
Схема монтажа УСК на сеялке
Датчик высева 155.183.025
Датчик уровня 155.183.020
Пульт 152.390.061
Сошник СЗЛ 00.230
Сошник СЗА 00.160
Сошник СЗА 00.170
Сошник двухдисковый двухстрочный Н 105.04.000
Подножка СЕТ 00.800-01
Цепной загортач СЗГ 05.000
Сошник СЗЛ 00.210
Устройство для перекрытия зерновых аппаратов
Сеялка зернотуковая рядовая СЗ-3,6А
Общее устройство сеялки СЗ-3,6А
Общее устройство сеялки СЗ-3,6А-01
Общее устройство сеялки СЗ-3,6А-02
Общее устройство сеялки СЗ-3,6А-03
Общее устройство сеялки СЗ-3,6А-04
Ящик зернотуковый СЗГ 00.2450-01
Установка щитков туковысевающих аппаратов
Зерновой и туковый высевающие аппараты
Пробоотборник зернотукового ящика
Механизм привода зерновых и туковысевающих аппаратов
Механизм передач 108.00.2020А-02
Механизм передач 108.00.202А-03
Механизм навески сошников
Загортач СЗГ 00.2220
Сошник Н 105.03.000
Сошник 108.00.2580
Сошник однодисковый СОЛ 00.070
Сошник однодисковый СОЛ 00.080
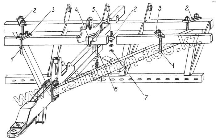
1
1
2
2
2
3
3
4
5
6
7
Позиция на иллюстрации
Заводской номер детали
Название детали
1
47 9191 2815
Скоба ОСТ 23.2.10-81
2
С21.505-02
Планка
3
С21.505
Планка
4
47 9191 2271
Скоба ОСТ 23.2.10-81
5
47 9191 2322
Скоба ОСТ 23.2.10-81
6
С21.505-01
Планка
7
М16-6Н.6.019 ГОСТ 5915-70
Гайка
Содержащиеся в справочниках-каталогах запасные части и детали не предлагаются к продаже, а носят исключительно информационный характер
Дополнительная информация
×
Название:
Номер:
Примечание: