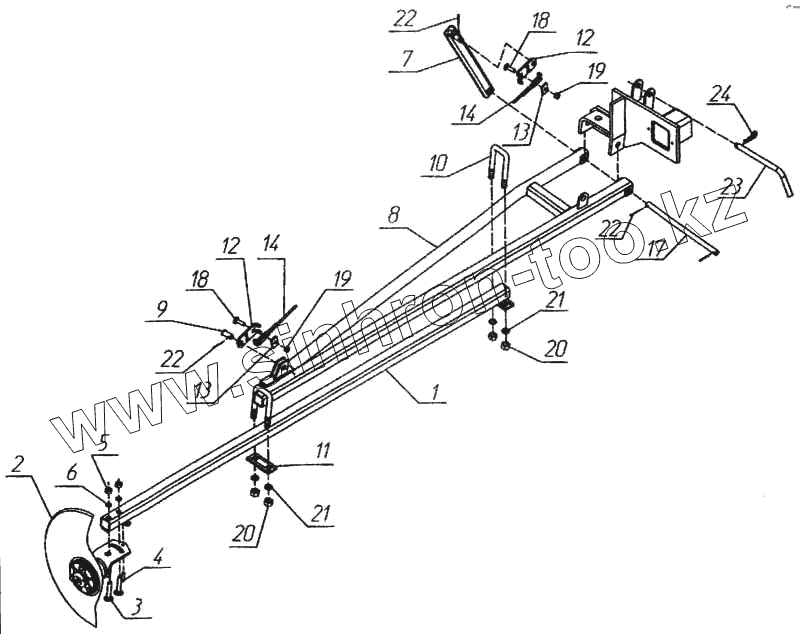
Каталог запасных частей к технике: Красная Звезда СУПН-8А. Маркер (левый)
1
2
3
4
5
6
7
8
9
10
11
12
12
13
13
14
14
17
18
18
19
19
20
20
21
21
22
22
22
23
24
| Позиция на иллюстрации | Заводской номер детали | Название детали | |
|---|---|---|---|
| 1 | СУПА 00.2060-01 | Труба | |
| 2 | СШЕ 04.120 | Диск | |
| 3 | Болт М12Х70.58 019 ГОСТ 7802-81 | Болт М12Х70.58 019 ГОСТ 7802-81 | |
| 4 | Винт В.М8-6gх30.33Н7019 ГОСТ 1483-84 | Винт В.М8-6gх30.33Н7019 ГОСТ 1483-84 | |
| 5 | Гайка М12-6Н.6.019 ГОСТ 6915-70 | Гайка М12-6Н.6.019 ГОСТ 6915-70 | |
| 6 | Шайба 12 65Г 019 ГОСТ 6402-70 | Шайба 12 65Г 019 ГОСТ 6402-70 | |
| 7 | 5090461810 | Рычаг | |
| 8 | 509.046.1830 | Штанга | |
| 9 | С 4.605-06 | Штырь | |
| 10 | Скоба 2М16х61х115/35.56.Ц9хр ОСТ 23.2.10-81 | Скоба 2М16х61х115/35.56.Ц9хр ОСТ 23.2.10-81 | |
| 11 | С 84.701-08 | Планка | |
| 12 | ССГ 00.533-01 | Планка | |
| 13 | ТРБ 519 | Прижим | |
| 14 | ЗНС 65.601-43 | Канат | |
| 16 | ССГ 00.802 | Втулка | |
| 17 | 509.046.6012 | Ось | |
| 18 | Болт М10х35.58.019 ГОСТ 7802-81 | Болт М10х35.58.019 ГОСТ 7802-81 | |
| 19 | Гайка М10-6Н.6.019 ГОСТ 5915-70 | Гайка М10-6Н.6.019 ГОСТ 5915-70 | |
| 20 | Гайка М16-6Н.6.019 ГОСТ 5915-70 | Гайка М16-6Н.6.019 ГОСТ 5915-70 | |
| 21 | Шайба 16 65Г 019 ГОСТ 6402-79 | Шайба 16 65Г 019 ГОСТ 6402-79 | |
| 22 | Шплинт 5х28.019 ГОСТ 397-79 | Шплинт 5х28.019 ГОСТ 397-79 | |
| 23 | СМЕ 20.602-06 | Штырь | |
| 24 | С54.602-01 | Шплинт пружинный (477310267808) |
Содержащиеся в справочниках-каталогах запасные части и детали не предлагаются к продаже, а носят исключительно информационный характер