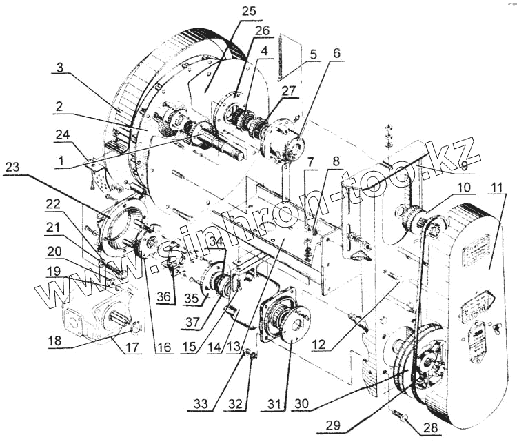
Каталог запасных частей к технике: Красная Звезда СУПН-8. Вентилятор СУПА 00.040
1
2
3
4
5
6
7
8
9
10
11
12
13
14
15
16
17
18
19
20
21
22
23
24
25
26
27
28
29
30
31
32
33
34
35
36
37
| Позиция на иллюстрации | Заводской номер детали | Название детали | |
|---|---|---|---|
| 1 | СУПА.00.604 | Вал | |
| 2 | СУПА.00.110 | Ротор | |
| 3 | СУПА.00.1490 | Кожух | |
| 4 | Подшипник 36206 ГОСТ 831 | Подшипник 36206 ГОСТ 831 | |
| 5 | СУПА.00.672 | Шпилька | |
| 6 | СУПА.00.214 | Корпус | |
| 7 | Гайка М12-6Н.6.019 ГОСТ 5915 | Гайка М12-6Н.6.019 ГОСТ 5915 | |
| 8 | Шайба 12.65Г.019 ГОСТ 6402 | Шайба 12.65Г.019 ГОСТ 6402 | |
| 9 | СУПА.00.770 | Кронштейн | |
| 10 | СУПА.00.203 | Шкив | |
| 11 | СУПА.00.1220 | Щиток | |
| 12 | Болт М12-6gх30.66.019 ГОСТ 7796 | Болт М12-6gх30.66.019 ГОСТ 7796 | |
| 13 | СУПА.00.830 | Кронштейн | |
| 14 | СУПА.00.213 | Кронштейн | |
| 15 | Болт М10-6gх35.56.019 ГОСТ 7796 | Болт М10-6gх35.56.019 ГОСТ 7796 | |
| 16 | СУПА.00.060 | Муфта | |
| 17 | Мотор шестеренный ГМШ 32-ЗЛ | Мотор шестеренный ГМШ 32-ЗЛ | |
| 18 | Кольцо А 25 | Кольцо А 25 | |
| 19 | Шайба 10.65Г.019 ГОСТ 6402 | Шайба 10.65Г.019 ГОСТ 6402 | |
| 20 | Гайка М10-6Н.6.019 ГОСТ 5915 | Гайка М10-6Н.6.019 ГОСТ 5915 | |
| 21 | Шайба С.10.01.019 ГОСТ 11371 | Шайба С.10.01.019 ГОСТ 11371 | |
| 22 | Болт М10-6gх40.58.019 ГОСТ 7796 | Болт М10-6gх40.58.019 ГОСТ 7796 | |
| 23 | СУПА.00.104-А | Крышка | |
| 24 | СУПА.00.416 | Кожух | |
| 25 | СУПА.00.780 | Боковина | |
| 26 | СУПА.00.215 | Крышка | |
| 27 | Манжета II 2-30х52-1 ГОСТ 8752 | Манжета II 2-30х52-1 ГОСТ 8752 | |
| 28 | Болт М10-6gх35.58.019 ГОСТ 7796 | Болт М10-6gх35.58.019 ГОСТ 7796 | |
| 29 | Ремень А-1250Т ГОСТ 1284 | Ремень А-1250Т ГОСТ 1284 | |
| 30 | СУПА.00.004 | Шкив | |
| 31 | СУПА.00.212 | Крышка | |
| 32 | Шайба 10.65Г.019 ГОСТ 6402 | Шайба 10.65Г.019 ГОСТ 6402 | |
| 33 | Гайка М10-6Н.6.019 ГОСТ 5915 | Гайка М10-6Н.6.019 ГОСТ 5915 | |
| 34 | Манжета II 2-30х52-1 ГОСТ 8752 | Манжета II 2-30х52-1 ГОСТ 8752 | |
| 35 | СУПА.00.212 | Крышка | |
| 36 | СУПА.00.211 | Фланец | |
| 37 | Подшипник 0-206 ГОСТ 8338 | Подшипник 0-206 ГОСТ 8338 |
Содержащиеся в справочниках-каталогах запасные части и детали не предлагаются к продаже, а носят исключительно информационный характер