Каталог запасных частей к технике: Красная Звезда СУПН-12А. Пульт 152.390.077-01
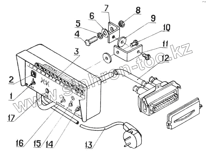
1
2
3
4
5
6
7
8
9
10
11
12
13
14
15
16
17
| Позиция на иллюстрации | Заводской номер детали | Название детали | |
|---|---|---|---|
| 1 | Микротумблер (ПИТ включение питания) | Микротумблер (ПИТ включение питания) | |
| 2 | Световой индикатор (включение питания) | Световой индикатор (включение питания) | |
| 3 | Световые индикаторы (ОТКАЗ«1...12»УРОВ.С) | Световые индикаторы (ОТКАЗ«1...12»УРОВ.С) | |
| 4 | Болт М8-6gх20.58.019 ГОСТ 7796-70 | Болт М8-6gх20.58.019 ГОСТ 7796-70 | |
| 5 | Шайба 8 65Г 019 ГОСТ 6402-70 | Шайба 8 65Г 019 ГОСТ 6402-70 | |
| 6 | Шайба С.8х1,4.01.10.019 ГОСТ 11371-78 | Шайба С.8х1,4.01.10.019 ГОСТ 11371-78 | |
| 7 | 158.111.019 | Уголок | |
| 8 | Гайка М8-6Н.6.019 ГОСТ 5915-70 | Гайка М8-6Н.6.019 ГОСТ 5915-70 | |
| 9 | 158.947.131 | Шайба резиновая | |
| 10 | 158.920.400 | Болт | |
| 11 | 158.111.018 | Уголок | |
| 12 | Кабель (с розеткой РШАТКП-0-3) | Кабель (с розеткой РШАТКП-0-3) | |
| 13 | Кабель с вилкой (для подключения к электрической сети трактора) | Кабель с вилкой (для подключения к электрической сети трактора) | |
| 14 | Регулятор (времени задержки включения сигнализации РЕГУЛ.) | Регулятор (времени задержки включения сигнализации РЕГУЛ.) | |
| 15 | Кнопка (ПРОБ, включения режима «Проверка») | Кнопка (ПРОБ, включения режима «Проверка») | |
| 16 | Микротумблер (БЛОКИР. включения режима «Блокировка») | Микротумблер (БЛОКИР. включения режима «Блокировка») | |
| 17 | Держатель предохранителя 250V/4А ОН 0477793-83 | Держатель предохранителя 250V/4А ОН 0477793-83 |
Содержащиеся в справочниках-каталогах запасные части и детали не предлагаются к продаже, а носят исключительно информационный характер