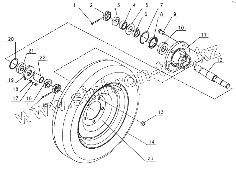
Каталог запасных частей к технике: Красная Звезда СТС-2 (6). Колесо Н13003000А
1
1
2
3
4
5
6
7
8
9
10
11
12
13
14
15
16
17
18
19
20
21
22
23
| Позиция на иллюстрации | Заводской номер детали | Название детали | |
|---|---|---|---|
| 1 | 6.3 63.019 ГОСТ 397-79 | Шплинт | |
| 2 | Н-130.03.607 | Гайка | |
| 3 | Н-130.03.608 | Гайка | |
| 4 | Н 130.03.601А-01 | Втулка | |
| 5 | Н 130.03.401А | Шайба | |
| 6 | Н 130.03.601А | Втулка | |
| 7 | I-5-80 ГОСТ 13941-68 | Кольцо | |
| 8 | 1.1-55х80-1 ГОСТ 8752-79 | Манжета | |
| 9 | М16х1.5-6gх50.019 | Болт | |
| 10 | 7208А ТУ 37.006.162-89 | Подшипник | |
| 11 | Н 130.02.201А | Ступица | |
| 12 | Н130.03.603А | Ось | |
| 13 | М16х1,5-6Н.6.019 ГОСТ 5915-70 | Гайка | |
| 14 | 6,50-16 ГОСТ 7463-80 | Шина | |
| 15 | Н 130.03.607А | Гайка | |
| 16 | Н 130.03.608А | Гайка | |
| 17 | М10-6gх25.58.019 | Болт | |
| 18 | 1065Г 019 ГОСТ 6402-70 | Шайба | |
| 19 | СЖК00.103Б | Крышка | |
| 20 | 1-Б-72 ГОСТ 13941-68 | Кольцо | |
| 21 | 7207 ТУ 37.006.162-89 | Подшипник | |
| 22 | Н 130.03.6001А | Втулка | |
| 23 | 363101010-А2 | Колесо (Диск и обод в сборе) |
Содержащиеся в справочниках-каталогах запасные части и детали не предлагаются к продаже, а носят исключительно информационный характер