Каталог запасных частей к технике: Красная Звезда ССТ-12В. Транспортное устройство 059.046.1850
2
2
3
4
5
6
7
8
8
9
10
11
12
13
13
13
14
14
14
15
15
16
17
18
19
19
20
20
21
22
22
23
24
25
26
27
28
28
29
30
31
32
32
33
34
34
35
35
35
36
36
37
38
38
39
39
40
41
42
43
44
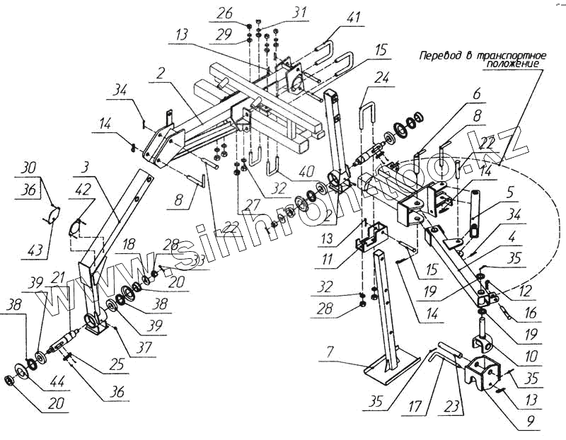
| Позиция на иллюстрации | Заводской номер детали | Название детали | |
|---|---|---|---|
| 1 | 509.046.1680 | Стойка | |
| 2 | 509.046.1690 | Брус | |
| 3 | 509.046.1710 | Стойка | |
| 4 | 509.046.1740 | Кронштейн | |
| 5 | 509.046.1750 | Тяга | |
| 6 | 509.046.1880 | Штырь | |
| 7 | 509.046.1930 | Опора | |
| 8 | 509.046.1940 | Штырь | |
| 9 | 509.046.2410 | Короб | |
| 10 | 509.046.2420 | Серьга | |
| 11 | 509.046.2510 | Кронштейн | |
| 12 | С54.602-01 | Шплинт пружинный (477310267808) | |
| 13 | С 54.602-02 | Шплинт пружинный | |
| 14 | С54.602-03 | Шплинт пружинный (477310265806) | |
| 15 | СМЕ 20.602 | Штырь | |
| 16 | СМЕ 20.602-06 | Штырь | |
| 17 | ССГ.00.682 | Штырь (478335059308) | |
| 18 | 509.046.4075 | Шайба | |
| 19 | 509.046.4162 | Шайба | |
| 20 | 509.046.6004 | Вал | |
| 21 | 509.046.6011 | Вал | |
| 22 | 509.046.6016 | Штырь | |
| 23 | 509.046.6062 | Ось | |
| 24 | 509.046.6073-08 | Скоба | |
| 25 | 509.046.6097-01 | Шпонка | |
| 26 | Гайка М16-6Н.6.019 ГОСТ 5915-70 | Гайка М16-6Н.6.019 ГОСТ 5915-70 | |
| 27 | Гайка М20-6Н.6.019 ГОСТ 5915-70 | Гайка М20-6Н.6.019 ГОСТ 5915-70 | |
| 28 | Гайка М20-6Н.6.019 ГОСТ 5919-73 | Гайка М20-6Н.6.019 ГОСТ 5919-73 | |
| 29 | Шайба С16.01.10.019 ГОСТ 11371-78 | Шайба С16.01.10.019 ГОСТ 11371-78 | |
| 30 | Шайба 6 65Г 019 ГОСТ 6402-70 | Шайба 6 65Г 019 ГОСТ 6402-70 | |
| 31 | Шайба 16 65Г 019 ГОСТ 6402-70 | Шайба 16 65Г 019 ГОСТ 6402-70 | |
| 32 | Шайба 20 65Г 019 ГОСТ 6402-70 | Шайба 20 65Г 019 ГОСТ 6402-70 | |
| 33 | Шплинты 4х40.019 ГОСТ 397-79 | Шплинты 4х40.019 ГОСТ 397-79 | |
| 34 | Шплинты 6,3х36.019 ГОСТ 397-79 | Шплинты 6,3х36.019 ГОСТ 397-79 | |
| 35 | Шплинты 6,3х50.019 ГОСТ 397-79 | Шплинты 6,3х50.019 ГОСТ 397-79 | |
| 36 | Винт В.М4-6дх12.58.01 9 ГОСТ 17473-80 | Винт В.М4-6дх12.58.01 9 ГОСТ 17473-80 | |
| 37 | Масленка 1.2 Ц6хр ГОСТ 19853-74 | Масленка 1.2 Ц6хр ГОСТ 19853-74 | |
| 38 | Манжета 1.1-55х80-3 ГОСТ 8752-79 | Манжета 1.1-55х80-3 ГОСТ 8752-79 | |
| 39 | Подшипник 208 ГОСТ 8338-75 | Подшипник 208 ГОСТ 8338-75 | |
| 40 | Скобы 12М16х79х90/35.56.Ц9хр ОСТ 23.2.10-8 | Скобы 12М16х79х90/35.56.Ц9хр ОСТ 23.2.10-8 | |
| 41 | Скобы 12М20х102х120/40.56.Ц9хр ОСТ 23.2.10-8 | Скобы 12М20х102х120/40.56.Ц9хр ОСТ 23.2.10-8 | |
| 42 | Световозвращатель ФП 310Е ТУ 37.003-079-80 | Световозвращатель ФП 310Е ТУ 37.003-079-80 | |
| 43 | Световозвращатель ФП 315 ТУ 37.003-079-80 | Световозвращатель ФП 315 ТУ 37.003-079-80 | |
| 44 | Н 130.02.408 | Колпачок |
Содержащиеся в справочниках-каталогах запасные части и детали не предлагаются к продаже, а носят исключительно информационный характер