Каталог запасных частей к технике: Красная Звезда КРНВ-5.6-02. Диски защитные
1
2
3
4
5
6
7
8
9
10
11
11
12
13
14
15
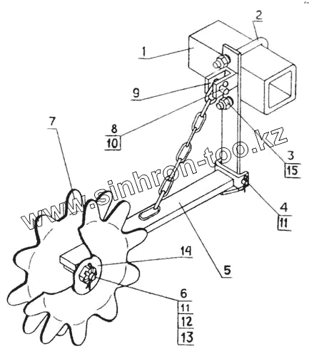
| Позиция на иллюстрации | Заводской номер детали | Название детали | |
|---|---|---|---|
| КРН 46.290-01 | КРН 46.290-01 | Подвеска | |
| 1 | КРН 46.010 | Рама | |
| 2 | 2М16х158х175/35.56.Ц9хр ОСТ 23.2.10 | Скоба | |
| 3 | М16-6Н.6.019 ГОСТ 5915 | Гайка | |
| 4 | КЛТ 04.605 | Ось | |
| 5 | КРН 46.290 | Подвеска | |
| 6 | 2М16-6gх140.66.019 ГОСТ 7795 | Болт | |
| 7 | КЛТ 04.407 | Диск | |
| 8 | С 4.602-01 | Штырь | |
| 9 | КРН 46.280 | Кронштейн | |
| 10 | С 54.602 | Шплинт пружинный | |
| 11 | 4х36.019 ГОСТ 397 | Шплинт | |
| 12 | М16-6Н.04.019 ГОСТ 5915 | Гайка | |
| 13 | С16х1.01.019ГОСТ 11371 | Шайба | |
| 14 | КЛТ 04.406 | Накладка | |
| 15 | 16.65Г.019 ГОСТ 6402 | Шайба |
Содержащиеся в справочниках-каталогах запасные части и детали не предлагаются к продаже, а носят исключительно информационный характер