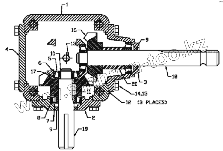
Каталог запасных частей к технике: Клевер ТШ-70-8Э. Конический редуктор ТШ-70-8Э
1
2
3
4
5
6
7
8
9
9
10
11
12
13
14
15
16
17
18
19
20
| Позиция на иллюстрации | Заводской номер детали | Название детали | |
|---|---|---|---|
| 961092 | 961092 | Редуктор в собранном виде | |
| Прокладка | Прокладка | Прокладка | |
| Прокладка | Прокладка | Прокладка | |
| 1 | 961315 | Корпус | |
| 2 | 961316 | Крышка подшипника | |
| 3 | 961317 | Крышка подшипника | |
| 4 | 961318 | Крышка | |
| 5 | 93020 | Внутреннее кольцо подшипника | |
| 6 | 93019 | Наружное кольцо подшипника | |
| 7 | 966776 | Внутреннее кольцо подшипника | |
| 8 | 966777 | Наружное кольцо подшипника | |
| 9 | 961319 | Уплотнение | |
| 10 | 961320 | Фиксатор | |
| 11 | 961321 | Шпонка 1/4 квадр., длина 3/4 | |
| 12 | 961322 | Регулировочная прокладка 0,005 A/R | |
| 13 | 960818 | Резьбовая заглушка трубы, 1/4 нормальная трубная резьба | |
| 14 | 81549 | 5/16x3/4 Болт | |
| 15 | 81569 | 5/16 Шайба | |
| 16 | 961323 | Зубчатое колесо, скос 90°, 19T | |
| 17 | 961324 | Прокладка подшипника | |
| 18 | 961325 | Ось | |
| 19 | 961326 | Ось | |
| 20 | 961327 | Прокладка подшипника |
Содержащиеся в справочниках-каталогах запасные части и детали не предлагаются к продаже, а носят исключительно информационный характер