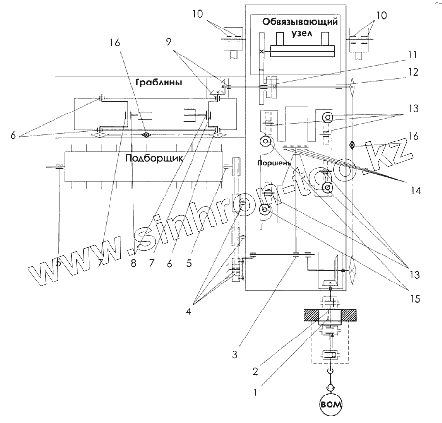
Каталог запасных частей к технике: Клевер ППТ-041 "Tukan". Схема подшипников
1
2
3
3
4
5
5
6
6
7
7
8
9
10
10
11
12
13
13
14
15
16
16
| Позиция на иллюстрации | Заводской номер детали | Название детали | |
|---|---|---|---|
| 1 | 4030KU | Втулка ГОСТ28773-90 | |
| 2 | 4344908 | Подшипник ГОСТ4657-82 | |
| 3 | 48.07.097 | Подшипниковая опора | |
| 3 | 480210 | Подшипник ГОСТ24850-81 | |
| 4 | 180205 | Подшипник ГОСТ8882-75 | |
| 5 | 1680207 | Подшипник ТУ37.006.084-90 | |
| 6 | 1680206 | Подшипник ТУ37.006.084-90 | |
| 7 | ППТ-041.01.001 | Захват | |
| 8 | ППТ-041.01.001-01 | Захват | |
| 9 | 60208 | Подшипник ГОСТ7242-81 | |
| 10 | 2025KU | Втулка ГОСТ28773-90 | |
| 11 | 4030KU | Втулка ГОСТ28773-90 | |
| 12 | 480208 | Подшипник ГОСТ24850-81 | |
| 13 | 180605 | Подшипник ГОСТ8882-75 | |
| 14 | 3530KU | Втулка ГОСТ28773-90 | |
| 15 | 180305 | Подшипник ГОСТ8882-75 | |
| 16 | 180204С17 | Подшипник ГОСТ8882-75 |
Содержащиеся в справочниках-каталогах запасные части и детали не предлагаются к продаже, а носят исключительно информационный характер