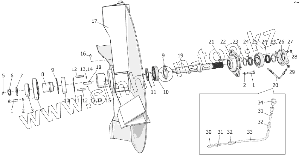
Каталог запасных частей к технике: Клевер КИН-2,7А. Крылач
КИН-2.7.01.050
1
1
2
2
3
4
5
6
7
8
9
9
10
10
10
11
11
12
12
13
13
14
14
15
16
17
18
19
20
21
22
23
23
24
24
25
26
27
28
29
30
31
31
32
32
33
34
| Позиция на иллюстрации | Заводской номер детали | Название детали | |
|---|---|---|---|
| КИН-2.7.01.430 | КИН-2.7.01.430 | Опора | |
| КИН-2.7.01.050 | КИН-2.7.01.050 | Крылач | |
| 1 | М12х1,25-6gх50.88.35.019 | Болт | |
| 2 | 12Т.65Г.019 | Шайба | |
| 3 | 1580209 | Подшипник | |
| 4 | РСМ-100.70.05.201 | Корпус подшипника | |
| 5 | 5х32.019 | Шплинт | |
| 6 | М24-6Н.04.35.019 | Гайка | |
| 7 | РСМ-100.01.00.402 | Шайба | |
| 8 | РСМ-800.12.01.806 | Втулка | |
| 9 | РСМ-800.12.01.462 | Заглушка | |
| 10 | 180712К10С27 | Подшипник | |
| 10 | 180712АС27 | Подшипник | |
| 11 | РСМ-800.12.01.428 | Крышка | |
| 12 | РСМ-100.33.02.429 | Сухарик | |
| 13 | Б 8,731-100 | Шарик | |
| 14 | Н.021.01.003 | Пружина | |
| 15 | РСМ-100.33.02.602 | Ступица | |
| 16 | 1.2. Ц6хр | Масленка | |
| 17 | КИН-2.7.01.060 | Крылач | |
| 18 | 14х9х56 | Шпонка | |
| 19 | КИН-2.7.01.603 | Вал | |
| 20 | КИН-2.7.01.830 | Рукав | |
| 21 | М10-6gх40.88.35.019 | Болт | |
| 22 | Н.026.401 | Корпус подшипника | |
| 23 | Н.026.807 | Шайба защитная | |
| 24 | I.2-45х65-1 | Манжета | |
| 25 | 11309 | Подшипник ГОСТ8545-75 | |
| 26 | Н.026.174А | Корпус подшипника ОСТ23.2.421-82 | |
| 27 | 10Т.65Г.019 | Шайба | |
| 28 | М10-6Н.6.019 | Гайка | |
| 29 | 2.2.90.Ц6хр | Масленка | |
| 30 | GE 6-LL К 1/8КС 223-12270-7 | Штуцер прямой | |
| 31 | 432-24162-1 | Наконечник прямой | |
| 32 | 432-23031-1 | Муфта резьбовая | |
| 33 | КИН-2.7.01.091 | Трубка | |
| 34 | WE 6-LL К 1/8КС 223-12485-9 | Штуцер угловой |
Содержащиеся в справочниках-каталогах запасные части и детали не предлагаются к продаже, а носят исключительно информационный характер