Вернуться на главную
Поиск
Каталоги запчастей к технике
Сельхозтехника
Кировец-Ландтехник
Е-281 "MARAL-125"
Отопление
Каталог запасных частей к технике: Кировец-Ландтехник Е-281 "MARAL-125". Отопление
zoom-in
zoom-out
enlarge
shrink
circle-right
circle-left
file-text2
info
cart
Тип техники
Не выбрано
Легковые автомобили
Грузовые автомобили и прицепы
Автобусы
Сельхозтехника
Спецтехника
Двигатели
Мототехника
Марка
Не выбрано
AGCO
Amity
CASE IH
DongFeng
Fortschritt
Foton
Franz Kleine
Gaspardo
Great Plains
KRONE
KUHN
Lemken
Lovol
MacDon
Massey Ferguson
New Holland
TIGARBO
Vaderstad
Versatile
Wirax
Агро
Агротехмаш
Бобруйскагромаш (ОАО «УКХ «Бобруйскагромаш»)
БЭМЗ
ВгТЗ
Воронежсельмаш
ВТЗ
Гомсельмаш
ДКЗ
ЗАО "Техника-сервис"
ЗиД
КЗК
Кировец-Ландтехник
Клевер
Красная Звезда
Лидагропроммаш
Лидсельмаш
ЛТЗ
Машстройхолдинг
Минитракторы
Мордовагромаш
МТЗ
Навигатор-Новое машиностроение
Нефтекамский автозавод
ПТЗ
Ремком
РСМ
Сибсельмаш
ТеКЗ
ТКЗ
ХЗТСШ
ХТЗ
ЮМЗ
Модель
Не выбрано
Е-281 "MARAL-125"
Жатка S42
Жатка М30
Подборщик валков А22
Схема
>
Не выбрано
Кабина: рама с крышей
Кабина: рама с крышей
Обшивка кабины, держатель термоса
Обшивка: подножка со ступеньками
Площадка водителя
Площадка водителя, сиденье, пульты управления
Колонка рулевого управления
Изоляционная обшивка
Принудительный запор
Обшивка передняя
Обшивка задняя
Кабина: переднее стекло с держателями
Кабина: стеклоочиститель
Стеклоомыватель
Дверь кабины
Сиденье водителя
Фильтр и вентилятор кабины
Отопление
Облицовка радиатора
Двигатель в сборе
Двигатель в сборе
Двигатель в сборе
Устройство регулирования частоты вращения
Устройство регулирования частоты вращения
Топливная система
Топливная система
Система подвода воздуха сгорания
Система подвода воздуха сгорания
Система выпуска ОГ
Система выпуска ОГ
Система охлаждения двигателя
Система охлаждения двигателя
Цилиндрический реверсивный редуктор
Цилиндрическая коробка передач: дифференциал
Цилиндрическая коробка передач: муфта, вариатор
Цилиндрическая коробка передач: тормоз слева и справа
Механизм переключения передач
Цилиндрический редуктор в сборе
Цилиндрический редуктор
Фрикционная муфта: привода питающего аппарата
Привод питающего аппарата: механизм быстрой остановки
Привод адаптеров
Привод управления сцеплением
Привод измельчающего барабана
Привод реверсивного редуктора
Привод ходового механизма
Подшипниковое опирание промежуточного вала
Промежуточный вал вариатора
Шасси
Шасси
Управляемый мост
Колеса
Дополнительный комплект колес
Тормозная система
Пневматическая система 1: регулятор давления, головка соединительной муфты
Пневматическая система 1: механизм переключения реверсивного редуктора
Пневматическая система 1: тормозной кран прицепа
Пневматическая система 1: ременная муфта
Пневматическая система
Электрооборудование поста водителя
Центральный узел электросоединений
Электрооборудование колонки рулевого управления и рычага управления
Электрооборудование колонки рулевого управления и рычага управления
Электрооборудование шасси
Электрооборудование шасси
Электрооборудование рычага управления
Электрооборудование рычага управления
Электрооборудование кабины
Дополнительное освещение для силосопровода
Электрооборудование пульта управления
Электрооборудование пульта управления
Металлодетектор измельчающего агрегата
Гидравлическая система
Гидравлическая система
Гидравлическая система: подъемное устройство
Гидравлическая система: силосопровод
Гидравлическая система: перестановочное устройство
Гидравлическая система: шасси и управляемый мост
Гидравлическая система: шасси и управляемый мост
Масляный бак гидравлической системы
Гидравлическая система: гидроусилитель рулевого управления, секционный распределитель
Подъемное устройство
Измельчающий агрегат
Подшипниковое опирание измельчающего агрегата
Измельчающий агрегат: верхний питающий валец
Измельчающий агрегат: нижний питающий валец
Измельчающий агрегат: прессующие вальцы
Измельчающий агрегат: гладкий валец
Измельчающий агрегат: вальцы 1 и 2
Измельчающий агрегат: валец 3
Измельчающий агрегат: измельчающий барабан, рама
Измельчающий агрегат: смазочное устройство
Точильное приспособление измельчающего агрегата
Разгрузочный канал: перестановочное устройство
Силосопровод
Разгрузочный поддон с комплектом битерных планок
Разгрузочный поддон с битерным днищем
Таблички и наклейки
Таблички и наклейки
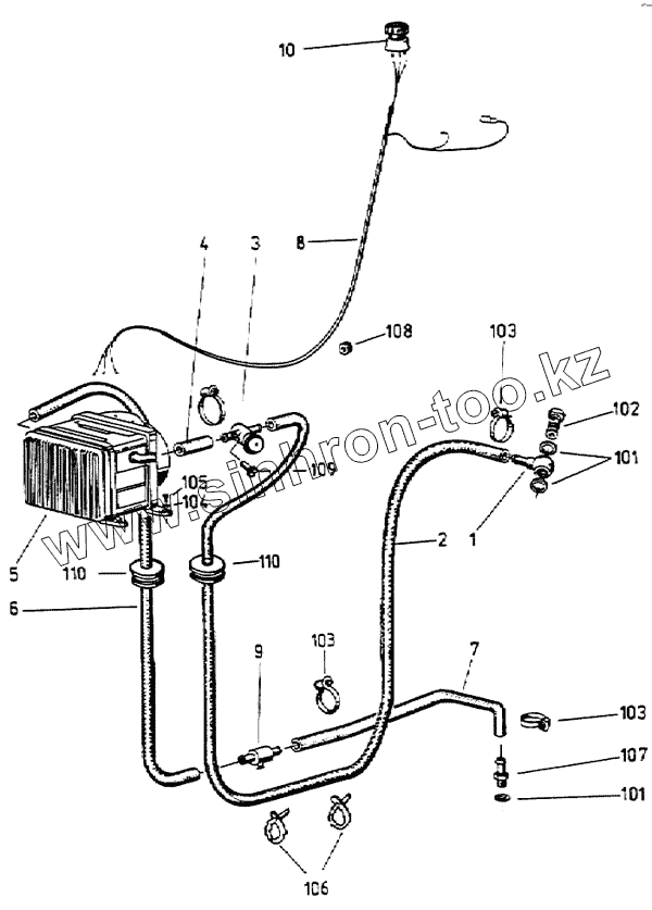
1
2
3
4
5
6
7
8
9
10
101
101
102
103
103
103
104
105
106
107
108
109
110
110
Позиция на иллюстрации
Заводской номер детали
Название детали
1
94721116918
Кольцевая деталь, в сборе
2
94762122916
Шланг для охлаждающей воды, вверху сзади
3
94002023468
Регулировочный кран
4
94762123017
Шланг для охлаждающей воды, вверху спереди
5
94002022981
Радиатор отопления
6
94762123113
Шланг для охлаждающей воды, внизу спереди
7
94762123218
Шланг для охлаждающей воды, внизу сзади
8
94762039012
Кабель
9
94002023476
Сливной кран
10
94007037403
Поворотный выключатель
101
94004100422
Уплотнительное кольцо
102
94006106852
Пустотелый винт
103
006623517
Хомутик для шланга
104
94006501348
Шайба пружинная
105
93001100029
Болт с шестигранной головкой
106
94001347944
Лента крепления кабеля, 255 мм
107
94003628887
Штуцер для шланга
108
94001147697
Проходной кабельный наконечник
109
94006004398
Болт с цилиндрической головкой
110
94001147873
Наконечник кабельный
Содержащиеся в справочниках-каталогах запасные части и детали не предлагаются к продаже, а носят исключительно информационный характер
Дополнительная информация
×
Название:
Номер:
Примечание: