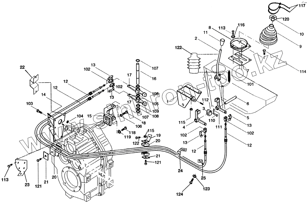
Каталог запасных частей к технике: Кировец-Ландтехник Е-281 "MARAL-125". Механизм переключения передач
1
2
3
4
5
6
7
8
9
10
11
12
12
12
12
13
13
13
13
14
15
16
17
17
18
19
20
20
21
21
22
23
24
25
101
102
102
102
102
103
104
105
106
107
107
108
108
109
110
111
112
113
113
114
115
115
116
117
118
119
120
121
121
122
122
123
124
| Позиция на иллюстрации | Заводской номер детали | Название детали | |
|---|---|---|---|
| 1 | 94763301018 | Кронштейн механизма переключения передач, сварной | |
| 2 | 94763301315 | Рычаг переключения передач, сварной | |
| 3 | 94763301717 | Промежуточный подшипник, в сборе | |
| 4 | 94763303614 | Угловой рычаг, задний ход -1 передача | |
| 5 | 94763304213 | Угловой рычаг, 2 передача - 3 передача | |
| 6 | 94763301918 | Вал управления переключением передач | |
| 7 | 94763300218 | Кулиса переключения передач | |
| 8 | 94763304414 | Держатель | |
| 9 | 94763305310 | Манжета | |
| 10 | 94763300314 | Направляющая | |
| 11 | 94763304711 | Головка рычага переключения, в сборе | |
| 12 | 94763303518 | Дистанционное управление | |
| 13 | 94004163323 | Палец | |
| 14 | 94004141840 | Контропора, в сборе | |
| 15 | 94004141808 | Направляющая | |
| 16 | 94004141816 | Вал управления переключением передач | |
| 17 | 94004141857 | Рычаг переключения передач, в сборе | |
| 18 | 94004141824 | Стопорный болт | |
| 19 | 94762233504 | Держатель | |
| 20 | 94004027718 | Хомутик | |
| 21 | 94004027590 | Верхняя плита | |
| 22 | 94762090111 | Покрывной лист | |
| 23 | 94762233600 | Держатель | |
| 24 | 94762221701 | Держатель | |
| 25 | 94762221806 | Держатель | |
| 101 | 94006701138 | Пружина растяжения | |
| 102 | 94006173532 | Вилочная головка | |
| 103 | 01093308025 | Болт с шестигранной головкой | |
| 104 | 93001130060 | Шайба | |
| 105 | 94006608880 | Установочная шайба | |
| 106 | 01093406100 | Шестигранная гайка | |
| 107 | 93001150012 | Стопорное кольцо | |
| 108 | 94006608542 | Установочная шайба | |
| 109 | 94004135352 | Установочная шайба | |
| 110 | 94007610407 | Палец | |
| 111 | 93001230020 | Шплинт | |
| 112 | 93001220001 | Просечной штифт | |
| 113 | 01093306016 | Болт с шестигранной головкой | |
| 114 | 01093308020 | Болт с шестигранной головкой | |
| 115 | 01093408125 | Шестигранная гайка | |
| 116 | 92006510010 | Шайба | |
| 117 | 94001348012 | Бандаж для кабеля | |
| 118 | 01093308025 | Болт с шестигранной головкой | |
| 119 | 93001140121 | Пружинная шайба | |
| 120 | 93000003331 | Бандаж для кабеля | |
| 121 | 006334131 | Болт с шестигранной головкой | |
| 122 | 004137571 | Гофрированный чехол | |
| 123 | 93001130065 | Шайба | |
| 124 | 006340886 | Болт с шестигранной головкой |
Содержащиеся в справочниках-каталогах запасные части и детали не предлагаются к продаже, а носят исключительно информационный характер