Каталог запасных частей к технике: Кировец-Ландтехник Е-281 "MARAL-125". Измельчающий агрегат
1
2
3
4
5
6
7
8
9
10
11
12
13
13
14
15
16
17
18
19
20
21
22
23
24
25
26
27
28
28
28
28
28
28
29
29
29
101
101
101
101
101
102
102
102
102
102
102
102
102
104
106
106
106
107
109
109
110
110
110
110
110
110
111
111
112
113
114
115
116
117
118
119
120
121
122
123
124
125
125
125
125
126
126
126
126
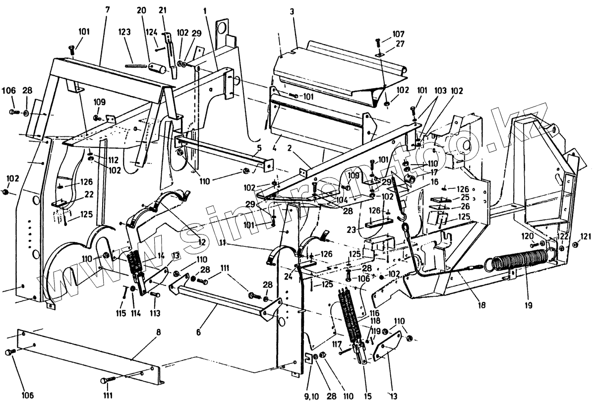
| Позиция на иллюстрации | Заводской номер детали | Название детали | |
|---|---|---|---|
| 1 | 94762050514 | Мостик, справа | |
| 2 | 94762050418 | Мостик, слева | |
| 3 | 94721443015 | Крышка | |
| 4 | 94020535221 | Поперечная связь | |
| 5 | 94020883127 | Поперечная связь | |
| 6 | 94721665011 | Поперечная связь | |
| 7 | 94762053517 | Траверса,верхняя | |
| 8 | 94762115218 | Траверса, нижняя | |
| 9 | 94762115314 | Прокладка толщиной 3 мм | |
| 10 | 94762115113 | Прокладка толщиной 1 мм | |
| 11 | 94721643512 | Ограждающая планка, слева | |
| 12 | 94721643617 | Ограждающая планка, справа | |
| 13 | 94762058810 | Крепежный лист | |
| 14 | 94762058618 | Пакет пружин | |
| 15 | 94762058714 | Подпружиненная навеска | |
| 16 | 94721221211 | Крюк | |
| 17 | 94721221316 | Труба | |
| 18 | 94006180798 | Тросовый привод | |
| 19 | 94721290818 | Пружина растяжения | |
| 20 | 94721221814 | Палец | |
| 21 | 94721221910 | Фиксатор-ловушка | |
| 22 | 94020895356 | Резиновая пластина | |
| 23 | 94020895348 | Резиновая пластина | |
| 24 | 94020895331 | Резиновая пластина | |
| 25 | 94020895323 | Резиновая пластина | |
| 26 | 94020885442 | Прокладка | |
| 27 | 94020886154 | Шайба | |
| 28 | 94721244515 | Шайба | |
| 29 | 94721218618 | Шайба | |
| 101 | 01093310030 | Болт с шестигранной головкой | |
| 102 | 01093410150 | Шестигранная гайка | |
| 104 | 01093312035 | Болт с шестигранной головкой | |
| 106 | 01093312030 | Болт с шестигранной головкой | |
| 107 | 01093310025 | Болт с шестигранной головкой | |
| 109 | 01093312025 | Болт с шестигранной головкой | |
| 110 | 01093412175 | Шестигранная гайка | |
| 111 | 01093312045 | Болт с шестигранной головкой | |
| 112 | 93001130067 | Шайба | |
| 113 | 94007605731 | Палец | |
| 114 | 93001130076 | Шайба | |
| 115 | 93001230027 | Шплинт | |
| 116 | 94006701773 | Пружина растяжения | |
| 117 | 94007612064 | Палец | |
| 118 | 93001130060 | Шайба | |
| 119 | 04009402016 | Шплинт | |
| 120 | 94006337046 | Болт с шестигранной головкой | |
| 121 | 01093408125 | Шестигранная гайка | |
| 122 | 94021423904 | Шайба | |
| 123 | 94006140411 | Просечной штифт | |
| 124 | 94006402892 | Шплинт | |
| 125 | 93001230036 | Шплинт | |
| 126 | 94006510927 | Шайба |
Содержащиеся в справочниках-каталогах запасные части и детали не предлагаются к продаже, а носят исключительно информационный характер