Каталог запасных частей к технике: Кировец-Ландтехник Е-281 "MARAL-125". Электрооборудование рычага управления
1
2
3
4
5
6
6
7
7
7
8
9
10
11
12
13
14
15
16
17
17
18
18
19
19
20
20
21
22
23
24
25
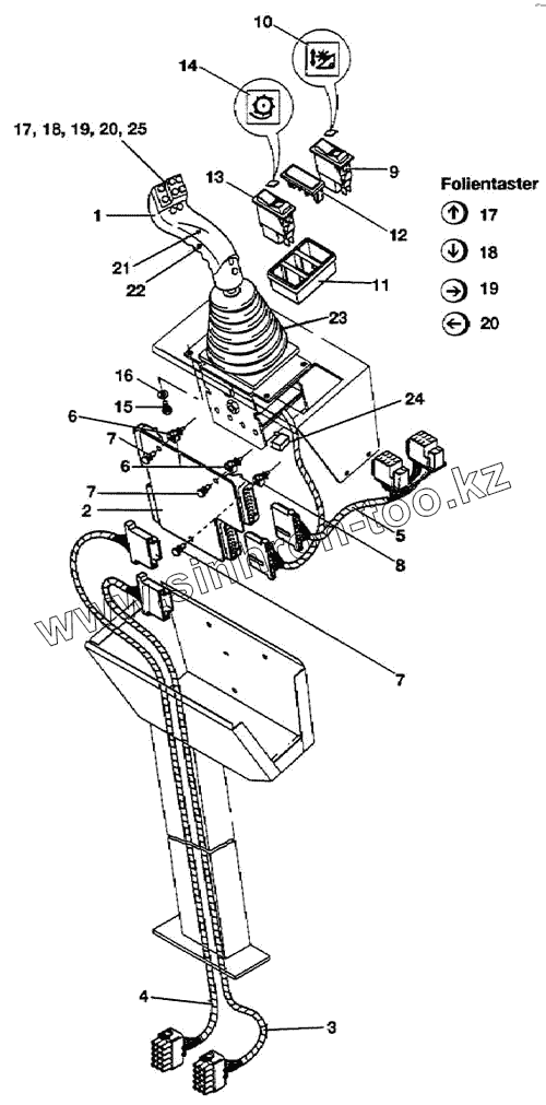
| Позиция на иллюстрации | Заводской номер детали | Название детали | |
|---|---|---|---|
| 1 | 94761013711 | Мультифункциональный рычаг | |
| 2 | 94761119817 | Гидропанель | |
| 3 | 94761014415 | Пучок проводов, для мультифункционального рычага | |
| 4 | 94761014310 | Пучок проводов, для гидросистемы | |
| 5 | 94761014214 | Пучок проводов, для блока выключателей | |
| 6 | 94007048615 | Распорка для печатных плат | |
| 7 | 94006424502 | Пластмассовая заклепка | |
| 8 | 94007048607 | Распорка для печатных плат | |
| 9 | 94007039985 | Выключатель с качающимся рычажком | |
| 10 | 94007061171 | Символ мотовила | |
| 11 | 94006404900 | Рама | |
| 12 | 94007040005 | Крышка | |
| 13 | 94007047108 | Перекидной выключатель | |
| 14 | 94007061147 | Символ, барабан ВКЛ | |
| 15 | 006006831 | Болт с цилиндрической головкой | |
| 16 | 93001130054 | Шайба | |
| 17 | 94004139331 | Кнопка из пленочного материала (стрелка вверху) | |
| 18 | 94004139348 | Кнопка из пленочного материала (стрелка внизу) | |
| 19 | 94004139356 | Кнопка из пленочного материала (стрелка справа) | |
| 20 | 94004139364 | Кнопка из пленочного материала (стрелка слева) | |
| 21 | 94004139276 | Чаша, впереди | |
| 22 | 94004139284 | Чаша, сзади | |
| 23 | 94004139372 | Гофрированный чехол | |
| 24 | 94004154660 | Микровыключатель | |
| 25 | 94004139380 | Комплектующие части для пленочных выключателей |
Содержащиеся в справочниках-каталогах запасные части и детали не предлагаются к продаже, а носят исключительно информационный характер