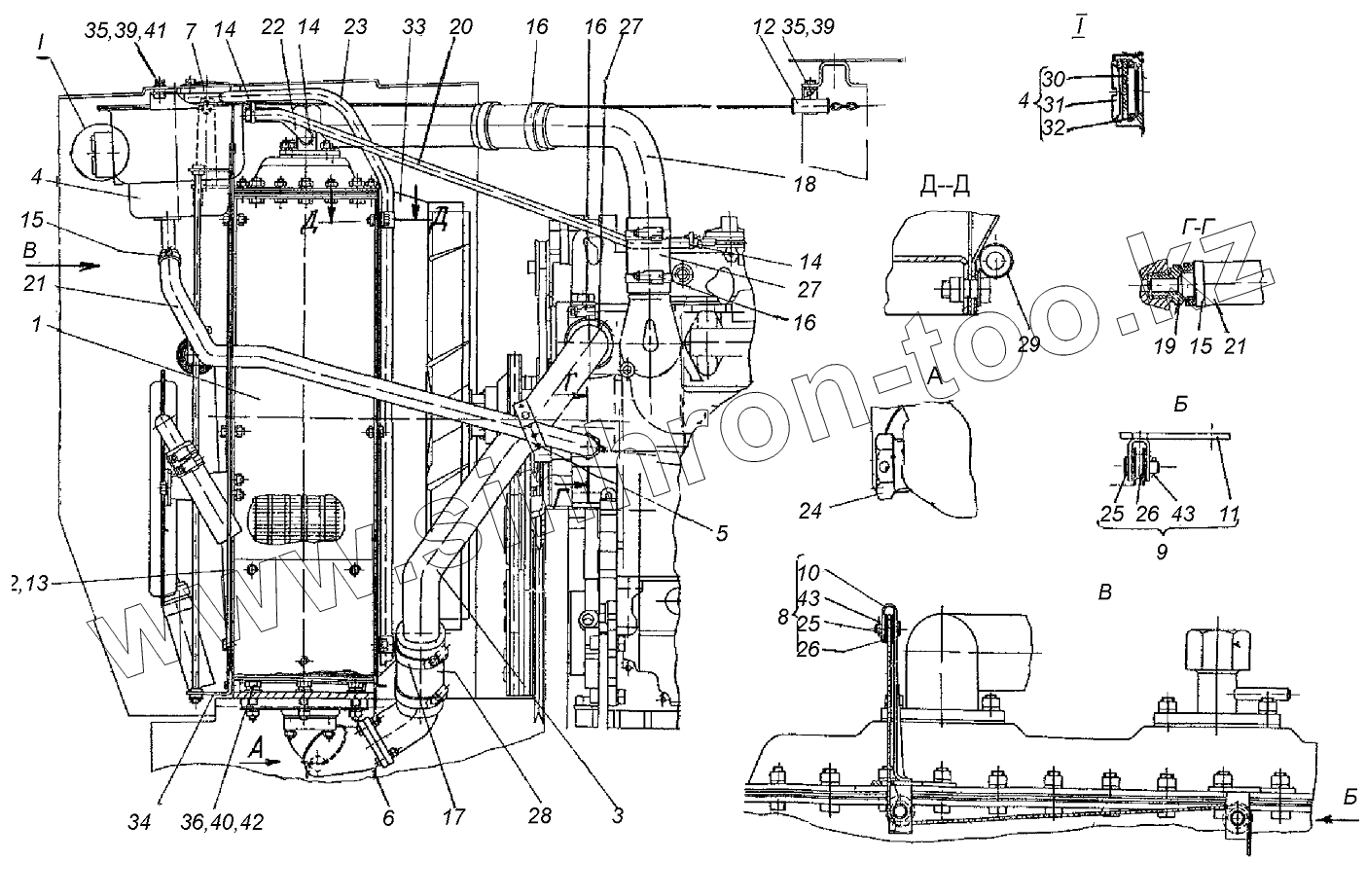
Каталог запасных частей к технике: ХТЗ Т-151К. Система охлаждения двигателя
170.13.001
1
2
3
4
4
5
6
7
8
9
10
11
12
13
14
14
14
15
15
16
16
16
17
18
19
20
21
21
22
23
24
25
25
26
26
27
27
28
29
30
31
32
33
34
35
35
36
39
39
40
41
42
43
43
| Позиция на иллюстрации | Заводской номер детали | Название детали | |
|---|---|---|---|
| 170.13.001 | 170.13.001 | Система охлаждения двигателя | |
| 1 | 170.13.010-1 | Радиатор | |
| 2 | 170.13.030 | Перегородка левая | |
| 3 | 170.13.035 | Труба | |
| 4 | 170.13.058-1А | Бачок | |
| 5 | 125.48.040 | Лента крепежная в сборе | |
| 6 | 150.13.032 | Перегородка нижняя в сборе | |
| 7 | 150.13.093-11 | Пробка | |
| 8 | 151М.13.019 | Кронштейн | |
| 9 | 151М.13.020 | Кронштейн | |
| 10 | 151М.13.021А | Кронштейн | |
| 11 | 151М.13.023 | Кронштейн | |
| 12 | 151К.13.044 | Трубка | |
| 13 | 180Р.13.030 | Перегородка | |
| 14 | ХС-18 | Хомутик стяжной | |
| 15 | ХС-28 | Хомутик стяжной | |
| 16 | ХСВА-62 | Хомут | |
| 17 | ХСВА-73 | Хомут | |
| 18 | 170.13.121-5 | Труба | |
| 19 | 170.13.142-1 | Штуцер | |
| 20 | 170.13.143-1 | Шланг | |
| 21 | 170.13.148-1 | 1Шланг | |
| 22 | 170.13.237 | Шланг | |
| 23 | 170.13.237-01 | Шланг | |
| 24 | 170.13.238 | Пробка | |
| 25 | 74.13.470 | Палец | |
| 26 | 74.13.471 | Ролик | |
| 27 | 120.09.111 | Шланг | |
| 28 | 125.13.256А | Шланг | |
| 29 | 125.64.254 | Скоба | |
| 30 | 150.57.181-1 | Стекло смотровое | |
| 31 | 150.57.183 | Гайка | |
| 32 | 150.57.196-1 | Кольцо | |
| 33 | 151К.13.126-1 | Кожух вентилятора | |
| 34 | 151Р.13.120 | Стойка | |
| 35 | М8х20.7796 | Болт | |
| 36 | М12х25.7796 | Болт | |
| 37 | М6х12.7798 | Болт | |
| 38 | М8 .5915 | Гайка | |
| 39 | 8 65Г.6402 | Шайба | |
| 40 | 12 65Г.6402 | Шайба | |
| 41 | 8.04.11371 | Шайба | |
| 42 | 12.04.11371 | Шайба | |
| 43 | 3,2х25.397 | Шплинт |
Содержащиеся в справочниках-каталогах запасные части и детали не предлагаются к продаже, а носят исключительно информационный характер