Каталог запасных частей к технике: ХТЗ Т-151К-08. Двери
М6х40.17473
М6х12.7798
М6х16.7798
М6х16.7798
М3х30.17473
М4х25.17475
М4х 8.17473
М5х12.17473
М5х16.17473
М5х18.17473
М5х18.17473
М5х8.17473
М6х12.17473
М6х12.17473
М3.5927
М5.5927
18.04.11371
4.65Г.6402
5.65Г.6402
5.65Г.6402
5.65Г.6402
5.65Г.6402
6.65Г.6402
6.65Г.6402
6.65Г.6402
6.65Г.6402
6.65Г.6402
6.04.11371
6.04.11371
2x10.397
2x10.397
3,2x25.397
1
2
2
2
2
3
3
3
3
4
5
6
7
8
9
10
11
12
12
12
12
12
12
12
12
12
13
13
13
13
13
13
13
13
14
15
16
17
18
19
20
21
22
23
24
25
25
26
27
28
29
30
31
32
33
34
35
36
37
38
39
40
41
42
43
44
45
46
47
48
49
50
51
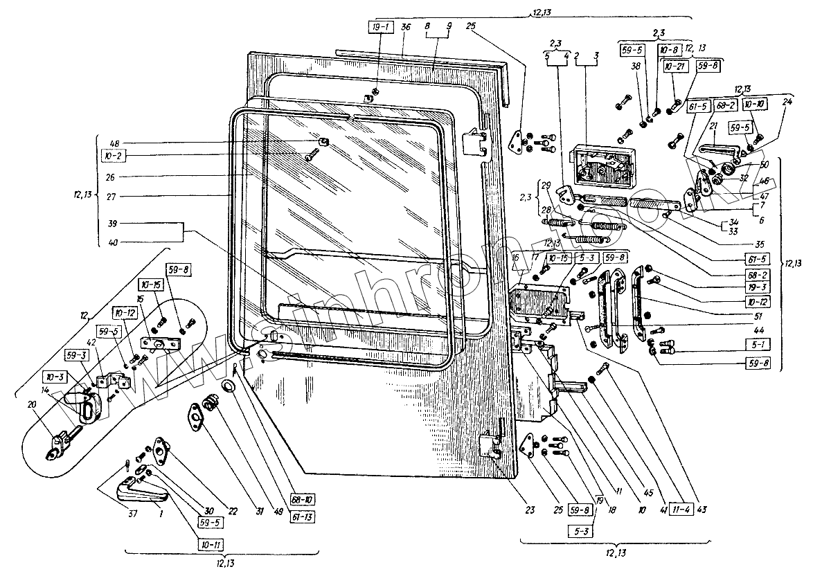
| Позиция на иллюстрации | Заводской номер детали | Название детали | |
|---|---|---|---|
| М6х40.17473 | М6х40.17473 | Винт | |
| М6х12.7798 | М6х12.7798 | Болт | |
| М6х16.7798 | М6х16.7798 | Болт | |
| М3х30.17473 | М3х30.17473 | Винт (d=3, l=30, L0=12, H=2,1, D=5,5) | |
| М4х25.17475 | М4х25.17475 | Винт (d=4, l=25, L0=14, H=2, D=7,4) | |
| М4х 8.17473 | М4х 8.17473 | Винт (d=4, l=8, L0=8, H=2,8, D=7) | |
| М5х12.17473 | М5х12.17473 | Винт | |
| М5х16.17473 | М5х16.17473 | Винт | |
| М5х18.17473 | М5х18.17473 | Винт | |
| М5х8.17473 | М5х8.17473 | Винт | |
| М6х12.17473 | М6х12.17473 | Винт | |
| М3.5927 | М3.5927 | Гайка (d=3, H=2,4, S=5,5) | |
| М5.5927 | М5.5927 | Гайка | |
| 18.04.11371 | 18.04.11371 | Шайба | |
| 4.65Г.6402 | 4.65Г.6402 | Шайба | |
| 5.65Г.6402 | 5.65Г.6402 | Шайба | |
| 6.65Г.6402 | 6.65Г.6402 | Шайба | |
| 6.04.11371 | 6.04.11371 | Шайба | |
| 2x10.397 | 2x10.397 | Шплинт (d=1,8, D=3,6, L=10) | |
| 3,2x25.397 | 3,2x25.397 | Шплинт | |
| 1 | 151К.45.0105 | Ручка | |
| 2 | 150М.45.015 | Замок правый | |
| 3 | 150М.45.016 | Замок левый | |
| 4 | 150М.45.019 | Ограничитель левый | |
| 5 | 150М.45.020 | Ограничитель правый | |
| 6 | 150М.45.022 | Рычаг левый | |
| 7 | 150М.45.022-01 | Рычаг правый | |
| 8 | 150М.45.031-1 | Дверь правая | |
| 9 | 150М.45.032-1 | Дверь левая | |
| 10 | 150М.45.033 | Тяга | |
| 11 | 150М.45.034 | Направляющая | |
| 12 | 150М.45.043-1 | Дверь правая | |
| 13 | 150М.45.044-1 | Дверь левая | |
| 14 | 150М.45.061-1 | Накладка | |
| 15 | 150М.45.062 | Вилка | |
| 16 | 150М.45.082 | Крышка | |
| 17 | 150М.45.083 | Крышка | |
| 18 | 150М.45.0107 | Облицовка | |
| 19 | 150М.45.0107-01 | Облицовка | |
| 20 | МЦ6А-7.010-1-01 | Механизм цилиндровый | |
| 21 | 151К.45.162 | Ручка | |
| 22 | 151К.45.183 | Втулка | |
| 23 | 151К.45.208 | Петля | |
| 24 | 151К.45.483 | Пластина | |
| 25 | 150М.45.131 | Планка | |
| 26 | 150М.45.141 | Стекло | |
| 27 | 150.45.144-1-09 | Окантовка | |
| 28 | 150М.45.161 | Пружина | |
| 29 | 150М.45.163 | Пружина | |
| 30 | 150М.45.182 | Стержень | |
| 31 | 150М.45.184 | Пластина | |
| 32 | 150М.45.188 | Пружина | |
| 33 | 150М.45.195 | Тяга правая | |
| 34 | 150М.45.195-01 | Тяга левая | |
| 35 | 150М.45.230 | Ось | |
| 36 | 150М.45.269 | Уплотнитель | |
| 37 | 150М.45.272 | Штифт | |
| 38 | 150М.45.274 | Шайба | |
| 39 | 150М.45.279-1 | Облицовка правая | |
| 40 | 150М.45.279-1-01 | Облицовка левая | |
| 41 | 150М.45.280 | Шайба | |
| 42 | 150М.45.281 | Кронштейн | |
| 43 | 150М.45.320 | Планка | |
| 44 | 150М.45.324 | Ручка | |
| 45 | 150М.45.343 | Планка | |
| 46 | 150М.45.363 | Пружина | |
| 47 | 150М.45.363-01 | Пружина | |
| 48 | 150М.45.364 | Скоба | |
| 49 | 150М.45.372 | Пружина | |
| 50 | 150М.45.394 | Колпачок | |
| 51 | 150.45.410-1Б | Накладка |
Содержащиеся в справочниках-каталогах запасные части и детали не предлагаются к продаже, а носят исключительно информационный характер