Каталог запасных частей к технике: ХТЗ Т-150К (2004). Кабина
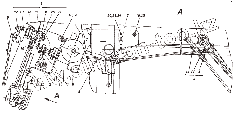
1
2
3
4
5
6
7
8
9
10
11
12
13
14
15
16
17
18
19
19
20
21
22
23
24
25
25
25
26
| Позиция на иллюстрации | Заводской номер детали | Название детали | |
|---|---|---|---|
| 1 | 151К.45.0100 | Ось рычага | |
| 2 | 151К.45.0110 | Рычаг | |
| 3 | 151К.45.0111 | Наконечник тяги | |
| 4 | 151К.45.0112-01 | Тяга правая | |
| 5 | 151К.45.0113-01 | Тяга левая | |
| 6 | 151К.45.0114-01 | Рычаг | |
| 7 | 5102.3709(ПТ18-25-2312-30У3) | Переключатель | |
| 8 | МРС-1250-У2 | Моторедуктор | |
| 9 | ПУС-1-04-У | Пантографное устройство | |
| 10 | 151К.45.500 | Ось | |
| 11 | 151К.45.501 | Втулка | |
| 12 | 151К.45.502-1 | Гайка | |
| 13 | 151К.45.504 | Гайка | |
| 14 | 151К.45.507-10 | Штанга | |
| 15 | 151К.45.511 | Кронштейн | |
| 16 | 151К.45.513 | Шайба | |
| 17 | ШШс-9х24х3 | Шайба | |
| 18 | М6х12.7798 | Болт | |
| 19 | М6х16.7798 | Болт | |
| 20 | М4х8.17473 | Винт | |
| 21 | М1.5915 | Гайка | |
| 22 | М6.5915 | Гайка | |
| 23 | М4.5927 | Гайка | |
| 24 | 465Г.6402 | Шайба | |
| 25 | 665Г.6402 | Шайба | |
| 26 | 1065Г.6402 | Шайба |
Содержащиеся в справочниках-каталогах запасные части и детали не предлагаются к продаже, а носят исключительно информационный характер