Вернуться на главную
Поиск
Каталоги запчастей к технике
Сельхозтехника
Great Plains
3S-4010HD
Wing Frame Extension Mount
Каталог запасных частей к технике: Great Plains 3S-4010HD. Wing Frame Extension Mount
zoom-in
zoom-out
enlarge
shrink
circle-right
circle-left
file-text2
info
cart
Тип техники
Не выбрано
Легковые автомобили
Грузовые автомобили и прицепы
Автобусы
Сельхозтехника
Спецтехника
Двигатели
Мототехника
Марка
Не выбрано
AGCO
Amity
CASE IH
DongFeng
Fortschritt
Foton
Franz Kleine
Gaspardo
Great Plains
KRONE
KUHN
Lemken
Lovol
MacDon
Massey Ferguson
New Holland
TIGARBO
Vaderstad
Versatile
Wirax
Агро
Агротехмаш
Бобруйскагромаш (ОАО «УКХ «Бобруйскагромаш»)
БЭМЗ
ВгТЗ
Воронежсельмаш
ВТЗ
Гомсельмаш
ДКЗ
ЗАО "Техника-сервис"
ЗиД
КЗК
Кировец-Ландтехник
Клевер
Красная Звезда
Лидагропроммаш
Лидсельмаш
ЛТЗ
Машстройхолдинг
Минитракторы
Мордовагромаш
МТЗ
Навигатор-Новое машиностроение
Нефтекамский автозавод
ПТЗ
Ремком
РСМ
Сибсельмаш
ТеКЗ
ТКЗ
ХЗТСШ
ХТЗ
ЮМЗ
Модель
Не выбрано
1200, 1500, 2000 (2017)
1200TM - 4000TM (2013)
2S-2600, 2S-2600F (2016)
3N-4010 (2016)
3S-4010HD (2017)
CPH12, CPH15, CPH20 (2020)
CTA4000 HD (2017)
NP4000-1630 (2014)
PH-15, PH-20, PFH-15, PFH-20 (2019)
Схема
>
Не выбрано
Hitch to Frame
Tongue to Wings
Wing to Center Frame
Lights and Harness
Box to Frame
Lid To Fertilizer Box
Fertilizer Box Dividers
Fertilizer Spill Flap (175-190S)
Fertilizer Tray to Box
Fertilizer Tray
Seed / Fertilizer Flap (175-191S)
Small Seeds Box Mounting
Small Seeds Box Components
Seed Box Only
Walkboard
Seed Level Indicator
Weight Bracket (Option)
Wing Frame Extension Mount
7.5" LH Feeder Cup Spacing
7.5" RH Feeder Cup Spacing
7.5" CTR Section Feeder Cup Spacing
10" CTR and LH Feeder Cup Spacing
10" RH Feeder Cup Spacing
Seed Rate Adjustment Handle (118-881S)
Loup Shaft Monitor (2 Channel 116-282A) (3 Channel 116-283A)
Rockshaft to Frame
Rockshaft
Gauge Wheel
Gauge Wheel Striker Plate
Rear Axle Assembly
Rockshaft Ground Drive
Drive
Center Section Fertilizer Drive
Center Section Seeds Drive
Center Section Small Seeds Drive
RH & LH Fertilizer Drive
RH & LH Seeds Drive
RH & LH Small Seeds Drive
Small Seeds Jackshaft
HD10 Series Opener Arms & Mounts
HD10 Series Opener Body
HD10 & 25 Series Inside Scraper
HD10 Series Seed-Lok (Option)
Coulter
Coulter Blade Unit Mount
Fertilizer Hose Retainer
Seed Firmer
Small Seeds Seed Tube
HD10 1" x 12" Double "V" Press Wheel
HD10 1 1/4" x 13 1/2" Double Press Wheel
HD10 2" x 13" Single Press Wheel
HD10 3" x 13" Single Press Wheel
Lift and Fold Hydraulics
Lock Cylinder Hydraulics
Stroke Control Valve (810-503C)
Hydraulic Cylinder (810-201C 1.5x2.5x.75 Rod)
Hydraulic Cylinder (810-496C 5x16x1.5 Rod)
Hydraulic Cylinder (810-497C 4.75x16x1.5 Rod)
Hydraulic Cylinder (810-498C 4.5x16x1.5 Rod)
Hydraulic Cylinder (810-499C 5x24x2 Rod)
Hydraulic Cylinder (810-500C 5x20x2 Rod)
Hydraulic Cylinder (810-555C 1.5x2.5x.75 Rod)
Point Row
Decals
Marker Arm
Marker Disk and Hub (113-790S)
LH Marker Hydraulics
Dual Marker Hydraulics
Hydraulic Cylinder (810-423C 3x24x1.5 Rod)
Sequence Valve (810-422C)
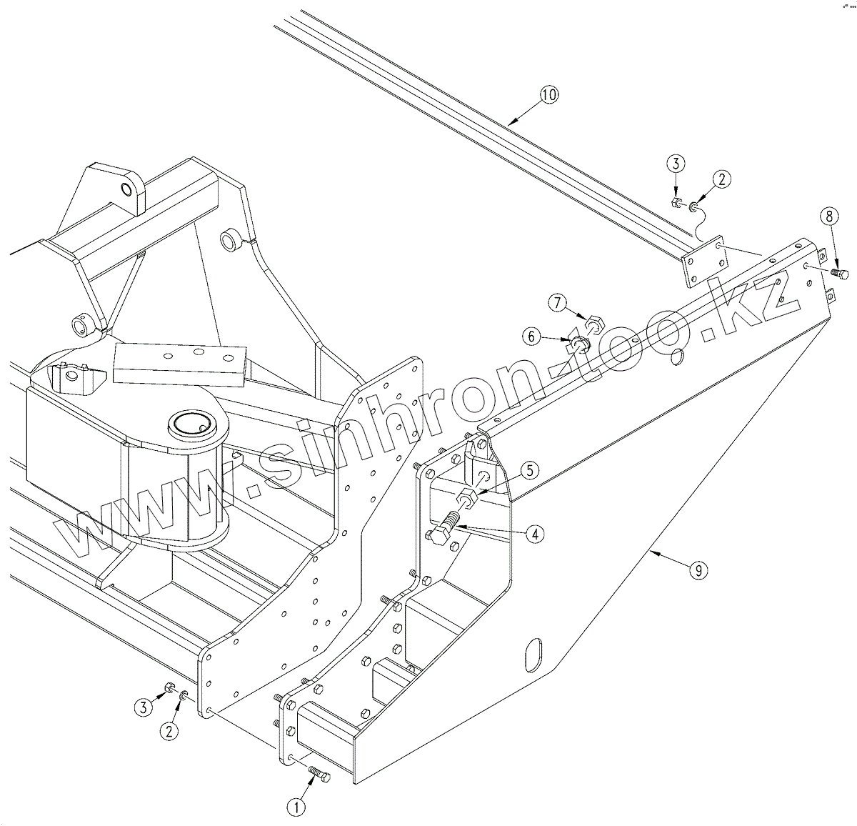
1
2
2
3
3
4
5
6
7
8
9
9
10
Позиция на иллюстрации
Заводской номер детали
Название детали
1
802-082C
HHCS
2
804-015C
WASHER LOCK SPRING
3
803-020C
NUT HEX
4
802-368C
HHCS 1-8X3 GR5
5
803-031C
NUT HEX
6
804-027C
WASHER LOCK SPRING 1 PLT
7
803-030C
NUT HEX JAM 1-8 PLT
8
802-034C
HHCS
9
196-477H
3N40HD LH WING FRAME EXTENSION
9
196-479H
3N40HD RH WING FRAME EXTENSION
10
196-490H
WALKBOARD TUBE WELDMENT
Содержащиеся в справочниках-каталогах запасные части и детали не предлагаются к продаже, а носят исключительно информационный характер
Дополнительная информация
×
Название:
Номер:
Примечание: