Каталог запасных частей к технике: Great Plains 1200, 1500, 2000. Agitator Assembly (Option)
1
2
3
4
5
5
6
6
7
7
8
8
8
8
9
9
9
9
9
10
10
10
10
10
11
11
11
12
13
13
14
14
15
15
16
16
17
18
18
18
19
20
21
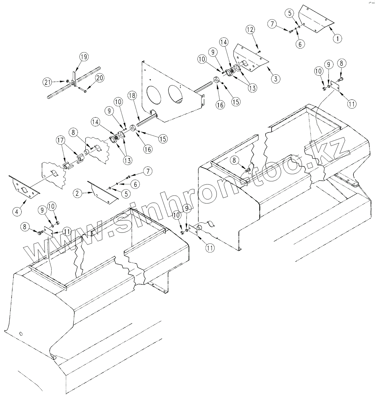
| Позиция на иллюстрации | Заводской номер детали | Название детали | |
|---|---|---|---|
| 1 | 118-486D | SEED BOX IDLER COVER LH | |
| 2 | 118-487D | SEED BOX IDLER COVER RH | |
| 3 | 118-488D | AGITATOR IDLER MOUNTAND COVER LH | |
| 4 | 118-489D | AGITATOR IDLER MOUNTAND COVER RH | |
| 5 | 804-011C | WASHER FLAT | |
| 6 | 804-013C | WASHER LOCK SPRING | |
| 7 | 802-079C | HHCS | |
| 8 | 802-092C | RHSNB | |
| 9 | 804-009C | WASHER LOCK SPRING | |
| 10 | 803-008C | NUT HEX | |
| 11 | 118-403D | BEARING CUTOUT COVER, 47 MST | |
| 12 | 802-282C | RHSNB | |
| 13 | 822-041C | FLANGETTE 47 MST | |
| 14 | 822-128C | BRG INS 3/4HEXX1.85OD SPH | |
| 15 | 801-035C | SCREW SET | |
| 16 | 118-494D | LOCK COLLAR 3/4 HEX BORE | |
| 17 | 118-418H | FLEX COUPLER SHORT 3/4HEX BORE | |
| 18 | 118-495D | AGITATOR SHAFT,3/4 HEX 12'BOX | |
| 18 | 118-496D | AGITATOR SHAFT,3/4 HEX 15'BOX | |
| 18 | 118-497D | AGITATOR SHAFT,3/4 HEX 20'BOX | |
| 19 | 118-493D | AGITATOR PADDLE 3/4 HEX | |
| 20 | 802-448C | HFSS 1/4-20X2 GR5 | |
| 21 | 803-088C | NUT HEX LOCK |
Содержащиеся в справочниках-каталогах запасные части и детали не предлагаются к продаже, а носят исключительно информационный характер