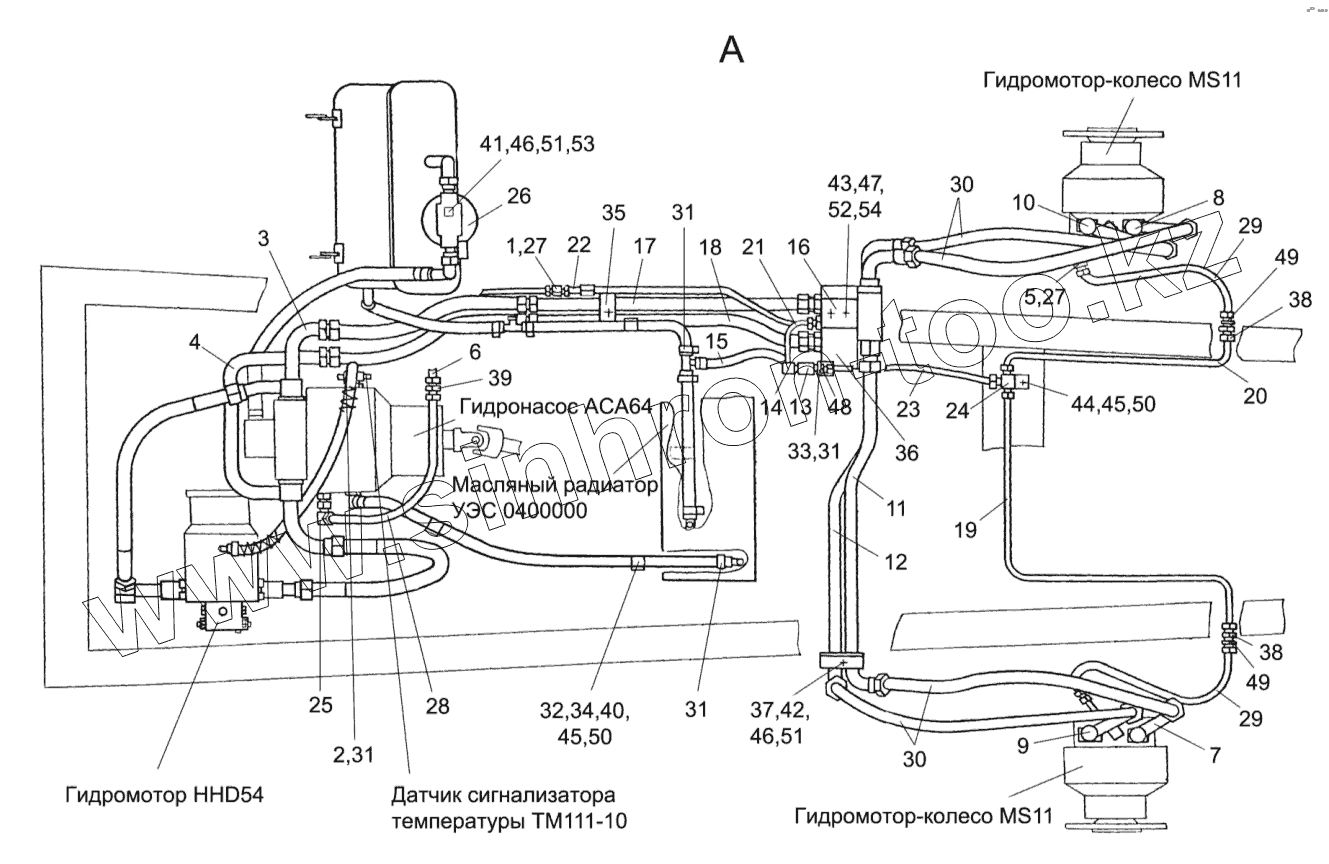
Каталог запасных частей к технике: Гомсельмаш УЭС-2-250А. Гидросистема привода ходовой части УЭС-7-0601000
УЭС-7-0601000
1
2
3
4
5
6
7
8
9
10
11
12
13
14
15
16
17
18
19
20
21
22
23
24
25
26
27
27
28
29
29
30
30
31
31
31
31
32
33
34
35
36
37
38
38
39
40
41
42
43
44
45
45
46
46
47
48
49
49
50
50
51
51
52
53
54
| Позиция на иллюстрации | Заводской номер детали | Название детали | |
|---|---|---|---|
| УЭС-7-0601000 | УЭС-7-0601000 | Гидросистема привода ходовой части | |
| 1 | УЭС-7-0601020 | Тройник | |
| 2 | УЭС-7-0601080 | Тройник | |
| 3 | УЭС-7-0601110 | Тройник | |
| 4 | УЭС-7-0601120 | Тройник | |
| 5 | УЭС-7-0601230 | Тройник | |
| 6 | УЭС-7-0601560 | Трубопровод | |
| 7 | УЭС-7-0601610 | Трубопровод | |
| 8 | УЭС-7-0601610-01 | Трубопровод | |
| 9 | УЭС-7-0601620 | Трубопровод | |
| 10 | УЭС-7-0601620-01 | Трубопровод | |
| 11 | УЭС-7-0601640 | Трубопровод | |
| 12 | УЭС-7-0601640-01 | Трубопровод | |
| 13 | УЭС-2-0605060 | Клапан дренажный | |
| 14 | УЭС-2-0605090 | Тройник | |
| 15 | УЭС-2-0605120 | Трубопровод | |
| 16 | УЭС-2-0605210 | Блок подключения управляемого моста | |
| 17 | УЭС-2-0605380 | Трубопровод | |
| 18 | УЭС-2-0605390 | Трубопровод | |
| 19 | УЭС-2-0605550 | Трубопровод | |
| 20 | УЭС-2-0605590 | Трубопровод | |
| 21 | УЭС-2-0605620 | Трубопровод | |
| 22 | УЭС-2-0605630 | Трубопровод | |
| 23 | УЭС-2-0605650 | Трубопровод | |
| 24 | УЭС-2-0605730 | Тройник | |
| 25 | ППК 0118070 | Угольник | |
| 26 | МКС 0108030 | Фильтр | |
| 27 | Н.036.12060 | Заглушка | |
| 28 | РВД6-1SN-1,5-600-800 | Рукав высокого давления | |
| 29 | РВД12-1SN-М20х1,5-60°-800 | Рукав высокого давления | |
| 30 | РВД20-4SН-М36х2-24°-1050 | Рукав высокого давления | |
| 31 | TORRO 20-39/9 C7 W2 | Зажим червячный | |
| 32 | УЭС-7-0601007 | Рукав 20х29-1,6-10362 | |
| 33 | УЭС-7-0601008 | Рукав 20х29-1,6-10362 | |
| 34 | УЭС-7-0601502 | Прижим | |
| 35 | УЭС-7-0601504 | Прижим | |
| 36 | УЭС-2-0605515 | Кронштейн | |
| 37 | УЭС-2-0605666 | Прижим | |
| 38 | УЭС 0602624-03 | Штуцер | |
| 39 | УЭС 0602624 | Штуцер | |
| 40 | Болт | Болт | |
| 41 | Болт | Болт | |
| 42 | Болт | Болт | |
| 43 | Болт | Болт | |
| 44 | Болт | Болт | |
| 45 | Гайка | Гайка | |
| 46 | Гайка | Гайка | |
| 47 | Гайка | Гайка | |
| 48 | Гайка | Гайка | |
| 49 | Гайка | Гайка | |
| 50 | Шайба | Шайба | |
| 51 | Шайба | Шайба | |
| 52 | Шайба | Шайба | |
| 53 | Шайба | Шайба | |
| 54 | Шайба | Шайба |
Содержащиеся в справочниках-каталогах запасные части и детали не предлагаются к продаже, а носят исключительно информационный характер