Вернуться на главную
Поиск
Каталоги запчастей к технике
Сельхозтехника
Гомсельмаш
УЭС-280
Вентилятор УЭС-8-0400170
Каталог запасных частей к технике: Гомсельмаш УЭС-280. Вентилятор УЭС-8-0400170
zoom-in
zoom-out
enlarge
shrink
circle-right
circle-left
file-text2
info
cart
Тип техники
Не выбрано
Легковые автомобили
Грузовые автомобили и прицепы
Автобусы
Сельхозтехника
Спецтехника
Двигатели
Мототехника
Марка
Не выбрано
AGCO
Amity
CASE IH
DongFeng
Fortschritt
Foton
Franz Kleine
Gaspardo
Great Plains
KRONE
KUHN
Lemken
Lovol
MacDon
Massey Ferguson
New Holland
TIGARBO
Vaderstad
Versatile
Wirax
Агро
Агротехмаш
Бобруйскагромаш (ОАО «УКХ «Бобруйскагромаш»)
БЭМЗ
ВгТЗ
Воронежсельмаш
ВТЗ
Гомсельмаш
ДКЗ
ЗАО "Техника-сервис"
ЗиД
КЗК
Кировец-Ландтехник
Клевер
Красная Звезда
Лидагропроммаш
Лидсельмаш
ЛТЗ
Машстройхолдинг
Минитракторы
Мордовагромаш
МТЗ
Навигатор-Новое машиностроение
Нефтекамский автозавод
ПТЗ
Ремком
РСМ
Сибсельмаш
ТеКЗ
ТКЗ
ХЗТСШ
ХТЗ
ЮМЗ
Модель
Не выбрано
FS80-2 (2017)
KЗС-812 (2016)
KЗС-812 (2017)
KЗС-812 (2018)
KЗС-812 (2021)
KЗС-812 (ПАЛЕССЕ GS812 PRO) (2022)
KЗС-812 (ПАЛЕССЕ GS812) (2021)
KС-100 (2020)
KС-100 (2021)
KС-100 (2022)
KС-150С (2022)
KС-200 (2017)
MS280F (2022)
ЖГР-4.5-1 (2011)
ЖГР-4.5-1 (2018)
ЖЗК-5-1 (2021)
ЖЗК-5-2 (2021)
ЖЗК-6-5 (2008)
ЖЗК-6-5 (2020)
ЖЗК-7-5 (2008)
ЖЗК-7-5 (2011)
ЖЗК-7-7 (2020)
ЖЗК-9 (2020)
ЖЗС-6, 7 (2010)
ЖЗС-9-1 (2018)
ЖЗС-9-2 (2018)
ЖЗС-9-2 (2020)
ЖЗС-9-2 (2021)
ЖР-5 (2021)
КВК-1-0900000 (2018)
КВК-1-0900000 (2021)
КВК-6025 (2015)
КВК-800 (FS80) (2017)
КВК-800 (FS80-2) (2010)
КВК-800 (FS80-2) (2014)
КВК-800 (FS80-5) (2013)
КВК-800 (FS80-5) (2016)
КВК-800 (FS80-7) (2017)
КВК-800 ПАЛЕССЕ FS80-2 (2019)
КВК-800-8 ПАЛЕССЕ FS80-8 (2018)
КВК-800-8 ПАЛЕССЕ FS80-8 (2021)
КВК-8060 (2012)
КВК-8060 (2017)
КВК-8060 (2021)
КВК-8060 (2021)
КВС-1-3900000 (2007)
КВС-4-3900000 (2010)
КГС-0200000 (2010)
КГС-0800000 (2010)
КГС-0900000 (2010)
КДП-3000 Палессе FT40 (2008)
КЗР-10 (2007)
КЗС-10К (ПОЛЕСЬЕ) (2005)
КЗС-10К Палессе GS10 (2012)
КЗС-10К Палессе GS10 (2013)
КЗС-10К Палессе GS10 (2018)
КЗС-10К Палессе GS10 (2021)
КЗС-1218 (ПАЛЕССЕ GS12) дополнение 1 (2020)
КЗС-1218 (ПАЛЕССЕ GS12) дополнение 2 (2020)
КЗС-1218 часть 1 (2013)
КЗС-1218 часть 2 (2013)
КЗС-1218А-1 (2015)
КЗС-1218А-1 (2018)
КЗС-1218А-1 (2019)
КЗС-1218А-1 (ПАЛЕССЕ GS12 А1) Дополнение (2020)
КЗС-1420 часть 1 (2014)
КЗС-1420 часть 2 (2014)
КЗС-1624-1 (2014)
КЗС-1624-1 (2017)
КЗС-2124КР (2018)
КЗС-3221КР ПАЛЕССЕ GH800 (2021)
КЗС-4118К ПАЛЕССЕ GS 4118 (2019)
КЗС-575 (2016)
КЗС-7 (2010)
КЗС-812 (2013)
КЗС-812С (2011)
КЗС-812С (2014)
КОК-6 (2011)
КОК-6-3, КОК-6-3-01, КОК-6-3-02 (2020)
КОК-8-2 (2012)
КОК-8-4 (2018)
КПК Полесье-3000
КПК Полесье-3000 (2006)
КПК-3000 (ПАЛЕССЕ FH40) (2010)
КПК-3000А (Палессе FH40A) (2010)
КПР-6 (2005)
КПР-9 Полесье-СН-90 (2006)
КСК-100А (2002)
КСК-100А-3 (2005)
КСК-600 (2007)
КСК-600 (2011)
КСК-600 (2015)
КСК-600 (2017)
КСК-600А (2020)
КСН-6 (2005)
ПЗ (2019)
ПКК-0200000А-06 (2010)
ПКК-0350000 (2010)
ПКК-0400000А (2010)
ПКК-0460000 (2010)
ПКК-1-0350000А (2010)
ПР (2019)
ПР-9 (2021)
Приспособление ПР-4 (2013)
СТВ-12 (2005)
УЭС Полесье-250 (2006)
УЭС-2-250А (2010)
УЭС-2-280А (2010)
УЭС-2-280А (2018)
УЭС-2-280А ПАЛЕССЕ 2U280А (2020)
УЭС-280 (2017)
УЭС-280 ПАЛЕССЕ U280 (2020)
Схема
>
Не выбрано
Средство энергетическое универсальное УЭС-280 «ПАЛЕССЕ U280» УЭС-8-0000000
Средство энергетическое универсальное УЭС-280 УЭС-8-0000000 (вид слева)
Средство энергетическое универсальное УЭС-280 УЭС-8-0000000 (вид справа)
Средство энергетическое универсальное УЭС-280 УЭС-8-0000000 (вид сзади)
Установка навесного устройства
Тяга верхняя УЭС 0104020А-01
Тяги УЭС 0104070А-01 и УЭС 0104070А-04
Установка вала поворотного УЭС 0104120-01
Раскос УЭС 0104180А-01
Стяжка УЭС0104200-01
Механизм фиксации УЭС 0104410
Механизм фиксации УЭС 0104410-02
Вал УЭС 0104420-01 и тяги УЭС 0104430
Гидроцилиндр УЭС 0602460А-01
Гидроцилиндр УЭС 0602460А-04
Шасси УЭС-8-0100000
Шасси УЭС-8-0100000
Мост ведущих колес УЭС 0107000, УЭС 0107000-03 и УЭС 0107000-04
Мост ведущих колес УЭС 0107000, УЭС 0107000-03 и УЭС 0107000-04
Установка трубопроводов моста ведущих колес УЭС 0300600Б
Редуктор бортовой правый УЭС 0107070А и УЭС 0107070-01
Редуктор бортовой правый УЭС 0107070А и УЭС 0107070А-01
Редуктор бортовой КЗК-10-0107200-03
Редуктор бортовой КЗК-10-0107200-03. Корпуса и крышки
Редуктор бортовой КЗК-10-0107200-03. Валы и шестерни
Гидроцилиндр тормоза МК-23М.03.220А
Редуктор бортовой левый УЭС 0107150 и УЭС 0107150-01
Редуктор бортовой левый УЭС 0107150 и УЭС 0107150-01
Редуктор бортовой КЗК-10-0107200-02
Редуктор бортовой КЗК-10-0107200-02
Коробка диапазонов 3518020-46150 (корпус, крышки)
Коробка диапазонов 3518020-46150 (валы, шестерни)
Дифференциал 3518020-43190
Механизм переключения диапазонов 3518020-46160
Гидроцилиндр блокировки диапазонов 3518020-46330
Диски нажимные МК-23М.03.030А
Водило МК-23М.03.160
Колесо зубчатое МК-23М.03.210
Муфта КВС-1-0107050
Установка колес моста управляемых колес
Мост управляемых колес УЭС 0109000 (установка поворотных кулаков)
Мост управляемых колес УЭС 0109000 (установка гидроцилиндра и рулевой тяги)
Мост управляемых колес УЭС 0109000 (установка ступиц)
Гидроцилиндр УЭС 0109040
Тяга рулевая УЭС-7-0109060
Привод вала отбора мощности УЭС 0115000-01
Установка редуктора УЭС 0120000
Редуктор цилиндрический УЭС 0108000А (корпус, крышки)
Редуктор цилиндрический УЭС 0108000А (валы, шестерни)
Вал отбора мощности УЭС 0115000
Гидроцилиндр УЭС-7-0602950
Гидромотор УЭС 0601020
Установка тягово-сцепного устройства УЭС 0003150
Устройство тягово-сцепное УЭС 0003150
Кабина УЭС 0200000-01 (установка крыши)
Установка поручня и трапа
Установка зеркала УЭС 0000250 и УЭС 0000250-01
Кабина УЭС 0200000-01 (обивка)
Кабина УЭС 0200000-01 (уплотнители и стекла)
Установка форточки УЭС 0200320-01
Дверь кабины УЭС 0200240А-01
Фиксатор УЭС 0200800
Установка зеркала УЭС 0200720 и шкафа электрического УЭС 1000080-01
Зеркало УЭС 0200720 и УЭС 0200720-01
Установка стеклоочистителя УЭС 0201450
Установка стеклоочистителя УЭС 0201460
Шкаф электрический УЭС 1000080-01
Кабина УЭС 0200000-01 (панель передняя, крышки, маска)
Крышка УЭС0200570-01
Крышка УЭС 0200580-01
Вентилятор УЭС 0200780
Электрооборудование кабины УЭС 0200000-01
Площадка управления УЭС-8-0300000
Установка трубопроводов площадки управления
Привод УЭС 0300610А
Установка колонки привода УЭС 0300710-01
Колонка привода УЭС 0300710-01
Рулевая колонка УЭС 0300100-01
Установка колеса рулевого КЗК-12-0122600 или КЗК-12-0122600-01
Колесо рулевое УЭС 0302560
Зажим УЭС 0302540
Электрооборудование колонки рулевой УЭС 0300100-01
Установка насоса-дозатора УЭС 0602350
Насос-дозатор УЭС 0602350
Насос-дозатор УЭС 0603740А
Редуктор УЭС 0300110-01
Вал УЭС 0300120
Пульт управления УЭС-8-0301000
Крышки пульта управления
Вентилятор УЭС 0301310
Блок радиаторов УЭС 0301430-01
Привод УЭС 0300860-01 пульта управления
Привод УЭС 0300970-01 пульта управления
Привод остановки двигателя
Панель управления УЭС 0700450А
Установка сиденья
Пульт контроля УЭС-8-0300300
Щиток приборов УЭС-8-0700120
Установка двигателя ЯМЗ-238БК-3 УЭС-8-0400000
Двигатель УЭС-8-0400010
Двигатель УЭС-8-0400010
Радиатор УЭС-8-0400020А
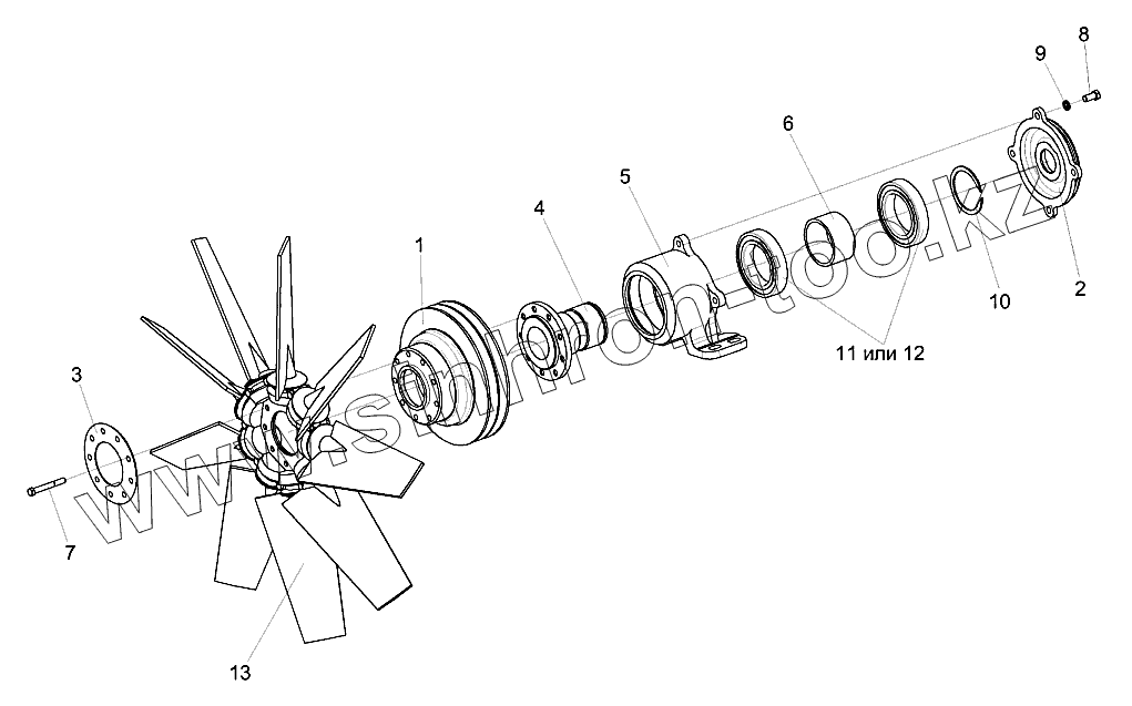
Вентилятор УЭС-8-0400170
Главный привод УЭС-6-0400030
Проставка УЭС-6-0400040
Привод гидронасоса УЭС-6-0400070А
Диск ведомый УЭС-6-0400130
Рычаг УЭС-6-0400450
Электрооборудование двигателя
Крыша капота УЭС-8-1100010
Бачок расширительный УЭС-6-0400090
Воздухозаборник вращающийся 31-12С3-1А
Воздухоочиститель УЭС-6-1100200-04
Воздухоочиститель УЭС-6-0400600А
Капоты
Установка бака топливного УЭС-8-0500000
Установка ящика инструментального УЭС 1001260-01
Установка тросов управления двигателем УЭС-8-0300010
Гидросистема привода ходовой части УЭС 601000А-01
РВД25-4SP-SAEj518-800-00-900
Бак масляный УЭС 0601650
Фильтр УЭС-7-0601850
Гидросистема рулевого управления и силовых гидроцилиндров УЭС-8-0602000 (вид справа)
Гидросистема рулевого управления и силовых гидроцилиндров УЭС-8-0602000 (вид слева)
Фильтр УЭС 0602190-01
Фильтр УЭС 0603570-01
Бак масляный УЭС 0603190
Гидроблок управления УЭС 0603490
Фильтр напорный КЗК-12-0602570
Установка привода гидронасоса УЭС 1200000А-01
Привод гидронасоса УЭС 1200000А-01
Привод УЭС 1200010А
Установка привода гидронасоса НШ32М-4Л УЭС-8-0161000
Привод гидронасоса НШ32М-4Л УЭС-8-0161010
Электрооборудование энергосредства (вид сбоку)
Электрооборудование энергосредства (вид сверху)
Электрооборудование шкафа электрического
Установка аккумуляторов УЭС 0124040 и УЭС 0124040-01
Пневмосистема УЭС-8-0800000
Ресивер УЭС-3-0800040
Регулятор давления УЭС-6-0800090
1
2
3
4
5
6
7
8
9
10
11
12
13
Позиция на иллюстрации
Заводской номер детали
Название детали
УЭС-8-0400170
УЭС-8-0400170
Вентилятор
УЭС-8-0400180
УЭС-8-0400180
Привод вентилятора
1
УЭС-8-0400101
Шкив
2
УЭС-8-0400103
Крышка
3
УЭС-8-0400404
Крышка
4
УЭС-8-0400603
Вал
5
УЭС-7-0400115А
Опора
6
УЭС-7-0400811
Втулка
7
БолтМ8-6ех65-7796
Болт М8-6ех65-7796
8
БолтМ10-6ех20-7796
Болт М10-6ех20-7796
9
Шайба10Т.65Г-6402
Шайба 10Т.65Г-6402
10
В70-13940
Кольцо В70-13940
11
6014-2RS1/C3
Подшипник 6014-2RS1/C3
12
60142RSC3
Подшипник
13
750/9-9/P4ZR/40/PAG/74,75
Вентилятор 750/9-9/P4ZR/40/PAG/74,75
Содержащиеся в справочниках-каталогах запасные части и детали не предлагаются к продаже, а носят исключительно информационный характер
Дополнительная информация
×
Название:
Номер:
Примечание: