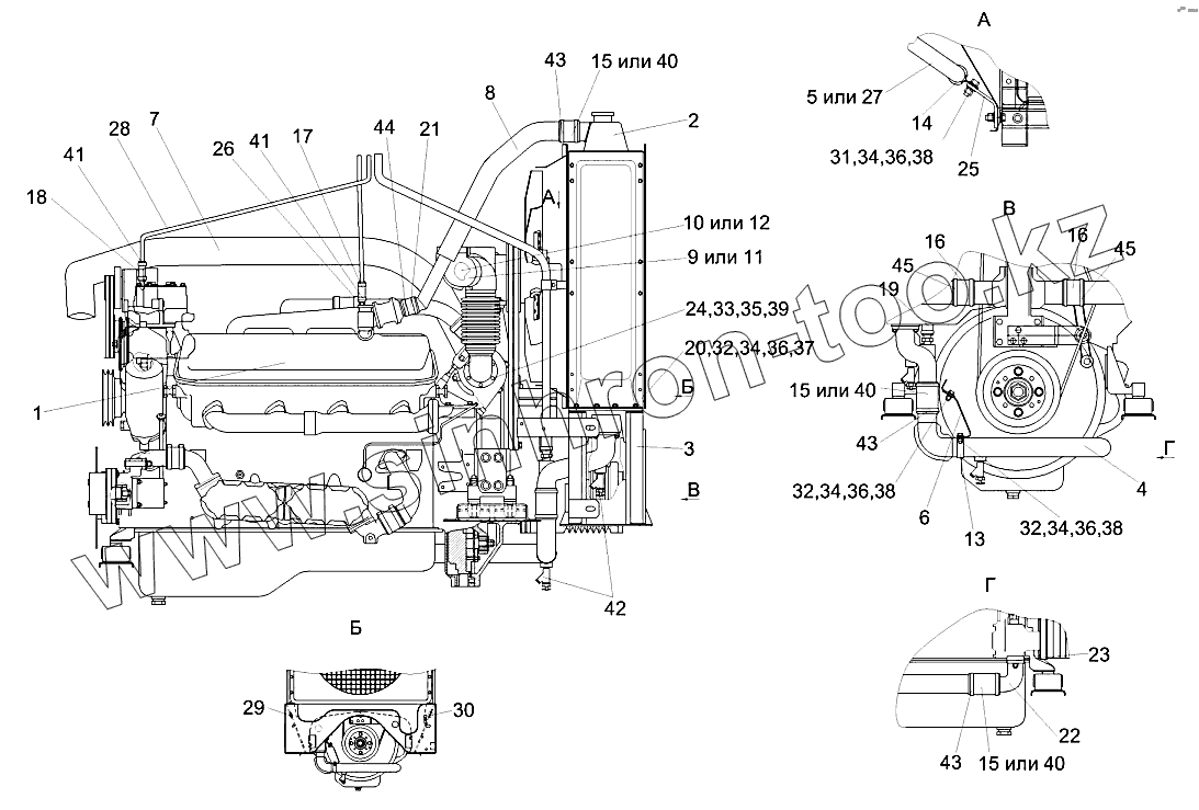
Каталог запасных частей к технике: Гомсельмаш УЭС-280. Установка двигателя ЯМЗ-238БК-3 УЭС-8-0400000
1
2
3
4
5
6
7
8
9
10
11
12
13
14
15
15
15
16
16
17
18
19
20
21
22
23
24
25
26
27
28
29
30
31
32
32
32
33
34
34
34
34
35
36
36
36
36
37
38
38
38
39
40
40
40
41
41
42
43
43
43
44
45
45
| Позиция на иллюстрации | Заводской номер детали | Название детали | |
|---|---|---|---|
| УЭС-8-0400000 | УЭС-8-0400000 | Установка двигателя | |
| 1 | УЭС-8-0400010 | Двигатель | |
| 2 | УЭС-8-0400020А | Радиатор | |
| 3 | УЭС-8-0400330 | Рамка подрадиаторная | |
| 4 | УЭС-6-0400220 | Труба водяная нижняя | |
| 5 | УЭС-6-0400230 | Трубка водяная | |
| 6 | УЭС-6-0400290 | Кронштейн | |
| 7 | УЭС-6-0400390А | Труба воздушная впускная | |
| 8 | УЭС-6-0400400 | Труба отводная | |
| 9 | УЭС-6-0400470 | Труба выпускная левая | |
| 10 | УЭС-6-0400480 | Труба выпуская правая | |
| 11 | УЭС-6-0400640 | Труба выпускная левая | |
| 12 | УЭС-6-0400650 | Труба выпуская правая | |
| 13 | УЭС-7-0401750 | Хомут | |
| 14 | УЭС0301190 | Скоба | |
| 15 | КЗК-12-3-0106015 | Рукав 60х73-0,49-10362 | |
| 16 | КЗК-8-1-0106001 | Рукав | |
| 17 | КПС-4-0126008 | Рукав | |
| 18 | УЭС-8-0400002 | Рукав 12х20-1,6-10362 | |
| 19 | УЭС-8-0400003 | Рукав | |
| 20 | УЭС-8-0400402 | Пластина | |
| 21 | УЭС-6-0400022 | Рукав | |
| 22 | УЭС-6-0400117 | Патрубок | |
| 23 | УЭС-6-0400011 | Прокладка | |
| 24 | УЭС-6-0400018 | Прокладка | |
| 25 | УЭС-6-0400501 | Кронштейн | |
| 26 | УЭС-6-0400616 | Штуцер | |
| 27 | УЭС-6-0400802 | Труба водяная | |
| 28 | УЭС-6-0400806 | Трубка воздушная | |
| 29 | МКС0100081 | Уплотнение нижнее | |
| 30 | МКС0100081-01 | Уплотнение нижнее | |
| 31 | БолтМ10-6ех30-7796 | Болт М10-6ех30-7796 | |
| 32 | БолтМ10-6ех35-7796 | Болт М10-6ех35-7796 | |
| 33 | ГайкаМ8-6G-5915 | Гайка М8-6G-5915 | |
| 34 | ГайкаМ10-6G-5915 | Гайка М10-6G-5915 | |
| 35 | Шайба8Т.65Г-6402 | Шайба 8Т.65Г-6402 | |
| 36 | Шайба10Т.65Г-6402 | Шайба 10Т.65Г-6402 | |
| 37 | ШайбаА10.01-6958 | Шайба А10.01-6958 | |
| 38 | ШайбаС.10.01-11371 | Шайба С.10.01-11371 | |
| 39 | Шпилька2М8-6ех25-22034 | Шпилька 2М8-6ех25-22034 | |
| 40 | 60-71-100-0,2(2) | Рукав-деталь | |
| 41 | TORRO16-27/9C7W2 | Хомут червячный | |
| 42 | ВС11-0 | Кран | |
| 43 | GBCM71/25W2 | Хомут без компенсатора | |
| 44 | TORRO40-60/9C7W2 | Хомут червячный | |
| 45 | TORRO70-90/9C7W2 | Хомут червячный |
Содержащиеся в справочниках-каталогах запасные части и детали не предлагаются к продаже, а носят исключительно информационный характер