Вернуться на главную
Поиск
Каталоги запчастей к технике
Сельхозтехника
Гомсельмаш
MS280F
Привод вентилятора УЭС-6-1-0400200
Каталог запасных частей к технике: Гомсельмаш MS280F. Привод вентилятора УЭС-6-1-0400200
zoom-in
zoom-out
enlarge
shrink
circle-right
circle-left
file-text2
info
cart
Тип техники
Не выбрано
Легковые автомобили
Грузовые автомобили и прицепы
Автобусы
Сельхозтехника
Спецтехника
Двигатели
Мототехника
Марка
Не выбрано
AGCO
Amity
CASE IH
DongFeng
Fortschritt
Foton
Franz Kleine
Gaspardo
Great Plains
KRONE
KUHN
Lemken
Lovol
MacDon
Massey Ferguson
New Holland
TIGARBO
Vaderstad
Versatile
Wirax
Агро
Агротехмаш
Бобруйскагромаш (ОАО «УКХ «Бобруйскагромаш»)
БЭМЗ
ВгТЗ
Воронежсельмаш
ВТЗ
Гомсельмаш
ДКЗ
ЗАО "Техника-сервис"
ЗиД
КЗК
Кировец-Ландтехник
Клевер
Красная Звезда
Лидагропроммаш
Лидсельмаш
ЛТЗ
Машстройхолдинг
Минитракторы
Мордовагромаш
МТЗ
Навигатор-Новое машиностроение
Нефтекамский автозавод
ПТЗ
Ремком
РСМ
Сибсельмаш
ТеКЗ
ТКЗ
ХЗТСШ
ХТЗ
ЮМЗ
Модель
Не выбрано
FS80-2 (2017)
KЗС-812 (2016)
KЗС-812 (2017)
KЗС-812 (2018)
KЗС-812 (2021)
KЗС-812 (ПАЛЕССЕ GS812 PRO) (2022)
KЗС-812 (ПАЛЕССЕ GS812) (2021)
KС-100 (2020)
KС-100 (2021)
KС-100 (2022)
KС-150С (2022)
KС-200 (2017)
MS280F (2022)
ЖГР-4.5-1 (2011)
ЖГР-4.5-1 (2018)
ЖЗК-5-1 (2021)
ЖЗК-5-2 (2021)
ЖЗК-6-5 (2008)
ЖЗК-6-5 (2020)
ЖЗК-7-5 (2008)
ЖЗК-7-5 (2011)
ЖЗК-7-7 (2020)
ЖЗК-9 (2020)
ЖЗС-6, 7 (2010)
ЖЗС-9-1 (2018)
ЖЗС-9-2 (2018)
ЖЗС-9-2 (2020)
ЖЗС-9-2 (2021)
ЖР-5 (2021)
КВК-1-0900000 (2018)
КВК-1-0900000 (2021)
КВК-6025 (2015)
КВК-800 (FS80) (2017)
КВК-800 (FS80-2) (2010)
КВК-800 (FS80-2) (2014)
КВК-800 (FS80-5) (2013)
КВК-800 (FS80-5) (2016)
КВК-800 (FS80-7) (2017)
КВК-800 ПАЛЕССЕ FS80-2 (2019)
КВК-800-8 ПАЛЕССЕ FS80-8 (2018)
КВК-800-8 ПАЛЕССЕ FS80-8 (2021)
КВК-8060 (2012)
КВК-8060 (2017)
КВК-8060 (2021)
КВК-8060 (2021)
КВС-1-3900000 (2007)
КВС-4-3900000 (2010)
КГС-0200000 (2010)
КГС-0800000 (2010)
КГС-0900000 (2010)
КДП-3000 Палессе FT40 (2008)
КЗР-10 (2007)
КЗС-10К (ПОЛЕСЬЕ) (2005)
КЗС-10К Палессе GS10 (2012)
КЗС-10К Палессе GS10 (2013)
КЗС-10К Палессе GS10 (2018)
КЗС-10К Палессе GS10 (2021)
КЗС-1218 (ПАЛЕССЕ GS12) дополнение 1 (2020)
КЗС-1218 (ПАЛЕССЕ GS12) дополнение 2 (2020)
КЗС-1218 часть 1 (2013)
КЗС-1218 часть 2 (2013)
КЗС-1218А-1 (2015)
КЗС-1218А-1 (2018)
КЗС-1218А-1 (2019)
КЗС-1218А-1 (ПАЛЕССЕ GS12 А1) Дополнение (2020)
КЗС-1420 часть 1 (2014)
КЗС-1420 часть 2 (2014)
КЗС-1624-1 (2014)
КЗС-1624-1 (2017)
КЗС-2124КР (2018)
КЗС-3221КР ПАЛЕССЕ GH800 (2021)
КЗС-4118К ПАЛЕССЕ GS 4118 (2019)
КЗС-575 (2016)
КЗС-7 (2010)
КЗС-812 (2013)
КЗС-812С (2011)
КЗС-812С (2014)
КОК-6 (2011)
КОК-6-3, КОК-6-3-01, КОК-6-3-02 (2020)
КОК-8-2 (2012)
КОК-8-4 (2018)
КПК Полесье-3000
КПК Полесье-3000 (2006)
КПК-3000 (ПАЛЕССЕ FH40) (2010)
КПК-3000А (Палессе FH40A) (2010)
КПР-6 (2005)
КПР-9 Полесье-СН-90 (2006)
КСК-100А (2002)
КСК-100А-3 (2005)
КСК-600 (2007)
КСК-600 (2011)
КСК-600 (2015)
КСК-600 (2017)
КСК-600А (2020)
КСН-6 (2005)
ПЗ (2019)
ПКК-0200000А-06 (2010)
ПКК-0350000 (2010)
ПКК-0400000А (2010)
ПКК-0460000 (2010)
ПКК-1-0350000А (2010)
ПР (2019)
ПР-9 (2021)
Приспособление ПР-4 (2013)
СТВ-12 (2005)
УЭС Полесье-250 (2006)
УЭС-2-250А (2010)
УЭС-2-280А (2010)
УЭС-2-280А (2018)
УЭС-2-280А ПАЛЕССЕ 2U280А (2020)
УЭС-280 (2017)
УЭС-280 ПАЛЕССЕ U280 (2020)
Схема
>
Не выбрано
Средство универсальное мобильное УМС-1-0000010 (вид справа)
Средство универсальное мобильное УМС-1-0000010 (вид слева)
Средство универсальное мобильное УМС-1-0000010 (вид сзади)
Средство универсальное мобильное УМС-1-0000010 (вид спереди)
Установка навески (кормоуборка)
Установка вала поворотного УЭС-7-0104020А
Вал УЭС-7-0104130 и тяги УЭС-7-0104120
Механизм фиксации УЭС-7-0104140А
Механизм фиксации УЭС-7-0104140А-02
Раскос УЭС-7-0104180А
Стяжка УЭС-7-1000250
Тяга верхняя УЭС 0104020А-01
Тяга УЭС 0104070А-01 и тяга УЭС 0104070А-04
Стяжка УЭС 0104200
Крыша капота УЭС-6-1-1100000
Коробка УЭС-7-1100180А
Установка противовесов УМС 0003010 и УЭС 0000191Б-01
Установка противовесов КСН-2-0013010
Вентилятор УЭС-7-0170000
Шкив УЭС-7-0170110
Шасси УМС-1-0100000
Шасси УМС-1-0100000
Мост ведущий УМС 0107000
Мост ведущий УЭС-7-0107000
Мост ведущий УЭС-7-0107000
Редуктор бортовой правый УЭС 0107070А-06
Редуктор бортовой правый УЭС 0107070А-06
Редуктор бортовой левый УЭС 0107150-05
Редуктор бортовой левый УЭС 0107150-05
Диски нажимные МК-23М.03.030А
Водило МК-23М.03.160
Колесо зубчатое МК-23М.03.210
Гидроцилиндр тормоза МК-23М.03.220А
Муфта КВС-1-0107050
Коробка диапазонов КЗК-8-0107530 (корпус, крышки)
Коробка диапазонов КЗК-8-0107530 (валы, шестерни)
Дифференциал КЗК-8-0107540
Механизм переключения передач КЗК-8-0107560
Гидроцилиндр КЗК-12-0107200
Установка колес моста управляемых колес
Мост управляемых колес УМС 0109010 (установка поворотных кулаков)
Мост управляемых колес УМС 0109000 (установка рулевой тяги)
Мост управляемых колес УМС 0109000 (установка гидроцилиндров)
Тяга рулевая УЭС-7-0109060
Гидроцилиндр УЭС-7-0109200-01
Привод вала отбора мощности УМС 0115000
Вал отбора мощности УМС 0115000
Установка редуктора УЭС-7-0120000
Редуктор цилиндрический УЭС 0108000А (корпус, крышки)
Редуктор цилиндрический УЭС 0108000А (валы, шестерни)
Устройство тягово-сцепное УЭС-7-0003130
Устройство тягово-сцепное УЭС 0003150
Гидроцилиндр УЭС-7-0602950
Гидромотор УЭС-6-0601200
Установка трубопроводов управления моста ведущих колес УЭС-7-0300600
Кабина УЭС-6-2-0200000 (общий вид)
Кабина УЭС-6-2-0200000
Кабина УЭС-6-2-0200000
Установка крышки УЭС-7-0200220-02 и уголка УЭС-7-0200070
Установка крыши УЭС 0201430
Установка трапа УЭС-7-1000030А
Установка поручня УЭС-7-1000050
Установка форточки УЭС 0200320-03
Установка боковины УЭС 0200360
Установка зеркал УЭС 0200720 и УЭС 0200720-01
Дверь УЭС-6-2-0200020
Фиксатор УЭС 0200800
Установка уплотнителей и стекол кабины
Установка стеклоочистителя УЭС 0201450
Шкаф электрический УЭС 1000080-01
Установка электрооборудования кабины УЭС-6-2-0722000
Установка климатическая УЭС-6-2-0151000
Установка оборудования кондиционера УЭС-6-2-0151000
Установка конденсатора УЭС-6-0151020
Установка испарителя УЭС-6-2-0151020
Установка крана отопителя КВК-6-0121090
Установка блока управления КВК-6-0121100
Площадка управления УЭС-6-2-0300000 (вид сбоку)
Площадка управления УЭС-6-2-0300000 (вид сверху)
Рулевая колонка УЭС-6-2-0300100
Установка насоса-дозатора УЭС-7-0603200
Редуктор УЭС 0300110
Насос-дозатор УЭС-7-0603200
Установка колеса рулевого КЗК-12-0122600
Колесо рулевое КЗК-12-0122300
Устройство тормозной системы
Привод УЭС-7-0300610
Колонка привода УЭС 0300710
Пульт управления УЭС-6-2-0300050
Пульт управления УЭС-6-2-0301000
Крышки пульта управления
Привод УЭС 0300860
Привод УЭС 0300970
Панель управления УЭС-6-2-0700450
Пульт контроля УЭС-6-2-0300300
Щиток приборов УЭС-6-2-0700120
Механизм переключения передач
Кронштейн УЭС 0300230-01 с рычагом УЭС 0300880-01 механизма переключения передач
Блок переключения УЭС-7-0300290
Установка тросов управления двигателем УЭС-6-0300010
Установка двигателя УЭС-6-1-0400000
Установка двигателя УЭС-6-1-0400000 (лист 1)
Установка двигателя УЭС-6-1-0400000 (лист 2)
Двигатель УЭС-6-1-0400010
Двигатель УЭС-6-1-0400010
Двигатель УЭС-6-1-0400010
Главный привод УЭС-6-0400030
Проставка УЭС-6-0400040
Маслопровод УЭС-6-0400110
Установка сливного рукава УЭС-6-1-0400120
Диск ведомый УЭС-6-0400130
Рычаг УЭС-6-0400450
Компрессор УЭС-7-0200480
Пружина УЭС-7-0400500А
Установка радиатора УЭС-6-1-0400040
Радиатор УЭС-6-1-0400050
Воздухозаборник УЭС-6-1-0400100
Пылесъемник КЗК-12-3-0112130А
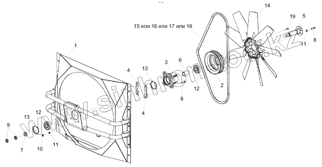
Привод вентилятора УЭС-6-1-0400200
Установка бачка расширительного УЭС-6-1-0400070
Установка воздухоочистителя УЭС-6-1-0400080
Воздухозаборник вращающийся КЗК-12-3-0126420
Установка фильтра очистки топлива
Установка бака топливного УЭС-6-0500000
Установка привода гидронасоса УЭС-7-1200000-02
Привод гидронасоса НШ-32 УЭС-7-0161000
Привод гидронасоса УЭС-7-1200000-02
Привод УЭС-7-1200010
Пружина КЗР 0202780А-02
Установка светоотражающих панелей УЭС-7-1001600
Установка ограждения УЭС 0202020
Установка защиты УМС 0126000
Гидросистема УЭС-6-2-0600000
Гидросистема привода ходовой части УЭС-6-0601000 (вид сбоку)
Гидросистема привода ходовой части УЭС-6-0601000 (вид сверху)
Тройник УЭС 0601520
Бак масляный УЭС 0601650
Клапан дренажный УЭС-2-0605060
Гидроблок подключения управляемого моста УЭС-7-0601300
Блок подключения управляемого моста УЭС-2-0605210
Фильтр УЭС-7-0601850
Гидросистема рулевого управления и силовых гидроцилиндров УЭС-7-0602000-02
Гидросистема рулевого управления и силовых гидроцилиндров УЭС-7-0602000-02
Гидросистема рулевого управления и силовых гидроцилиндров УЭС-7-0602000-02
Бак масляный УЭС-7-0602040А
Гидроблок УЭС-7-0602100
Пневмогидроаккумулятор УЭС-7-0602470 и УЭС-7-0602470-02
Фильтр УЭС-7-0602630
Фильтр УЭС 0603570-01
Фильтр напорный КЗК-12-0602570-01
Фильтр напорный ФСК-20-МА ФСК 0000010
Манометр УЭС-7-0602810
Полумуфта наружная УЭС-7-0603040
Клапан приоритетный УЭС-7-0603210
Полумуфта внутренняя УЭС 0603090-02
Гидроцилиндр УЭС-7-0602200
Пневмосистема УЭС-6-0800000
Установка регуляторов давления УЭС-6-0800140 и УЭС-6-0800140-01
Установка клапана УЭС 0800240, головка соединительная УЭС 0800260 и установка датчика УЭС 0800680
Ресивер УЭС-3-0800040
Установка электрооборудования УЭС-6-2-0721000 (вид сбоку)
Установка электрооборудования УЭС-6-2-0721000 (вид сверху)
Установка аккумуляторов УЭС 0124040 и УЭС 0124040-01
Батарея аккумуляторная с переходниками КЗК 0705190
Установка электрооборудования УЭС-6-2-0721000
Фонарь передний УЭС 0700910 и УЭС 0700910-02
Фонарь передний УЭС 0700930 и УЭС 0700930-02
Установка электрооборудования колонки рулевой УЭС-6-2-0723000
Установка электрооборудования двигателя УЭС-6-1-0726000
Установка электрооборудования панели управления УЭС-6-2-0725000 (лист 1)
Установка электрооборудования панели управления УЭС-6-2-0725000 (лист 2)
Ящик инструментальный УЭС 1001260-01
1
2
3
4
4
4
4
4
4
5
6
7
8
8
9
10
11
11
12
12
13
13
14
15
16
17
18
19
Позиция на иллюстрации
Заводской номер детали
Название детали
КЗК 0106360
КЗК 0106360
Корпус
КЗК 0106370А
КЗК 0106370А
Привод вентилятора
УЭС-6-1-0400200
УЭС-6-1-0400200
Привод Вентилятор
1
УЭС-6-1-0400210
Диффузор
2
УЭС-6-1-0400101
Шкив
3
КЗК 0106104
Корпус
4
КЗК 0106468
Прокладка
4
КЗК 0106468-01
Прокладка регулировочная
5
КЗК 0106616А
Вал
6
КЗК 0106824
Втулка
7
УЭС 0100405
Шайба
8
Болт М10-6eх40-7796
Болт М10-6eх40-7796
9
Гайка М22х1,5-LH-6H-2526
Гайка
10
Гайка М10-6G-5915
Гайка М10-6G-5915
11
Шайба 10Т 65Г-6402
Шайба 10Т 65Г-6402
12
Подшипник 180307 - 8882
Подшипник
13
Кольцо В80-13943
Кольцо В80-13943
14
Вентилятор 770/9-9/P4ZR/40/PAG/74,75
Вентилятор
15
Ремень SPB 2240 Ld
Ремень
16
Ремень PHG SPB 2240
Ремень
17
Ремень SPB 2240
Ремень
18
Ремень SPB 2240 Lw
Ремень
19
Болт DIN 6921-М8Х25-8.8-А-А3G
Болт
Содержащиеся в справочниках-каталогах запасные части и детали не предлагаются к продаже, а носят исключительно информационный характер
Дополнительная информация
×
Название:
Номер:
Примечание: