Вернуться на главную
Поиск
Каталоги запчастей к технике
Сельхозтехника
Гомсельмаш
КЗС-812С
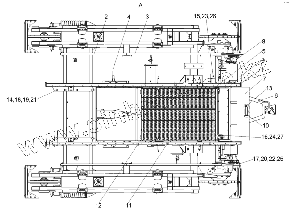
Шасси КЗК-812С-2-0111000 (вид сверху)
Каталог запасных частей к технике: Гомсельмаш КЗС-812С. Шасси КЗК-812С-2-0111000 (вид сверху)
zoom-in
zoom-out
enlarge
shrink
circle-right
circle-left
file-text2
info
cart
Тип техники
Не выбрано
Легковые автомобили
Грузовые автомобили и прицепы
Автобусы
Сельхозтехника
Спецтехника
Двигатели
Мототехника
Марка
Не выбрано
AGCO
Amity
CASE IH
DongFeng
Fortschritt
Foton
Franz Kleine
Gaspardo
Great Plains
KRONE
KUHN
Lemken
Lovol
MacDon
Massey Ferguson
New Holland
TIGARBO
Vaderstad
Versatile
Wirax
Агро
Агротехмаш
Бобруйскагромаш (ОАО «УКХ «Бобруйскагромаш»)
БЭМЗ
ВгТЗ
Воронежсельмаш
ВТЗ
Гомсельмаш
ДКЗ
ЗАО "Техника-сервис"
ЗиД
КЗК
Кировец-Ландтехник
Клевер
Красная Звезда
Лидагропроммаш
Лидсельмаш
ЛТЗ
Машстройхолдинг
Минитракторы
Мордовагромаш
МТЗ
Навигатор-Новое машиностроение
Нефтекамский автозавод
ПТЗ
Ремком
РСМ
Сибсельмаш
ТеКЗ
ТКЗ
ХЗТСШ
ХТЗ
ЮМЗ
Модель
Не выбрано
FS80-2 (2017)
KЗС-812 (2016)
KЗС-812 (2017)
KЗС-812 (2018)
KЗС-812 (2021)
KЗС-812 (ПАЛЕССЕ GS812 PRO) (2022)
KЗС-812 (ПАЛЕССЕ GS812) (2021)
KС-100 (2020)
KС-100 (2021)
KС-100 (2022)
KС-150С (2022)
KС-200 (2017)
MS280F (2022)
ЖГР-4.5-1 (2011)
ЖГР-4.5-1 (2018)
ЖЗК-5-1 (2021)
ЖЗК-5-2 (2021)
ЖЗК-6-5 (2008)
ЖЗК-6-5 (2020)
ЖЗК-7-5 (2008)
ЖЗК-7-5 (2011)
ЖЗК-7-7 (2020)
ЖЗК-9 (2020)
ЖЗС-6, 7 (2010)
ЖЗС-9-1 (2018)
ЖЗС-9-2 (2018)
ЖЗС-9-2 (2020)
ЖЗС-9-2 (2021)
ЖР-5 (2021)
КВК-1-0900000 (2018)
КВК-1-0900000 (2021)
КВК-6025 (2015)
КВК-800 (FS80) (2017)
КВК-800 (FS80-2) (2010)
КВК-800 (FS80-2) (2014)
КВК-800 (FS80-5) (2013)
КВК-800 (FS80-5) (2016)
КВК-800 (FS80-7) (2017)
КВК-800 ПАЛЕССЕ FS80-2 (2019)
КВК-800-8 ПАЛЕССЕ FS80-8 (2018)
КВК-800-8 ПАЛЕССЕ FS80-8 (2021)
КВК-8060 (2012)
КВК-8060 (2017)
КВК-8060 (2021)
КВК-8060 (2021)
КВС-1-3900000 (2007)
КВС-4-3900000 (2010)
КГС-0200000 (2010)
КГС-0800000 (2010)
КГС-0900000 (2010)
КДП-3000 Палессе FT40 (2008)
КЗР-10 (2007)
КЗС-10К (ПОЛЕСЬЕ) (2005)
КЗС-10К Палессе GS10 (2012)
КЗС-10К Палессе GS10 (2013)
КЗС-10К Палессе GS10 (2018)
КЗС-10К Палессе GS10 (2021)
КЗС-1218 (ПАЛЕССЕ GS12) дополнение 1 (2020)
КЗС-1218 (ПАЛЕССЕ GS12) дополнение 2 (2020)
КЗС-1218 часть 1 (2013)
КЗС-1218 часть 2 (2013)
КЗС-1218А-1 (2015)
КЗС-1218А-1 (2018)
КЗС-1218А-1 (2019)
КЗС-1218А-1 (ПАЛЕССЕ GS12 А1) Дополнение (2020)
КЗС-1420 часть 1 (2014)
КЗС-1420 часть 2 (2014)
КЗС-1624-1 (2014)
КЗС-1624-1 (2017)
КЗС-2124КР (2018)
КЗС-3221КР ПАЛЕССЕ GH800 (2021)
КЗС-4118К ПАЛЕССЕ GS 4118 (2019)
КЗС-575 (2016)
КЗС-7 (2010)
КЗС-812 (2013)
КЗС-812С (2011)
КЗС-812С (2014)
КОК-6 (2011)
КОК-6-3, КОК-6-3-01, КОК-6-3-02 (2020)
КОК-8-2 (2012)
КОК-8-4 (2018)
КПК Полесье-3000
КПК Полесье-3000 (2006)
КПК-3000 (ПАЛЕССЕ FH40) (2010)
КПК-3000А (Палессе FH40A) (2010)
КПР-6 (2005)
КПР-9 Полесье-СН-90 (2006)
КСК-100А (2002)
КСК-100А-3 (2005)
КСК-600 (2007)
КСК-600 (2011)
КСК-600 (2015)
КСК-600 (2017)
КСК-600А (2020)
КСН-6 (2005)
ПЗ (2019)
ПКК-0200000А-06 (2010)
ПКК-0350000 (2010)
ПКК-0400000А (2010)
ПКК-0460000 (2010)
ПКК-1-0350000А (2010)
ПР (2019)
ПР-9 (2021)
Приспособление ПР-4 (2013)
СТВ-12 (2005)
УЭС Полесье-250 (2006)
УЭС-2-250А (2010)
УЭС-2-280А (2010)
УЭС-2-280А (2018)
УЭС-2-280А ПАЛЕССЕ 2U280А (2020)
УЭС-280 (2017)
УЭС-280 ПАЛЕССЕ U280 (2020)
Схема
>
Не выбрано
Молотилка самоходная КЗК-812С-2-0100000 (вид слева)
Молотилка самоходная КЗК-812С-2-0100000 (вид справа)
Электрооборудование молотилки самоходной (вид слева)
Электрооборудование молотилки самоходной (вид справа)
Электрооборудование молотилки самоходной (вид сверху)
Электрооборудование молотилки самоходной (вид спереди)
Камера наклонная КЗК-812С-1-1800000
Установка транспортера КЗК-812С-1-1807000
Успокоитель КЗК-812С-1-1800230
Установка вала верхнего КЗК-812С-1-1803000
Муфта предохранительная КЗК 1873100
Установка ограждений КЗК-812С-1-1800040 и КЗК-812С-1-1800070
Камера наклонная. Привод жатки КЗК-812С-1-1809100
Установка вала КЗК-8-1810602
Ограждение КЗК-812С-1-1800120
Реверс КЗК-812С-1-1804000
Механизм продольного копирования КЗК-812C-1-1805000
Установка вала нижнего КЗК-8-1816000
Установка рамки переходной КЗК-812C-1-1808000
Рамка переходная КЗК-812С-1-1808000 (лист 1)
Рамка переходная КЗК-812С-1-1808000 (лист 2)
Система гидравлическая наклонной камеры КЗК 1790000
Привод наклонной камеры КЗК 0125000
Пружина КЗК 0125050
Очистка КЗК-812С-2-0202000 (вид слева)
Очистка КЗК-812С-2-0202000 (вид справа)
Установка шкивов КЗК 0202860А и КЗК 0202103Б
Установка шкивов на шнек распределительный КЗК 0202770В
Установка цепного привода элеватора колосового
Муфта фрикционная КЗК 0219020Б-01
Установка шатуна КЗР 0202030Е и шкивов КЗК-12-0202109А, КЗК-8А-0202111
Установка привода соломотряса
Установка привода доски стрясной КЗК 0280000А (вид слева)
Установка привода доски стрясной КЗК 0280000А (вид справа)
Доска стрясная КЗК 0280000А
Рычаг КЗР 0202160Г
Установка привода стана решетного верхнего КЗК 0260000Б-01
Стан решетный верхний КЗК 0260000Б-01
Очистка (шкив ведомый КЗК-12-0217400 и контрпривод вариатора КЗК-7-0202500Б)
Контрпривод вариатора КЗК-7-0202500Б
Шкив ведомый КЗК-12-0217400
Установка рычага КЗК 0202430В
Установка привода устройства домолачивающего
Очистка (шкив КЗК-812-0202100 и кожух КЗК-12-0202980А)
Установка корпуса подшипника КЗР 0101105
Аппарат молотильный КЗК-8А-0102000 (лист 1)
Аппарат молотильный КЗК-8А-0102000 (лист 2)
Маслопровод КЗК-7-0102360
Фланец КЗК-8А-0102750
Барабан молотильный КЗК-8А-0104000
Механизм подъема подбарабанья КЗК-8А-0115000
Механизм подъема подбарабанья КЗК-8А-0115000 (установка электромеханизма)
Опора КЗК 0102350
Подбарабанье КЗК 0103000
Подбарабанье КЗК 0103010
Битер отбойный КЗК 0105000
Вариатор барабана КЗК 0108000
Вариатор барабана КЗК 0123000
Устройство домолачивающее КЗК 0207000В
Элеватор колосовой КЗК 0208000А-02
Соломотряс КЗК-8А-0212000
Вал коленчатый ведущий КЗК-8А-0212010
Вал коленчатый ведомый КЗК 0212020А
Боковина левая КЗК-812-0202110
Боковина правая КЗК-812-0202130
Тяги КЗК-812-0100100 и КЗК-812-0100100-01
Стяжка КЗК 0100150А и тяга КЗК 0100560-02
Рычаг КЗК 0202400В
Рычаг КЗК 0202410В
Рычаг КЗК 0202440В
Пружины КЗК 0202840А и КЗК 0202840А-01
Пружина КЗК 0202850А-02
Стяжка КЗК 0202990А
Шасси КЗК-812C-2-0111000
Шасси КЗК-812С-2-0111000 (вид слева)
Шасси КЗК-812С-2-0111000 (вид сверху)
Установка тележки гусеничной КЗК-812С-2-0109000
Установка механизма натяжения КЗК-812С-2-0151000 и КЗК-812С-2-0151000-01
Колесо КЗК-812С-2-0151010 и КЗК-812С-2-0151010-01
Колесо КЗК-812С-2-0151020
Пружина КЗК-812С-0151030
Установка каретки передней КЗК-812С-2-0152200 и КЗК-812С-2-0152200-01
Установка каретки задней КЗК-812С-2-0153200 и КЗК-812С-2-0153200-01
Каток опорный КЗК-812С-2-0152210
Опора КЗК-812С-2-0152080
Каток поддерживающий КЗК-812С-0159200
Мост ведущий КЗК-812С-2-0107000 (лист 1)
Мост ведущий КЗК-812С-2-0107000 (лист 2)
Мост ведущий КЗК-812С-2-0107000 (лист 3)
Опора КЗК-812С-2-0107610
Опора КЗК-812С-2-0107610-01
Опора КЗК-812С-2-0107620
Опора КЗК-812С-2-0107620-01
Фрикцион бортовой КЗК-812-0156000
Редуктор бортовой КЗК-812С-1-0107020
Редуктор бортовой КЗК-812С-1-0107020-01
Водило КЗК-10-0107210
Колесо зубчатое МК-23М.03.210
Коробка диапазонов КЗК-812-0107030А (корпус, крышки)
Коробка диапазонов КЗК-812-0107030А (валы, шестерни)
Механизм переключения диапазонов 3518020-46160
Гидроцилиндр блокировки диапазонов 3518020-46330
Муфта КВС-1-0107050
Гидроцилиндр тормоза МК-23М.03.220А
Блок шнеков КЗК-812-0218010 (лист 1)
Блок шнеков КЗК-812-0218010 (лист 2)
Блок шнеков КЗК-812-0218010 (лист 3)
Вентилятор КЗК 0217000Б (вид слева)
Вентилятор КЗК 0217000Б (вид спереди)
Крылач КЗК 0217010Б
Стан решетный нижний КЗК 0240000
Устройство тяговое КЗР 0232000
Устройство прицепное КИС 0122000А
Элеватор зерновой КЗК-812С-0214000 (лист 1)
Элеватор зерновой КЗК-812С-0214000 (лист 2)
Элеватор зерновой КЗК-812С-0214000 (лист 3)
Элеватор зерновой КЗК-812С-0214000 (лист 4)
Цепь элеватора КЗК 0214140А
Цепь элеватора КЗК 0214160А
Муфта фрикционная КЗК 0219100А
Шнек загрузной зерновой КЗК 0216000А
Раскосы КЗК 0216200Б и КЗК 0216200Б-01
Бункер КЗК-812C-0229000-01 (лист 1)
Бункер КЗК-812C-0229000-01 (лист 2)
Бункер КЗК-812C-0229000-01 (лист 3)
Установка шнека КЗК 0206030Б
Крыша бункера КЗК-7-0204000
Шторы КЗК-10-0204330А и КЗК-10-0204330А-01
Установка вибродна КЗК-7-0226000
Вибропобудитель КЗК 0226010А
Привод горизонтального шнека КЗК-10-0221000
Ролик КЗК 0221010Б и пружина КЗК 0221050Б
Привод вибратора КЗК 0223000Б
Рычаг КЗК 0223010
Тяга КЗК 0100560-03
Пружина КЗК 0100580А
Рычаг КЗК 0100590
Рычаг КЗК 0100620
Рычаг КЗК 0100680
Пружины КЗК 0100720 и КЗР 0202800А
Настил КЗК-812-0100130
Пробоотборник КЗК-7-0203320
Шнек выгрузной КЗК-8-0206000-01 (лист 1)
Шнек выгрузной КЗК-8-0206000-01 (лист 2)
Установка соломоизмельчителя КЗК-812С-0290000
Соломоизмельчитель КЗК-812-0290010 (лист 1)
Соломоизмельчитель КЗК-812-0290010 (лист 2)
Шкив КЗК-812-0290030
Ротор измельчителя КЗК 0290140А
Рычаг КЗК-10-0290260
Пружина КЗК 0202840А-03
Дефлектор КЗК-8-0290320 (лист 1)
Дефлектор КЗК-8-0290320 (лист 2)
Установка двигателя КЗК-812С-2-0106000
Установка двигателя КЗК-812С-2-0106010 (лист 1)
Установка двигателя КЗК-812С-2-0106010 (лист 2)
Установка бачка расширительного КЗК-812С-2-0106070
Установка блока радиаторов КЗК-812С-2-0106040
Блок радиаторов КЗК-8А-2-0106050
Воздухозаборник КЗК-8А-0112000 (лист 1)
Воздухозаборник КЗК-8А-0112000 (лист 2)
Воздухозаборник КЗК-8А-0112000 (лист 3)
Контрпривод КЗК 0112080А
Рычаг КЗК 0112180А
Рычаг КЗК 0112210А
Экран вращающийся КЗК-8А-0112020
Пружины КЗС 0131210 и КЗС 0131210-01
Установка главного привода КЗК-8А-2-0106030
Главный привод КЗК-8А-2-0106270
Установка глушителя КЗК-8А-2-0106060
Установка сливных рукавов КЗК-8А-2-0106300
Привод гидронасоса КЗК-8А-2-0222500
Установка воздухоочистителя КЗК-8А-2-0106080
Воздухозаборник вращающийся КЗК-12-3-0126420
Установка электрооборудования моторной установки КЗК-812С-2-0726000
Установка вентилятора КЗК-8А-0112100
Вентилятор КЗК-8А-0112070
Пружина КЗС 0131210-01
Привод главного контрпривода КЗК 0220000А
Рычаг КЗК 0220170
Установка бака топливного КЗК-8А-2-0126000 (лист 1)
Установка бака топливного КЗК-8А-2-0126000 (лист 2)
Привод насоса ходовой части КЗК-812C-2-0222000
Муфта КЗК 0222100
Кабина КЗК-12-0120000-01 (лист 1)
Кабина КЗК-12-0120000-01 (лист 2)
Кабина КЗК-12-0120000-01 (лист 3)
Кабина КЗК-12-0120000-01 (лист 4)
Каркас КЗК-12-0120010
Дверь КЗК-12-0120330
Дверь КЗК-12-0120360
Установка стеклоочистителей КЗК-12-0120810 и КЗК-12-0120810-01
Электрооборудование кабины
Установка климатическая КЗК-7-0113000А-02
Установка компрессора КЗК-7-0113030-02 (лист 1)
Установка компрессора КЗК-7-0113030-02 (лист 2)
Компрессор КВС-1-0150630-01
Установка испарителя КЗК-7-0113040-01
Установка стеклоомывателя КЗК-12-0120460-01
Установка зеркала КЗК 0100520
Площадка управления КЗК-812С-1-0119000
Рычаги и трубопроводы площадки управления
Установка гидроблока КЗК-812С-1-0602330
Установка сиденья КЗК-12-011929
Кронштейн КЗК-7-0119350А
Установка колонки привода УЭС 0300710
Установка блока переключения КЗК-812С-1-0119070
Блок переключения КЗК-812С-1-0119070
Рулевая колонка КЗК-812С-1-0119230
Привод управления КЗС 0119600
Кардан 50-3401060
Установка колеса рулевого КЗК-12-0122600 и КЗК-12-0122600-01
Колесо рулевое КЗК-12-0122300
Колесо рулевое УЭС 0302560
Зажим УЭС 0302540
Электрооборудование колонки рулевой КЗК-812С-1-0723000
Сиденье КЗК-12-0119290Б
Рычаг КЗК-12-0119920А
Электрооборудование блока управления КЗК-12-0119890А
Пульт управления КЗК-812С-1-0119500
Рычаг КЗК-12-0119440Б
Установка электрооборудования пульта управления КЗК-812С-1-0725000 (лист 1)
Установка электрооборудования пульта управления КЗК-812С-1-0725000 (лист 2)
Колонка привода УЭС 0300710
Установка механизма переключения передач КЗК-812С-1-0119060
Установка трубопроводов КЗК-812С-1-0119250
Установка стояночного тормоза КЗК-812С-1-0119600
Установка тросов управления двигателем КЗК-8А-2-0119300
Установка троса ГСТ КЗК-8-0119150
Установка капотов и ограждения КЗК-812С-2-0128000 (вид слева)
Установка капотов и ограждения КЗК-812С-0128000 (вид справа)
Капоты КЗК-812C-2-0128130 и КЗК-812C-2-0128140
Панели КЗК-812C-2-0128260 и КЗК-812C-2-0128270
Замок КВС-1-0160240
Механизм фиксации КЗК-8-0128310
Механизм фиксации капота КЗР 0200370В
Установка капота КЗК-812C-2-0128090
Капот КЗК-812С-2-0128100
Крыша КЗК-812C-0128110
Подрамник КЗК-8-0121000-02
Крыша КЗК-8А-2-0124000
Установка трапа КЗК-812-0117000
Механизм фиксации трапа КЗС 0117100
Гидросистема привода ходовой части КЗК-812С-2-0601000
Фильтр КЗК-8-0601050
Бак масляный КЗК-812С-1-0601010
Гидросистема рулевого управления и силовых гидроцилиндров КЗК-812C-2-0602000 (лист 1)
Гидросистема рулевого управления и силовых гидроцилиндров КЗК-812C-2-0602000 (лист 2)
Гидросистема рулевого управления и силовых гидроцилиндров КЗК-812C-2-0602000 (лист 3)
Гидросистема рулевого управления и силовых гидроцилиндров КЗК-812C-2-0602000 (лист 4)
Гидроблок фрикциона КЗК-812С-1-0602320
Дроссель с обратным клапаном КЗК 0602520А-01
Фильтр КЗК 0602600
Полумуфты внутренние КЗК 0602620, КЗК 0602620-01, КЗК 0602620-02
Гидроцилиндр КЗК-8-0602500
Гидроцилиндр КЗК-8А-2-0602500
Гидроцилиндр КЗК-12-0602310
Фильтр напорный КЗК-12-0602570
Гидроцилиндр КЗК 0602290-01
Гидроцилиндр КЗК 0602510
Гидромотор КЗК-812-0601200-01
Пневмосистема КЗК-812С-2-0800000
Регулятор давления КЗК-10-0800190
1
2
3
4
5
6
7
8
9
10
11
12
13
14
15
16
17
18
19
20
21
22
23
24
25
26
27
Позиция на иллюстрации
Заводской номер детали
Название детали
КЗК-812С-2-0111000
КЗК-812С-2-0111000
Шасси
1
КЗК-812С-2-0111010
Рама шасси
2
КЗК-812-0111030А-01
Щит передний
3
КЗК-812-0111040Б-01
Щит задний
4
КЗК0217000Б
Вентилятор
5
КЗК0240000
Стан решетный нижний
6
КЗК-812-0111001
Уплотнение T-8
7
КЗК-812-0111002
Фартук
8
КЗК-812-0111436
Кронштейн
9
КЗК-812-0111444
Защита
10
КЗК0101605
Палец
11
КЗК0602507
Кронштейн
12
КЗР0600462
Кронштейн
13
ПЕА2707224
Шплинт шкворня
14
УЭС0100405
Шайба
15
БолтМ10-6eх25-7796
Болт М10-6eх25-7796
16
БолтМ12-6eх35-7796
Болт М12-6eх35-7796
17
БолтМ6-6eх20-7798
Болт М6-6eх20-7798
18
БолтМ24х2-6eх105-7798
Болт М24х2-6eх105-7798
19
ГайкаМ24х2-6G-2526
Гайка М24х2-6G-2526
20
ГайкаМ6-6G-5915
Гайка М6-6G-5915
21
ГайкаМ24Х2-6G-5915
Гайка М24Х2-6G-5915
22
Шайба6Т.65Г-6402
Шайба 6Т.65Г-6402
23
Шайба10Т.65Г-6402
Шайба 10Т.65Г-6402
24
Шайба12Т.65Г-6402
Шайба 12Т.65Г-6402
25
ШайбаA6х1,5-6958
Шайба A 6х1,5-6958
26
ШайбаA10.01-6958
Шайба A 10.01-6958
27
ШайбаC.12.01-11371
Шайба C.12.01-11371
Содержащиеся в справочниках-каталогах запасные части и детали не предлагаются к продаже, а носят исключительно информационный характер
Дополнительная информация
×
Название:
Номер:
Примечание: