Вернуться на главную
Поиск
Каталоги запчастей к технике
Сельхозтехника
Гомсельмаш
KЗС-812
Установка бачка расширительного КЗК-8К-0106070
Каталог запасных частей к технике: Гомсельмаш KЗС-812. Установка бачка расширительного КЗК-8К-0106070
zoom-in
zoom-out
enlarge
shrink
circle-right
circle-left
file-text2
info
cart
Тип техники
Не выбрано
Легковые автомобили
Грузовые автомобили и прицепы
Автобусы
Сельхозтехника
Спецтехника
Двигатели
Мототехника
Марка
Не выбрано
AGCO
Amity
CASE IH
DongFeng
Fortschritt
Foton
Franz Kleine
Gaspardo
Great Plains
KRONE
KUHN
Lemken
Lovol
MacDon
Massey Ferguson
New Holland
TIGARBO
Vaderstad
Versatile
Wirax
Агро
Агротехмаш
Бобруйскагромаш (ОАО «УКХ «Бобруйскагромаш»)
БЭМЗ
ВгТЗ
Воронежсельмаш
ВТЗ
Гомсельмаш
ДКЗ
ЗАО "Техника-сервис"
ЗиД
КЗК
Кировец-Ландтехник
Клевер
Красная Звезда
Лидагропроммаш
Лидсельмаш
ЛТЗ
Машстройхолдинг
Минитракторы
Мордовагромаш
МТЗ
Навигатор-Новое машиностроение
Нефтекамский автозавод
ПТЗ
Ремком
РСМ
Сибсельмаш
ТеКЗ
ТКЗ
ХЗТСШ
ХТЗ
ЮМЗ
Модель
Не выбрано
FS80-2 (2017)
KЗС-812 (2016)
KЗС-812 (2017)
KЗС-812 (2018)
KЗС-812 (2021)
KЗС-812 (ПАЛЕССЕ GS812 PRO) (2022)
KЗС-812 (ПАЛЕССЕ GS812) (2021)
KС-100 (2020)
KС-100 (2021)
KС-100 (2022)
KС-150С (2022)
KС-200 (2017)
MS280F (2022)
ЖГР-4.5-1 (2011)
ЖГР-4.5-1 (2018)
ЖЗК-5-1 (2021)
ЖЗК-5-2 (2021)
ЖЗК-6-5 (2008)
ЖЗК-6-5 (2020)
ЖЗК-7-5 (2008)
ЖЗК-7-5 (2011)
ЖЗК-7-7 (2020)
ЖЗК-9 (2020)
ЖЗС-6, 7 (2010)
ЖЗС-9-1 (2018)
ЖЗС-9-2 (2018)
ЖЗС-9-2 (2020)
ЖЗС-9-2 (2021)
ЖР-5 (2021)
КВК-1-0900000 (2018)
КВК-1-0900000 (2021)
КВК-6025 (2015)
КВК-800 (FS80) (2017)
КВК-800 (FS80-2) (2010)
КВК-800 (FS80-2) (2014)
КВК-800 (FS80-5) (2013)
КВК-800 (FS80-5) (2016)
КВК-800 (FS80-7) (2017)
КВК-800 ПАЛЕССЕ FS80-2 (2019)
КВК-800-8 ПАЛЕССЕ FS80-8 (2018)
КВК-800-8 ПАЛЕССЕ FS80-8 (2021)
КВК-8060 (2012)
КВК-8060 (2017)
КВК-8060 (2021)
КВК-8060 (2021)
КВС-1-3900000 (2007)
КВС-4-3900000 (2010)
КГС-0200000 (2010)
КГС-0800000 (2010)
КГС-0900000 (2010)
КДП-3000 Палессе FT40 (2008)
КЗР-10 (2007)
КЗС-10К (ПОЛЕСЬЕ) (2005)
КЗС-10К Палессе GS10 (2012)
КЗС-10К Палессе GS10 (2013)
КЗС-10К Палессе GS10 (2018)
КЗС-10К Палессе GS10 (2021)
КЗС-1218 (ПАЛЕССЕ GS12) дополнение 1 (2020)
КЗС-1218 (ПАЛЕССЕ GS12) дополнение 2 (2020)
КЗС-1218 часть 1 (2013)
КЗС-1218 часть 2 (2013)
КЗС-1218А-1 (2015)
КЗС-1218А-1 (2018)
КЗС-1218А-1 (2019)
КЗС-1218А-1 (ПАЛЕССЕ GS12 А1) Дополнение (2020)
КЗС-1420 часть 1 (2014)
КЗС-1420 часть 2 (2014)
КЗС-1624-1 (2014)
КЗС-1624-1 (2017)
КЗС-2124КР (2018)
КЗС-3221КР ПАЛЕССЕ GH800 (2021)
КЗС-4118К ПАЛЕССЕ GS 4118 (2019)
КЗС-575 (2016)
КЗС-7 (2010)
КЗС-812 (2013)
КЗС-812С (2011)
КЗС-812С (2014)
КОК-6 (2011)
КОК-6-3, КОК-6-3-01, КОК-6-3-02 (2020)
КОК-8-2 (2012)
КОК-8-4 (2018)
КПК Полесье-3000
КПК Полесье-3000 (2006)
КПК-3000 (ПАЛЕССЕ FH40) (2010)
КПК-3000А (Палессе FH40A) (2010)
КПР-6 (2005)
КПР-9 Полесье-СН-90 (2006)
КСК-100А (2002)
КСК-100А-3 (2005)
КСК-600 (2007)
КСК-600 (2011)
КСК-600 (2015)
КСК-600 (2017)
КСК-600А (2020)
КСН-6 (2005)
ПЗ (2019)
ПКК-0200000А-06 (2010)
ПКК-0350000 (2010)
ПКК-0400000А (2010)
ПКК-0460000 (2010)
ПКК-1-0350000А (2010)
ПР (2019)
ПР-9 (2021)
Приспособление ПР-4 (2013)
СТВ-12 (2005)
УЭС Полесье-250 (2006)
УЭС-2-250А (2010)
УЭС-2-280А (2010)
УЭС-2-280А (2018)
УЭС-2-280А ПАЛЕССЕ 2U280А (2020)
УЭС-280 (2017)
УЭС-280 ПАЛЕССЕ U280 (2020)
Схема
>
Не выбрано
Молотилка самоходная КЗК-8А-0100000-02
Молотилка самоходная КЗК-8А-0100000-02
Молотилка самоходная КЗК-8А-0100000-02
Электрооборудование молотилки самоходной (вид слева)
Электрооборудование молотилки самоходной (вид справа)
Электрооборудование молотилки самоходной (вид сверху)
Электрооборудование молотилки самоходной (вид спереди)
Камера наклонная КЗК-8-1810000А
Установка транспортера КЗК-8-1817100
Успокоитель КЗК 1770050
Установка вала верхнего КЗК-8-1813000
Муфта предохранительная КЗК 1873100
Установка ограждений КЗК-8-1770050 и КЗК-8-1770070
Камера наклонная. Привод транспортера
Установка вала КЗК-8-1810602
Ограждение КЗК-8-1810120
Реверс КЗК-8-1814000
Механизм продольного копирования КЗК 1775000А
Установка вала нижнего КЗК-8-1816000
Установка рамки переходной КЗК 1780000А
Рамка переходная КЗК 1780000А
Рамка переходная КЗК 1780000А
Система гидравлическая КЗК 1790000
Привод наклонной камеры КЗК 0125000
Пружина КЗК 0125050
Очистка КЗК-8А-0202000-01 (вид слева)
Очистка КЗК-8А-0202000-01
Установка шкивов КЗК 0202860А и КЗК 0202103Б
Установка шкивов на шнек распределительный КЗК 0202770В
Установка шкива КЗК 0202810А
Установка цепного привода элеватора колосового
Установка шатуна КЗР 0202030Е и шкивов КЗК-12-0202109А, КЗК-8А-0202111
Установка привода соломотряса
Установка привода доски стрясной КЗК 0280000А (вид слева)
Установка привода доски стрясной КЗК 0280000А (вид справа)
Установка привода стана решетного верхнего КЗК 0260000Б-01
Очистка, шкив ведомый КЗК-12-0217400 и контрпривод вариатора КЗК-7-0202500Б
Шкив ведомый КЗК-12-0217400
Установка рычага КЗК 0202430В
Установка привода устройства домолачивающего
Боковина левая КЗК-8А-0202050
Боковина правая КЗК-8А-0202060
Соломотряс КЗК-8А-0212000
Вал коленчатый ведущий КЗК-8А-0212010
Вал коленчатый ведомый КЗК 0212020А
Стяжка КЗК 0100150А
Рычаг КЗК 0202400В
Рычаг КЗК 0202410В
Рычаг КЗК 0202440В
Пружины КЗК 0202840А и КЗК 0202840А-01
Пружина КЗК 0202850А-02
Стяжка КЗК 0202990А
Устройство домолачивающее КЗК 0207000В
Элеватор колосовой КЗК 0208000А-02
Муфта фрикционная КЗК 0219020Б-01
Стан решетный верхний КЗК 0260000Б-01
Доска стрясная КЗК 0280000А
Контрпривод вариатора КЗК-7-0202500Б
Тяги КЗК-8-0100560 и КЗК-10-0100560-03
Рычаг КЗР 0202160Г
Аппарат молотильный КЗК-8А-0102000
Аппарат молотильный КЗК-8А-0102000
Маслопровод КЗК-7-0102360
Фланец КЗК-8А-0102750
Барабан молотильный КЗК-8А-0104000
Механизм подъема подбарабанья КЗК-8А-0115000
Механизм подъема подбарабанья КЗК-8А-0115000 (установка электромеханизма)
Опора КЗК 0102350
Подбарабанье КЗК 0103000-01
Подбарабанье КЗК 0103010-01
Битер отбойный КЗК 0105150
Вариатор барабана КЗК 0108100
Вариатор барабана КЗК 0123000
Шасси КЗК-8А-0111000
Шасси КЗК-8А-0111000
Мост ведущий КЗК-8-0107000 и КЗК-8-0107000-01
Редуктор бортовой правый УЭС 0107070А-04
Редуктор бортовой правый УЭС 0107070А-04
Редуктор бортовой левый УЭС 0107150-03
Редуктор бортовой левый УЭС 0107150-03
Редуктор бортовой КЗК-10-0107200-04
Редуктор бортовой КЗК-10-0107200-04
Редуктор бортовой КЗК-10-0107200
Редуктор бортовой КЗК-10-0107200
Диски нажимные МК-23М.03.030А
Водило МК-23М.03.160
Водило КЗК-10-0107210
Колесо зубчатое МК-23М.03.210
Гидроцилиндр тормоза МК-23М.03.220А
Коробка диапазонов 3518020-46150 (корпус, крышки)
Коробка диапазонов 3518020-46150 (валы, шестерни)
Дифференциал 3518020-43190
Механизм переключения диапазонов 3518020-46160
Гидроцилиндр блокировки диапазонов 3518020-46330
Муфта КВС-1-0107050
Муфта КВС-1-0107060
Мост управляемых колес КЗК 0109000
Мост управляемых колес КЗК 0109000
Вентилятор КЗК 0217000Б-01
Вентилятор КЗК 0217000Б-01 (вид спереди)
Крылач КЗК 0217010Б
Вентилятор КЗК 0218010В
Стан решетный нижний КЗК 0240000
Устройство тяговое КЗР 0232000
Устройство прицепное КИС 0122000А
Установка колес КЗК-8-0111100
Колесо УЭС-7-0110000 и УЭС-7-0110000-02
Колесо КЗК 0118000 и КЗК 0118000-01
Пружина КЗК 0100580А
Рычаг КЗК 0100590
Установка щитка КЗК-8-0100200
Элеватор зерновой КЗК 0214000Б-01
Элеватор зерновой КЗК 0214000Б-01
Элеватор зерновой КЗК 0214000Б-01
Элеватор зерновой КЗК 0214000Б-01
Цепь элеватора КЗК 0214140А
Цепь элеватора КЗК 0214160А
Муфта фрикционная КЗК 0219100А
Шнек загрузной зерновой КЗК 0216000А
Раскосы КЗК 0216200Б и КЗК 0216200Б-01
Бункер КЗК-7-0229000-02
Бункер КЗК-7-0229000-02
Бункер КЗК-7-0229000-02
Установка шнека КЗК 0206030Б
Крыша бункера КЗК-7-0204000
Шторы КЗК-10-0204330А и КЗК-10-0204330А-01
Установка вибродна КЗК-7-0226000
Вибропобудитель КЗК 0226010А
Привод горизонтального шнека КЗК-10-0221000
Привод вибратора КЗК 0223000Б-01
Рычаг КЗК 0223010
Тяга КЗК 0100560-03
Рычаг КЗК 0100620
Рычаг КЗК 0100680
Пружины КЗК 0100720 и КЗР 0202800А
Настил КЗК-8А-2-0100320
Пробоотборник КЗК-7-0203320
Шнек выгрузной КЗК-8-0206000-01
Шнек выгрузной КЗК-8-0206000-01
Установка соломоизмельчителя КЗК 0290600
Пружина КЗК 0202840А-03
Соломоизмельчитель КЗК 0290000Б
Соломоизмельчитель КЗК 0290000Б
Опора ножевая КЗК 0290030А
Шкив КЗК 0290090А
Ротор измельчителя КЗК 0290140А
Заслонка КЗК 0290160А
Стенки КЗК 0290290А и КЗК 0290290А-01
Рычаг-10-0290260
Дефлектор КЗК-8-0290320
Дефлектор КЗК-8-0290320
Установка двигателя КЗК-8К-0106000
Двигатель КЗК-8К-0106010
Двигатель КЗК-8К-0106010
Блок радиаторов КЗК-8К-0106040
Воздухозаборник КЗК-8А-0112000
Воздухозаборник КЗК-8А-0112000
Экран вращающийся КЗК-8А-0112020
Контрпривод КЗК 0112080А
Рычаг КЗК 0112180А
Рычаг КЗК 0112210А
Пружины КЗС 0131210 и КЗС 0131210-01
Установка глушителя КЗК-8К-0106060
Установка бачка расширительного КЗК-8К-0106070
Установка сливных рукавов КЗК-8К-0106490
Установка труб КЗК-8К-0106530
Установка труб КЗК-8К-0106530
Установка главного привода КЗК-8А-2-0106030
Главный привод КЗК-8А-2-0106270
Привод гидронасоса КЗК-8А-2-0222500
Амортизатор КЗК-10-0106160
Установка воздухоочистителя КЗК-8А-2-0106080
Воздухозаборник вращающийся КЗК-12-3-0126420
Установка электрооборудования моторной установки КЗК-8К-0726000
Установка вентилятора КЗК-8А-0112100
Вентилятор КЗК-8А-0112070
Привод главного контрпривода КЗК 0220000А
Привод насоса ходовой части КЗК-812C-2-0222000
Муфта КЗК 0222100
Установка бака топливного КЗК-8А-2-0126000
Установка бака топливного КЗК-8А-2-0126000
Кабина КЗК-12-0120000-01
Кабина КЗК-12-0120000-01
Кабина КЗК-12-0120000-01
Кабина КЗК-12-0120000-01
Каркас КЗК-12-0120010
Дверь КЗК-12-0120330
Дверь КЗК-12-0120360
Установка стеклоочистителей КЗК-12-0120810 и КЗК-12-0120810-01
Крыша КВС-2-0122170
Электрооборудование кабины
Установка климатическая КЗК-7-0113000А-02
Установка компрессора КЗК-7-0113030-02
Установка компрессора КЗК-7-0113030-02
Компрессор КВС-1-0150630-01
Установка испарителя КЗК-7-0113040-01
Установка стеклоомывателя КЗК-12-0120460-01
Установка зеркала КЗК 0100520
Площадка управления КЗК-8-0119000
Пульт управления КЗК-12-0119500В
Рычаг КЗК-12-0119440Б
Электрооборудование пульта управления
Электрооборудование пульта управления
Кронштейн КЗК-7-0119350А
Установка сиденья КЗК-12-0119290Б
Сиденье КЗК-12-0119290Б
Рычаг КЗК-12-0119920Б
Электрооборудование блока управления КЗК-12-0119890А
Рычаги и трубопроводы площадки управления
Рулевая колонка КЗС 0119030-01
Установка колеса рулевого КЗК-12-0122600 и КЗК-12-0122600-01
Колесо рулевое КЗК-12-0122300
Колесо рулевое УЭС 0302560
Зажим УЭС 0302540
Привод управления КЗС 0119600
Кардан 50-3401060
Установка насоса-дозатора КЗК-8-0602160
Электрооборудование рулевой колонки КЗС 0119030-01
Установка колонки привода УЭС 0300710
Колонка привода УЭС 0300710
Установка механизма управления коробкой диапазонов КЗК-8-0119040
Блок переключения КЗК-8-0119060
Шток КЗК-8-0119120
Установка тросов управления стояночным тормозом КЗК-8-0119100
Установка трубопроводов моста ведущих колёс КЗК-8-0119250
Установка троса ГСТ КЗК-8-0119150
Установка тросов управления двигателем КЗК-8А-2-0119300
Установка капотов и ограждений КЗК-8А-0128000-03
Установка капотов и ограждений КЗК-8А-0128000-03
Установка капота КЗК-8А-2-0228100-01
Капот КЗК-8A-2-0228000-01
Крыша КЗК-8A-2-0228140
Подрамник КЗК-8-0121000-01
Крыша КЗК-8А-2-0124000
Установка трапа КЗК-7-0117000
Механизм фиксации трапа КЗС 0117100
Гидросистема привода ходовой части КЗК-8А-0601000
Гидросистема привода ходовой части КЗК-8А-0601000
Бак масляный КЗК 0601010А
Фильтр КЗК-8-0601050
Рукав сборный КЗК-12-0601600-01
Гидросистема рулевого управления и силовых гидроцилиндров КЗК-8А-2-0602000 (вид слева)
Гидросистема рулевого управления и силовых гидроцилиндров КЗК-8А-2-0602000 (вид слева)
Гидросистема рулевого управления и силовых гидроцилиндров КЗК-8А-2-0602000 (вид справа)
Гидросистема рулевого управления и силовых гидроцилиндров КЗК-8А-2-0602000 (вид справа)
Гидроцилиндр КЗК-8А-2-0602500
Дроссель с обратным клапаном КЗК 0602520А-01
Фильтр КЗК 0602600
Полумуфта внутренняя КЗК 0602620, КЗК 0602620-01, КЗК 0602620-02
Гидроцилиндр КЗК-8-0602500
Гидроцилиндр КЗК-12-0602310
Фильтр напорный КЗК-12-0602570
Гидроцилиндр КЗК 0602290-01
Гидроцилиндр КЗК 0602510
Гидромотор КЗК-12-0601500-01
1
2
3
4
5
5
6
7
8
9
10
11
11
12
12
13
13
14
14
14
14
15
15
16
17
18
18
19
19
20
20
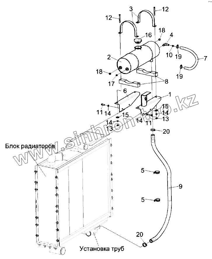
Позиция на иллюстрации
Заводской номер детали
Название детали
КЗК-8К-0106070
КЗК-8К-0106070
Установка бачка расширительного
1
КЗК-8К-0106260
Кронштейн
2
КЗК-8К-0106600
Бачок расширительный
3
КЗС0106130
Хомут
4
КЗК-12-3-0106500
Угольник
5
КЗР0700800-07
Хомут
6
КЗК0106412-01
Кронштейн
7
КЗК-12-3-0106011
Рукав 14х23-1,6-10362
8
КЗС0106017
Опора
9
РНД0250012-75
Рукав
10
УЭС-3-0400006
Дроссель
11
БолтМ8-6gx20-7796
Болт М8-6gx20-7796
12
БолтМ8-6gx80-7796
Болт М8-6gx80-7796
13
ГайкаМ8-6G-5915
Гайка М8-6G-5915
14
Шайба8Т.65Г-6402
Шайба 8Т.65Г-6402
15
ШайбаC8.01-6958
Шайба C 8.01-6958
16
ПробкаА21.01.270-2
Пробка А21.01.270-2
17
Пробка2-КГ11/4dm
Пробка 2-КГ 1 1/4
18
Пробка2-КГ3/8dm
Пробка
19
ХомутTORRO16-27/9C7W2
Хомут червячный TORRO 16-27/9 C7W2
20
ХомутTORRO25-40/9C7W2
Хомут червячный TORRO 25-40/9 C7W2
Содержащиеся в справочниках-каталогах запасные части и детали не предлагаются к продаже, а носят исключительно информационный характер
Дополнительная информация
×
Название:
Номер:
Примечание: