Вернуться на главную
Поиск
Каталоги запчастей к технике
Сельхозтехника
Гомсельмаш
КЗС-3221КР ПАЛЕССЕ GH800
Установка кронштейна УКЗ-01-0230010
Каталог запасных частей к технике: Гомсельмаш КЗС-3221КР ПАЛЕССЕ GH800. Установка кронштейна УКЗ-01-0230010
zoom-in
zoom-out
enlarge
shrink
circle-right
circle-left
file-text2
info
cart
Тип техники
Не выбрано
Легковые автомобили
Грузовые автомобили и прицепы
Автобусы
Сельхозтехника
Спецтехника
Двигатели
Мототехника
Марка
Не выбрано
AGCO
Amity
CASE IH
DongFeng
Fortschritt
Foton
Franz Kleine
Gaspardo
Great Plains
KRONE
KUHN
Lemken
Lovol
MacDon
Massey Ferguson
New Holland
TIGARBO
Vaderstad
Versatile
Wirax
Агро
Агротехмаш
Бобруйскагромаш (ОАО «УКХ «Бобруйскагромаш»)
БЭМЗ
ВгТЗ
Воронежсельмаш
ВТЗ
Гомсельмаш
ДКЗ
ЗАО "Техника-сервис"
ЗиД
КЗК
Кировец-Ландтехник
Клевер
Красная Звезда
Лидагропроммаш
Лидсельмаш
ЛТЗ
Машстройхолдинг
Минитракторы
Мордовагромаш
МТЗ
Навигатор-Новое машиностроение
Нефтекамский автозавод
ПТЗ
Ремком
РСМ
Сибсельмаш
ТеКЗ
ТКЗ
ХЗТСШ
ХТЗ
ЮМЗ
Модель
Не выбрано
FS80-2 (2017)
KЗС-812 (2016)
KЗС-812 (2017)
KЗС-812 (2018)
KЗС-812 (2021)
KЗС-812 (ПАЛЕССЕ GS812 PRO) (2022)
KЗС-812 (ПАЛЕССЕ GS812) (2021)
KС-100 (2020)
KС-100 (2021)
KС-100 (2022)
KС-150С (2022)
KС-200 (2017)
MS280F (2022)
ЖГР-4.5-1 (2011)
ЖГР-4.5-1 (2018)
ЖЗК-5-1 (2021)
ЖЗК-5-2 (2021)
ЖЗК-6-5 (2008)
ЖЗК-6-5 (2020)
ЖЗК-7-5 (2008)
ЖЗК-7-5 (2011)
ЖЗК-7-7 (2020)
ЖЗК-9 (2020)
ЖЗС-6, 7 (2010)
ЖЗС-9-1 (2018)
ЖЗС-9-2 (2018)
ЖЗС-9-2 (2020)
ЖЗС-9-2 (2021)
ЖР-5 (2021)
КВК-1-0900000 (2018)
КВК-1-0900000 (2021)
КВК-6025 (2015)
КВК-800 (FS80) (2017)
КВК-800 (FS80-2) (2010)
КВК-800 (FS80-2) (2014)
КВК-800 (FS80-5) (2013)
КВК-800 (FS80-5) (2016)
КВК-800 (FS80-7) (2017)
КВК-800 ПАЛЕССЕ FS80-2 (2019)
КВК-800-8 ПАЛЕССЕ FS80-8 (2018)
КВК-800-8 ПАЛЕССЕ FS80-8 (2021)
КВК-8060 (2012)
КВК-8060 (2017)
КВК-8060 (2021)
КВК-8060 (2021)
КВС-1-3900000 (2007)
КВС-4-3900000 (2010)
КГС-0200000 (2010)
КГС-0800000 (2010)
КГС-0900000 (2010)
КДП-3000 Палессе FT40 (2008)
КЗР-10 (2007)
КЗС-10К (ПОЛЕСЬЕ) (2005)
КЗС-10К Палессе GS10 (2012)
КЗС-10К Палессе GS10 (2013)
КЗС-10К Палессе GS10 (2018)
КЗС-10К Палессе GS10 (2021)
КЗС-1218 (ПАЛЕССЕ GS12) дополнение 1 (2020)
КЗС-1218 (ПАЛЕССЕ GS12) дополнение 2 (2020)
КЗС-1218 часть 1 (2013)
КЗС-1218 часть 2 (2013)
КЗС-1218А-1 (2015)
КЗС-1218А-1 (2018)
КЗС-1218А-1 (2019)
КЗС-1218А-1 (ПАЛЕССЕ GS12 А1) Дополнение (2020)
КЗС-1420 часть 1 (2014)
КЗС-1420 часть 2 (2014)
КЗС-1624-1 (2014)
КЗС-1624-1 (2017)
КЗС-2124КР (2018)
КЗС-3221КР ПАЛЕССЕ GH800 (2021)
КЗС-4118К ПАЛЕССЕ GS 4118 (2019)
КЗС-575 (2016)
КЗС-7 (2010)
КЗС-812 (2013)
КЗС-812С (2011)
КЗС-812С (2014)
КОК-6 (2011)
КОК-6-3, КОК-6-3-01, КОК-6-3-02 (2020)
КОК-8-2 (2012)
КОК-8-4 (2018)
КПК Полесье-3000
КПК Полесье-3000 (2006)
КПК-3000 (ПАЛЕССЕ FH40) (2010)
КПК-3000А (Палессе FH40A) (2010)
КПР-6 (2005)
КПР-9 Полесье-СН-90 (2006)
КСК-100А (2002)
КСК-100А-3 (2005)
КСК-600 (2007)
КСК-600 (2011)
КСК-600 (2015)
КСК-600 (2017)
КСК-600А (2020)
КСН-6 (2005)
ПЗ (2019)
ПКК-0200000А-06 (2010)
ПКК-0350000 (2010)
ПКК-0400000А (2010)
ПКК-0460000 (2010)
ПКК-1-0350000А (2010)
ПР (2019)
ПР-9 (2021)
Приспособление ПР-4 (2013)
СТВ-12 (2005)
УЭС Полесье-250 (2006)
УЭС-2-250А (2010)
УЭС-2-280А (2010)
УЭС-2-280А (2018)
УЭС-2-280А ПАЛЕССЕ 2U280А (2020)
УЭС-280 (2017)
УЭС-280 ПАЛЕССЕ U280 (2020)
Схема
>
Не выбрано
Молотилка самоходная КЗК-3221-1-0100000
Молотилка самоходная КЗК-3221-1-0100000 (вид слева)
Молотилка самоходная КЗК-3221-1-0100000 (вид справа)
Молотилка самоходная КЗК-3221-1-0100000 (вид спереди)
Очистка КЗК-3321-1-0205000 (лист 1)
Очистка КЗК-3321-1-0205000 (лист 2)
Установка шкивов КЗК-3219-0205070 и КЗК-4118-0202860
Шкив КЗК-3219-0205070 и КЗК-4118-0202860
Установка привода доски стрясной КЗК-3219-0280000 (вид слева)
Установка привода доски стрясной КЗК-3219-0280000 (вид справа)
Доска стрясная КЗК-3219-0280000
Рычаг КЗК-3219-0205040 и КЗК-3219-0205040-01
Стан решетный верхний КЗК-3219-0260000А
Доска скатная КЗК-3219-0270000
Установка контрпривода вариатора КЗК-12-0202500В
Контрпривод вариатора КЗК-12-0202500В
Привод КЗК-12-0202690Б и КЗК-12-0202700
Шкив ведомый КЗК-12-0217400-01
Установка шкивов на шнек распределительный КЗК-10-0202770А
Установка цепного привода элеватора колосового
Муфта фрикционная КЗК 0219020Б-01
Установка привода устройства домолачивающего
Устройство домолачивающее КЗК 0207000В-01
Аппарат молотильный КЗК-3321-2-0102000 (установка битера отбойного)
Аппарат молотильный КЗК-3321-2-0102000 (установка барабана молотильного)
Аппарат молотильный КЗК-3321-2-0102000 (установка барабана ускоряющего)
Аппарат молотильный КЗК-3321-2-0102000 (привод отбойного битера)
Аппарат молотильный КЗК-3321-2-0102000 (камнеуловитель, подбарабанья)
Установка привода отбойного битера КЗК-3219-0102500
Ролик КЗК-3219-0102510
Битер отбойный КЗК-3321-1-0105010
Шкив КЗК-12-16-0102430
Вариатор барабана КЗК 0108100-01
Вариатор барабана КЗК-3219-0123000
Фланец КЗК-3219-0102200
Фланец КЗК-3219-0102750
Подбарабанье КЗК-3219-0103000
Подбарабанье КЗК-12-0103030-01
Барабан молотильный КЗК-12-0104100-01
Камнеуловитель КЗК-12-0102670
Установка механизма подъема подбарабаний КЗК-3219-0115000 (лист 1)
Установка механизма подъема подбарабаний КЗК-3219-0115000 (лист 2)
Установка механизма подъема подбарабаний КЗК-3219-0115000 (лист 3)
Стяжки КЗК-3219-0115040, КЗК-3219-0115040-01, КЗК-3219-0115040-02
Редуктор КЗК-12-0123000
Водило КЗК-12-0123020
Пружина КЗР 0202780А-01
Установка роторного соломосепаратора КЗК-3219-0212000-01
Соломосепаратор роторный КЗК-3219-0212010А-01 (лист 1)
Соломосепаратор роторный КЗК-3219-0212010А-01 (лист 2)
Соломосепаратор роторный КЗК-3219-0212010А-01 (лист 3)
Соломосепаратор роторный КЗК-3219-0212010А-01 (лист 4)
Соломосепаратор роторный КЗК-3219-0212010А-01 (лист 5)
Горловина КЗК-3321-1-0212020
Установка трубопроводов КЗК-3219-0212220
Установка капота КЗК-3219-0228300А-01
Капот КЗК-3219-0228000А
Фартук КЗК-3219-0212380А
Редуктор КЗК-16-1-0204000
Редуктор КЗК-16-6-0204000
Опора КЗК-3219-0212290
Ротор КЗК-3219-0213200A и КЗК-3219-0213200A-01
Опора КЗК-3219-0213550
Ступица КЗК-16-1-0213410
Элеватор колосовой КЗК 0208000А-04
Цепь элеватора КЗР 0208080Г
Боковина левая КЗК-3219-0202250
Боковина правая КЗК-3219-0202260
Тяга КЗК-3219-0205020 и КЗК-3219-0205020-01
Рычаг КЗК-3219-0205060 и КЗК-3219-0205060-01
Шкив КЗК-3219-0205130
Рычаг КЗК 0202400В
Пружины КЗК 0202840А и КЗК-10-0202850
Стяжка КЗК 0202990А
Рычаг КЗК-10-0202440
Шатун КЗР 0202030Е
Шасси КЗК-3219-0111000А (общий вид)
Шасси КЗК-3219-0111000А (вид сбоку)
Шасси КЗК-3219-0111000 (вид сверху)
Установка вентилятора КЗК-3219-0217500
Вентилятор КЗК-3219-0217000 (лист 1)
Вентилятор КЗК-3219-0217000 (лист 2)
Крылач КЗК-3219-0217020
Кожух КЗК-3219-0217100
Блок шнеков КЗК-3219-0218010 (лист 1)
Блок шнеков КЗК-3219-0218010 (лист 2)
Блок шнеков КЗК-3219-0218010 (лист 3)
Мост управляемых колёс КЗК-3219-0109200 (лист 1)
Мост управляемых колёс КЗК-3219-0109200 (лист 2)
Гидроцилиндр УЭС-7-0109200
Мост ведущих колес КЗК-12А-12-0107000 (лист 1)
Мост ведущих колес КЗК-12А-12-0107000 (лист 2)
Редуктор бортовой КЗК-12А-12-0107020 (изображено) и КЗК-12А-12-0107020-01 (зеркальное отображение)
Кронштейн КЗК-12А-12-0107110 (изображено) и КЗК-12А-12-0107110-01 (зеркальное отображение)
Водило КЗК-12А-12-0107210
Колесо КЗК-12А-12-0107220
Коробка передач КЗК-12А-12-0107030 (корпус, крышки)
Коробка передач КЗК-12А-12-0107030 (валы, шестерни)
Дифференциал КЗК-12-0107540
Механизм переключения передач КЗК-12-0107560
Гидроцилиндр КЗК-12-0107200-01
Установка колес КЗК-3219-0100020
Элеватор зерновой КЗК-3219-0214000 (лист 1)
Элеватор зерновой КЗК-3219-0214000 (лист 2)
Элеватор зерновой КЗК-3219-0214000 (лист 3)
Элеватор зерновой КЗК-3219-0214000 (лист 4)
Цепь элеватора КЗК-10-0214160
Установка бункера КЗК-3321-1-0203000
Установка крыши бункера КЗК-3219-0134500
Бункер КЗК-3321-1-0203010 (лист 1)
Бункер КЗК-3321-1-0203010 (лист 2)
Редуктор КЗК-12-0209100-02
Стакан КЗК-12-0209020
Вибродно КЗК-12А-1-0226000 (лист 1)
Вибродно КЗК-12А-1-0226000 (лист 2)
Вибропобудитель КЗК-10-0226100
Звездочка КЗР 0219070Б
Тяга КЗК-3219-0203300 и КЗК-3219-0203300-01
Раскос КЗК-3219-0203340 и КЗК-3219-0203340-01
Установка шнека загрузного КЗК-3321-1-0216000А
Шнек загрузной КЗК-3321-1-0216010А
Редуктор КЗК-3321-1-0245000
Стакан КЗК-3321-1-0245010
Стакан КЗК-3321-1-0245020
Шнек с отводом КЗК-3219-0206000-01
Отвод с редуктором КЗК-12-0206230А
Редуктор КЗК-12-0210000А
Стакан КЗК-12-0210010
Стакан КЗК-12-0210020
Установка соломоизмельчителя КЗК-3321-2-0290600 (лист 1)
Установка соломоизмельчителя КЗК-3321-2-0290600 (лист 2)
Установка соломоизмельчителя КЗК-3321-2-0290600 (лист 3)
Соломоизмельчитель КЗК-3321-2-0290000 (лист 1)
Соломоизмельчитель КЗК-3321-2-0290000 (лист 2)
Соломоизмельчитель КЗК-3321-2-0290000 (лист 3)
Ротор измельчителя КЗК-12-0290140А
Дефлектор КЗК-3219-0290020 (лист 1)
Дефлектор КЗК-3219-0290020 (лист 2)
Граблины КЗК-10-0290100 и КЗК-10-0290100-01
Заслонка КЗК-3219-0290160
Установка газовых пружин КЗК-1420-0290080 и КЗК-1420-0290080-01
Установка привода соломоизмельчителя КЗК-3219-0290400
Шкив КЗК-3219-0290090
Опора КЗК-3219-0290330
Рычаг КЗК-3219-0290410
Пружина КЗК-3219-0290470
Установка первой ступени привода соломоизмельчителя КЗК-3321-1-0291000-01
Рычаг КЗК-3219-0291060
Ролик обводной КЗК-3219-0291140
Шкив КЗК-3321-1-0291010
Пружина КЗК-3219-0291180
Установка половоразбрасывателя КЗК-12-0291100-01
Половоразбрасыватель КЗК-13-0291000
Привод главного контрпривода КЗК-3321-0220000-01
Пружина КЗК-12-3-0220050
Рычаг КЗК-12-3-0220210
Ограничитель КЗК-12-3-0220260
Шкив КЗК-3219-0220050
Гидромуфта КЗК-14-0125040
Установка привода соломосепаратора КЗК-3219-0212100А
Ролик обводной КЗК-3219-0212310
Ролик обводной КЗК-3219-0212320
Ролик обводной КЗК-3219-0212910
Натяжник КЗК-3219-0212650
Пружина КЗК-3219-0212810
Установка привода выгрузки КЗК-12А-1-0221100
Рычаг КЗК-12-0221110
Пружина КЗК-12-0221140А
Ролик КЗК-12-0125110А-01
Установка привода вибродна КЗК-3321-2-0223000
Рычаг КЗК-12А-1-0223010
Пружина КЗК-12А-1-0223070
Пружина КЗК 0202840А-03
Пружина КЗК-10-0100580
Рычаг КЗК-10-0100590
Рычаг КЗК-10-0100620
Рычаг КЗК-10-0100680А
Пружина КЗК-10-0100720А
Установка двигателя КЗК-3321-1-0106000
Фильтр воздушный КЗК-3321-0106300
Воздухозаборник вращающийся КЗК-12-3-0126420
Подключение фильтра воздушного КЗК-3321-2-0106330
Установка глушителя КЗК-3321-1-0106060А
Труба КЗК-12-3-0126880
Установка ограждения КЗК-3321-2-0106270
Двигатель КЗК-3321-1-0106010 (лист 1)
Двигатель КЗК-3321-1-0106010 (лист 2)
Двигатель КЗК-3321-1-0106010 (лист 3)
Радиатор КЗК-3321-1-0106040
Установка гидроарматуры КЗК-3219-0601710
Установка радиатора КЗК-3321-1-0106050
Сетка КЗК-3321-1-0106510
Установка бачка расширительного КЗК-3321-1-0106070А
Мультипликатор КЗК-3321-1-0114000-02
Шестерня КЗК-12-0114010
Ось КЗК-1420-0114020
Установка рукава КЗК-3321-1-0602900
Установка трубопроводов КЗК-3321-2-0106100
Установка топливопроводов КЗК-3321-2-0126100
Установка сливных рукавов КЗК-4118-0106490
Растяжка КПС-4-0106310
Амортизатор СЭУ 0400410
Установка электрооборудования моторной установки КЗК-3321-2-0726000А
Установка элементов пневмосистемы КЗК-3321-2-0800010
Клапан электромагнитный КЗК-2124-0800180
Установка топливного оборудования КЗК-3321-2-0126600 (лист 1)
Установка топливного оборудования КЗК-3321-2-0126600 (лист 2)
Установка топливного оборудования КЗК-3321-2-0126600 (лист 3)
Клапан сливной КВС-1-0101180
Установка кабины УКЗ-01-0100000
Кабина УКЗ-01-0101000 (лист 1)
Кабина УКЗ-01-0101000 (лист 2)
Кабина УКЗ-01-0101000 (лист 3)
Установка опор КЗК-3321-1-0100040
Установка площадки управления УКЗ-01-0200000
Блок управления УКЗ-01-0205000
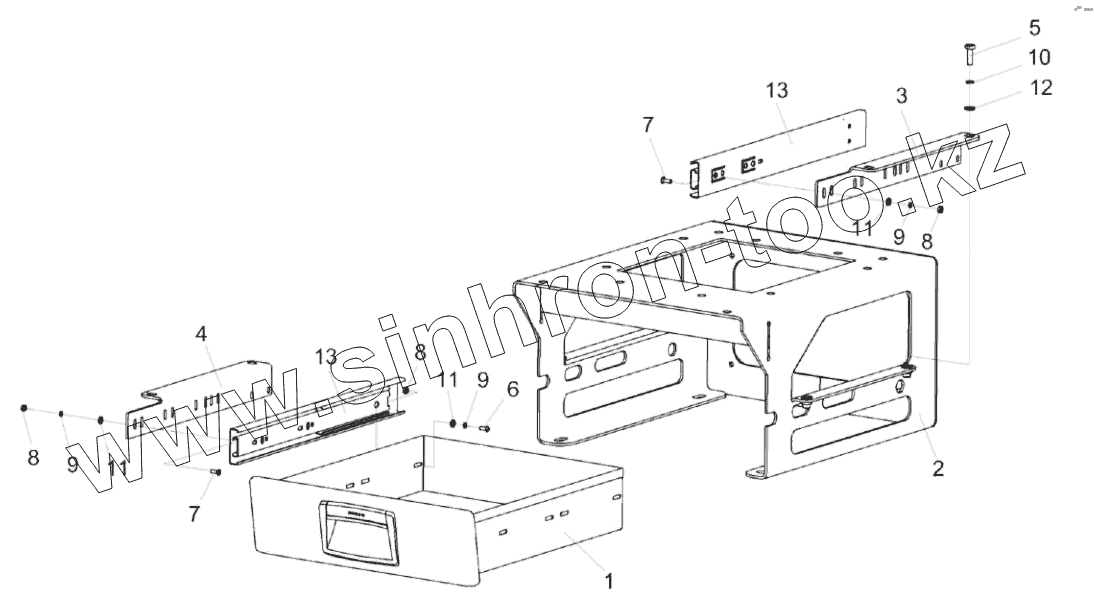
Установка кронштейна УКЗ-01-0230010
Облицовка УКЗ-01-0230000
Колонка рулевая УКЗ-01-0223100
Каркас КЗК-13-0119240
Колено верхнее КЗК-13-0119260
Кардан 50-3401060
Привод КЗК-13-0119300
Установка колеса рулевого КЗК-12-0122600-02
Пульт управления УКЗ-01-0250000
Блок педалей УКЗ-01-0263100
Установка привода ГСТ УКЗ-01-0205110
Дверь УКЗ-01-0101240
Дверь УКЗ-01-0101250
Крыша УКЗ-01-0101230
Потолок УКЗ-01-0101280
Установка климатическая КЗК-3321-1-0113000
Установка оборудования кондиционера КЗК-3321-1-0113010 (Лист 1)
Установка оборудования кондиционера КЗК-3321-1-0113010 (Лист 2)
Установка компрессора КЗК-3219-0113030
Установка конденсатора КЗК-3219-0113080
Установка ресивера КЗК-8-3-0113050
Установка хомута КЗК-1420-0113070
Установка испарителя КЗК-3321-1-0113020
Установка блока испарительно-отопительного КЗК-1420-0113060
Установка стеклоочистителя УКЗ-01-0101160
Клапан КВК 0120610
Установка стеклоомывателя КЗК-12-0120460
Установка тросов управления стояночным тормозом УКЗ-01-0261000
Установка троса ГСТ КЗК-3219-0119620
Установка трубопроводов УКЗ-01-0263000
Установка механизма переключения передач УКЗ-01-0265000
Щит КЗК-3321-0100510
Настил КЗК-3321-2-0100320
Установка опоры огнетушителя КЗК-3219-0100390
Установка опоры КЗК-3219-0100590
Установка канистры КЗК-3219-0100620
Установка капотов и ограждений КЗК-3321-1-0128000 (лист 1)
Установка капотов и ограждений КЗК-3321-1-0128000 (лист 2)
Кожухи боковые КЗК-12А-1-0128530 и КЗК-12А-1-0128530-01
Замок КВС-1-0160240
Упор КЗК-12-0128950
Установка прицепного устройства КЗК-3219-0101030-01
Установка крыши КЗК-3219-0124000
Установка площадки обслуживания КЗК-3321-2-0131000
Лестница КЗК-1420-0131830
Установка бампера КЗК-3321-1-0132000
Фары КЗК-3321-1-0132020и КЗК-3321-1-0132030
Установка трапа КЗК-3321-2-0117000
Установка поручня КЗК-3321-2-0117040
Тяга КЗК-12-0117090А
Установка щитка КЗК-3321-2-0117050
Рама КЗК-12-0117010Б
Трап КЗК-12-0117030А
Гидросистема КЗК-3321-1-0600000
Гидросистема рабочих органов и рулевого управления КЗК-3321-1-0602000 (лист 1)
Гидросистема рабочих органов рулевого управления КЗК-3321-1-0602000 (лист 2)
Гидросистема рабочих органов и рулевого управления КЗК-3219-0602000 (лист 3)
Насос-дозатор КЗК-3219-0602100
Гидроблок пятисекционный КЗК-3219-0602310
Манометр КЗК-3219-0602390
Фильтр сливной КЗК-3219-0602400
Кран КЗК-10-0602380
Гидроцилиндр КЗК-3219-0602500
Гидроцилиндр КЗК-10-0602500
Гидроцилиндр КЗК-12-0602310
Фильтр напорный КЗК-12-0602620
Коллектор КЗК-3321-1-0602630
Гидроблок односекционный КЗК-12-0602670-01
Гидроцилиндр КЗК-12-0602700 и КЗК-12-0602730-01
Гидроцилиндр КЗК-12-0602740
Манометр УЭС-7-0602810
Дроссель с обратным клапаном КЗК 0602520А и КЗК 0602520А-01
Полумуфта внутренняя МС 12-3-020-01
Пневмогидроаккумулятор УЭС-7-0602470
Гидросистема низкого давления КЗК-3219-0609000
Гидроблок низкого давления КЗК-3219-0609310
Гидронасос двухсекционный КЗК-3219-0601120
Гидронасос двухсекционный КЗК-12А-1-0602140
Бак масляный КЗК-12-0601410
Гидросистема привода ходовой части КЗК-3219-0601000 (лист 1)
Гидросистема привода ходовой части КЗК-3219-0601000 (лист 2)
Фильтр всасывающий КЗК-12-0601070
Гидроблок доворота вала мотора ГСТ УЭС-16-0601060
Установка рукавов радиатора КЗК-3219-0601720
Гидросистема половоразбрасывателя молотилки КЗК-3219-0612010
Гидромотор КЗК-12-0601500-01
Установка гидронасосов КЗК-12-16-0100200-02
Электрооборудование КЗК-3321-1-0700000
Установка электрооборудования молотилки КЗК-3321-1-0721000 (лист 1)
Установка электрооборудования молотилки КЗК-3321-1-0721000 (лист 2)
Установка электрооборудования молотилки КЗК-3321-1-0721000 (лист 3)
Установка БИУС.02 КЗК-3219-0701230
Установка шкафа электрического КЗК-3321-1-0722020, КЗК-3321-1-0722080
Блок реле КЗК-3321-1-0700870
Блок реле КЗК-3321-1-0700850
Установка электрооборудования кабины КЗК-3321-1-0722000
Установка электрооборудования колонки рулевой КЗК-3321-1-0723000
Установка электрооборудования блока управления КЗК-3321-1-0724000
Установка электрооборудования пульта управления КЗК-3321-1-0725000 (лист 1)
Установка электрооборудования пульта управления КЗК-3321-1-0725000 (лист 2)
Блок реле КЗК-3321-1-0700860
Сборка колодок КЗК-3321-1-0700810
Пневмосистема КЗК-3321-2-0800000
Ресивер КЗК-3321-2-0800030
Ресивер КЗК-3321-2-0800050
Штуцер ГШМ 6022240-03
Пневмовывод КНС-6028-0180110
Привод наклонной камеры КЗК-12-16-0125000 (лист 1)
Привод наклонной камеры КЗК-12-16-0125000 (лист 2)
1
2
3
4
5
6
7
7
8
8
8
9
9
9
10
11
11
11
12
13
13
Позиция на иллюстрации
Заводской номер детали
Название детали
УКЗ-01-0230010
УКЗ-01-0230010
Установка кронштейна
1
УКЗ-01-0230080
Ящик
2
УКЗ-01-0230460
Кронштейн сиденья
3
УКЗ-01-0230416
Уголок
4
УКЗ-01-0230416-01
Уголок
5
Болт М6-6eх20-7798
Болт М6-6eх20-7798
6
Винт B.М4-6EХ10-17473
Винт
7
Винт B2.М4-6EХ12-17475
Винт
8
Гайка М4-6G-5927
Гайка М4-6G-5927
9
Шайба 4Т 65Г-6402
Шайба 4Т 65Г-6402
10
Шайба 6 65Г-6402
Шайба 6 65Г-6402
11
Шайба C.4.01-11371
Шайба
12
Шайба C.6.01-11371
Шайба C.6.01-11371
13
DB4512Zn/350
Направляющая шариковая
Содержащиеся в справочниках-каталогах запасные части и детали не предлагаются к продаже, а носят исключительно информационный характер
Дополнительная информация
×
Название:
Номер:
Примечание: