Вернуться на главную
Поиск
Каталоги запчастей к технике
Сельхозтехника
Гомсельмаш
КЗС-1218А-1
Установка контрпривода вариатора КЗК-12-0202500Б
Каталог запасных частей к технике: Гомсельмаш КЗС-1218А-1. Установка контрпривода вариатора КЗК-12-0202500Б
zoom-in
zoom-out
enlarge
shrink
circle-right
circle-left
file-text2
info
cart
Тип техники
Не выбрано
Легковые автомобили
Грузовые автомобили и прицепы
Автобусы
Сельхозтехника
Спецтехника
Двигатели
Мототехника
Марка
Не выбрано
AGCO
Amity
CASE IH
DongFeng
Fortschritt
Foton
Franz Kleine
Gaspardo
Great Plains
KRONE
KUHN
Lemken
Lovol
MacDon
Massey Ferguson
New Holland
TIGARBO
Vaderstad
Versatile
Wirax
Агро
Агротехмаш
Бобруйскагромаш (ОАО «УКХ «Бобруйскагромаш»)
БЭМЗ
ВгТЗ
Воронежсельмаш
ВТЗ
Гомсельмаш
ДКЗ
ЗАО "Техника-сервис"
ЗиД
КЗК
Кировец-Ландтехник
Клевер
Красная Звезда
Лидагропроммаш
Лидсельмаш
ЛТЗ
Машстройхолдинг
Минитракторы
Мордовагромаш
МТЗ
Навигатор-Новое машиностроение
Нефтекамский автозавод
ПТЗ
Ремком
РСМ
Сибсельмаш
ТеКЗ
ТКЗ
ХЗТСШ
ХТЗ
ЮМЗ
Модель
Не выбрано
FS80-2 (2017)
KЗС-812 (2016)
KЗС-812 (2017)
KЗС-812 (2018)
KЗС-812 (2021)
KЗС-812 (ПАЛЕССЕ GS812 PRO) (2022)
KЗС-812 (ПАЛЕССЕ GS812) (2021)
KС-100 (2020)
KС-100 (2021)
KС-100 (2022)
KС-150С (2022)
KС-200 (2017)
MS280F (2022)
ЖГР-4.5-1 (2011)
ЖГР-4.5-1 (2018)
ЖЗК-5-1 (2021)
ЖЗК-5-2 (2021)
ЖЗК-6-5 (2008)
ЖЗК-6-5 (2020)
ЖЗК-7-5 (2008)
ЖЗК-7-5 (2011)
ЖЗК-7-7 (2020)
ЖЗК-9 (2020)
ЖЗС-6, 7 (2010)
ЖЗС-9-1 (2018)
ЖЗС-9-2 (2018)
ЖЗС-9-2 (2020)
ЖЗС-9-2 (2021)
ЖР-5 (2021)
КВК-1-0900000 (2018)
КВК-1-0900000 (2021)
КВК-6025 (2015)
КВК-800 (FS80) (2017)
КВК-800 (FS80-2) (2010)
КВК-800 (FS80-2) (2014)
КВК-800 (FS80-5) (2013)
КВК-800 (FS80-5) (2016)
КВК-800 (FS80-7) (2017)
КВК-800 ПАЛЕССЕ FS80-2 (2019)
КВК-800-8 ПАЛЕССЕ FS80-8 (2018)
КВК-800-8 ПАЛЕССЕ FS80-8 (2021)
КВК-8060 (2012)
КВК-8060 (2017)
КВК-8060 (2021)
КВК-8060 (2021)
КВС-1-3900000 (2007)
КВС-4-3900000 (2010)
КГС-0200000 (2010)
КГС-0800000 (2010)
КГС-0900000 (2010)
КДП-3000 Палессе FT40 (2008)
КЗР-10 (2007)
КЗС-10К (ПОЛЕСЬЕ) (2005)
КЗС-10К Палессе GS10 (2012)
КЗС-10К Палессе GS10 (2013)
КЗС-10К Палессе GS10 (2018)
КЗС-10К Палессе GS10 (2021)
КЗС-1218 (ПАЛЕССЕ GS12) дополнение 1 (2020)
КЗС-1218 (ПАЛЕССЕ GS12) дополнение 2 (2020)
КЗС-1218 часть 1 (2013)
КЗС-1218 часть 2 (2013)
КЗС-1218А-1 (2015)
КЗС-1218А-1 (2018)
КЗС-1218А-1 (2019)
КЗС-1218А-1 (ПАЛЕССЕ GS12 А1) Дополнение (2020)
КЗС-1420 часть 1 (2014)
КЗС-1420 часть 2 (2014)
КЗС-1624-1 (2014)
КЗС-1624-1 (2017)
КЗС-2124КР (2018)
КЗС-3221КР ПАЛЕССЕ GH800 (2021)
КЗС-4118К ПАЛЕССЕ GS 4118 (2019)
КЗС-575 (2016)
КЗС-7 (2010)
КЗС-812 (2013)
КЗС-812С (2011)
КЗС-812С (2014)
КОК-6 (2011)
КОК-6-3, КОК-6-3-01, КОК-6-3-02 (2020)
КОК-8-2 (2012)
КОК-8-4 (2018)
КПК Полесье-3000
КПК Полесье-3000 (2006)
КПК-3000 (ПАЛЕССЕ FH40) (2010)
КПК-3000А (Палессе FH40A) (2010)
КПР-6 (2005)
КПР-9 Полесье-СН-90 (2006)
КСК-100А (2002)
КСК-100А-3 (2005)
КСК-600 (2007)
КСК-600 (2011)
КСК-600 (2015)
КСК-600 (2017)
КСК-600А (2020)
КСН-6 (2005)
ПЗ (2019)
ПКК-0200000А-06 (2010)
ПКК-0350000 (2010)
ПКК-0400000А (2010)
ПКК-0460000 (2010)
ПКК-1-0350000А (2010)
ПР (2019)
ПР-9 (2021)
Приспособление ПР-4 (2013)
СТВ-12 (2005)
УЭС Полесье-250 (2006)
УЭС-2-250А (2010)
УЭС-2-280А (2010)
УЭС-2-280А (2018)
УЭС-2-280А ПАЛЕССЕ 2U280А (2020)
УЭС-280 (2017)
УЭС-280 ПАЛЕССЕ U280 (2020)
Схема
>
Не выбрано
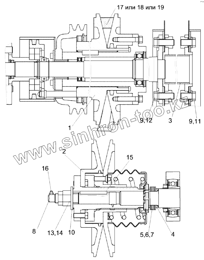
Молотилка самоходная КЗК-12А-1-0100000А-01 (вид слева)
Молотилка самоходная КЗК-12А-1-0100000А-01 (вид справа)
Молотилка самоходная КЗК-12А-1-0100000А-01 (вид спереди)
Камера наклонная КЗК-12А-1-1800000А-02
Механизм продольного копирования КЗК-12А-1-1805000
Установка рамки переходной КЗК-12А-1-1808000
Рамка переходная КЗК-12А-1-1808000
Рамка переходная КЗК-12А-1-1808000
Рычаг КЗК-12-1808500
Привод транспортера наклонной камеры
Ограждение КЗК-12-1800140
Звездочка МКС 0514010-01
Установка вентилятора КЗК-12А-1-1809000
Крышка КЗК-12А-1-1802000
Муфта предохранительная КЗК-12А-1-1803090
Вентилятор КЗК-12А-1-1809000
Ролик натяжной КЗК-12А-1-1809040
Установка вала верхнего КЗК-12-1813000Б
Вал верхний КЗК-12-1813000Б
Установка вала нижнего КЗК-12-1816000В
Вал нижний КЗК-12-1816000В
Установка транспортера КЗК-12-1817000В
Успокоитель КЗК-12-1810230
Установка вала КЗК-12-1800611
Гидрореверс КЗК-12-1804100
Гидроцилиндр КЗК-12-1790200А
Гидромотор КЗК-12-1790990А
Система гидравлическая камеры наклонной КЗК-12-1790000А
Привод наклонной камеры КЗК-12А-1-0125000
Привод наклонной камеры КЗК-12А-1-0125000
Очистка КЗК-12А-1-0202000 (вид слева)
Очистка КЗК-12А-1-0202000 (вид справа)
Установка шкивов КЗК-12-0202860А-01 и КЗК-10-0202010-01
Установка шкивов на шнек распределительный КЗК-10-0202770А
Установка цепного привода элеватора колосового
Муфта фрикционная КЗК 0219020Б-01
Установка шатуна КЗР 0202030Е и шкивов КЗК-12-0202109А, КЗК-12-0202111А
Установка привода соломотряса
Установка шкива КЗК-12-0202810
Установка привода доски стрясной КЗК-12-0280200 (вид слева)
Установка привода доски стрясной КЗК-12-0280200 (вид справа)
Доска стрясная КЗК-12-0280200
Рычаг КЗР 0202160Г
Установка привода стана решетного верхнего КЗК-10-0260000
Стан решетный верхний КЗК-10-0260000
Установка контрпривода вариатора КЗК-12-0202500Б
Контрпривод вариатора КЗК-12-0202500Б
Приводы КЗК-12-0202690Б и КЗК-12-0202700
Боковина левая КЗК-12-0202250
Боковина правая КЗК-12-0202260
Шкив ведомый КЗК-12-0217400
Установка рычага КЗК 0202430В
Установка привода устройства домолачивающего
Устройство домолачивающее КЗК 0207000В-01
Аппарат молотильный КЗК-12А-1-0102000 (установка битера отбойного)
Аппарат молотильный КЗК-12А-1-0102000 (установка барабана молотильного)
Аппарат молотильный КЗК-12А-1-0102000 (установка барабана ускоряющего)
Аппарат молотильный КЗК-12А-1-0102000 (привод отбойного битера)
Аппарат молотильный КЗК-12А-1-0102000 (камнеуловитель, подбарабанья)
Вариатор барабана КЗК 0108100
Фланец КЗК-12-0102200
Фланец КЗК-12-0102750
Подбарабанье КЗК-12-0103000
Подбарабанье КЗК-12-0103030
Барабан молотильный КЗК-12-0104100
Установка механизма подъема подбарабаний КЗК-12-0115000
Вариатор барабана КЗК 0123000
Фланец КЗК-10-0102070
Опора КЗК 0102350 и КЗК 0102350-01
Пружина КЗР 0202780А-01
Соломотряс КЗК-12-0212040
Вал коленчатый ведущий КЗК-12-0212070
Вал коленчатый ведомый КЗК-12-0212080
Рычаг КЗК 0202400В
Рычаг КЗК 0202410В
Элеватор колосовой КЗК 0208000А-01
Рычаг КЗК-10-0202440
Пружины КЗК-10-0202840 и КЗК-10-0202850
Пружина КЗК 0202840А
Стяжка КЗК 0202990А
Маслопровод КЗК-10-0202870 и КЗК-10-0202870-01
Шасси КЗК-12-0111000В
Мост ведущих колес КЗК-12-0107500
Редуктор бортовой КЗК-10-0107200 (лист 1)
Редуктор бортовой КЗК-10-0107200 (лист 2)
Редуктор бортовой КЗК-10-0107200-04 (лист 1)
Редуктор бортовой КЗК-10-0107200-04 (лист 2)
Диски нажимные МК-23М.03.030А
Водило КЗК-10-0107210
Колесо зубчатое МК-23М.03.210
Гидроцилиндр тормоза МК-23М.03.220А
Коробка передач КЗК-12-0107530 (корпус, крышки)
Коробка передач КЗК-12-0107530 (валы, шестерни)
Дифференциал КЗК-12-0107540
Механизм переключения передач КЗК-12-0107560
Гидроцилиндр блокировки диапазонов 3518020-46330
Муфта КВС-1-0107050
Муфта КВС-1-0107060
Мост управляемых колёс КЗК-10-0109300 (лист 1)
Мост управляемых колёс КЗК-10-0109300 (лист 2)
Гидроцилиндр УЭС-7-0109200
Вентилятор КЗК-10-0217000
Крылач КЗК-10-0217020А
Кожух сдвоенный КЗК-10-0217100
Блок шнеков КЗК-10-0218010А
Установка рамы стана решетного и решета
Устройство тяговое КЗР 0232000
Устройство прицепное КИС 0122000А
Пружина КЗК 0202840А-03
Пружина КЗК-10-0100580
Рычаг КЗК-10-0100590
Рычаг КЗК-10-0100620
Элеватор зерновой КЗК-10-0214000-01 (лист 1)
Элеватор зерновой КЗК-10-0214000-01 (лист 2)
Элеватор зерновой КЗК-10-0214000-01 (лист 3)
Элеватор зерновой КЗК-10-0214000-01 (лист 4)
Цепи элеватора КЗК-10-0214140 и КЗК-10-0214160
Муфта фрикционная КЗК-10-0219100
Шнек загрузной зерновой КЗК-12А-1-0216000
Рычаг КЗК-10-0100680А
Пружина КЗК-10-0100720А
Бункер КЗК-12А-1-0203000 (лист 1)
Бункер КЗК-12А-1-0203000 (лист 2)
Бункер КЗК-12А-1-0203000 (лист 3)
Бункер КЗК-12А-1-0203000 (лист 4)
Установка вибродна КЗК-12-3-0226000 (лист 1)
Установка вибродна КЗК-12-3-0226000 (лист 2)
Вибропобудитель КЗК-12-3-0226010
Гидромотор вибродна КЗК-12А-1-0602100
Редуктор КЗК-12-0209100-02
Стакан КЗК-12-0209020
Звездочка КЗР 0219070Б
Установка крыши бункера КЗК-14-0204000Б
Крыши КЗК-14-0204010В и КЗК-14-0204020В
Клин КЗК-14-0204030Б
Установка механизма трансформации КЗК-14-0204040А
Электромеханизм бункера КЗК-1420-0701090
Установка пробоотборника и раскосов КЗК-12-0203600А
Шнек с отводом КЗК-12-0206000Б
Отвод с редуктором КЗК-12-0206230А
Редуктор КЗК-12-0210000А
Стакан КЗК-12-0210010
Стакан КЗК-12-0210020
Установка соломоизмельчителя КЗК-10-0290600 (лист 1)
Установка соломоизмельчителя КЗК-10-0290600 (лист 2)
Соломоизмельчитель КЗК-10-0290000А
Опора ножевая КЗК-10-0290030А
Ротор измельчителя КЗК-10-0290140А
Шкив КЗК-12-0290090А
Заслонка КЗК-10-0290160Б
Рычаг КЗК-10-0290260
Дефлектор КЗК-12-0290320 (лист 1)
Дефлектор КЗК-12-0290320 (лист 2)
Граблины КЗК-10-0290100 и КЗК-10-0290100-01
Пружина КЗК-10-0290660
Установка бака топливного КЗК-12-0126600 (лист 1)
Установка бака топливного КЗК-12-0126600 (лист 2)
Установка двигателя КЗК-12-3-0106000-01 (лист 1)
Установка двигателя КЗК-12-3-0106000-01 (лист 2)
Двигатель КЗК-12-3-0106010А-01 (лист 1)
Двигатель КЗК-12-3-0106010А-01 (лист 2)
Установка гидронасосов КЗК-12-3-0106730
Насос двухсекционный КЗК-12-0602910А
Установка гидронасосов КЗК-12-3-0106740
Насос двухсекционный КЗК-12-0602940А
Установка гидронасосов КЗК-12-3-0106750
Насос двухсекционный КЗК-12-0601400
Насос КЗК-12-0602900
Установка главного привода КЗК-12-3-0106030, КЗК-12-3-0106030-01, КЗК-12-3-0106030-02
Мультипликатор КЗК-12-0114000
Мультипликатор КЗК-12-0114000-01
Опора КЗК-12-3-0220090А
Радиаторы КЗК-12-3-0106040А, КЗК-12-3-0106040А-01, КЗК-12-3-0106040А-02
Установка вентилятора КЗК-12-3-0126610
Пружина КЗК-12-3-0126640
Привод вентилятора КЗК 0106370А
Воздухозаборник КЗК-12-3-0112000
Рама КЗК-12-3-0112080
Пылесъемник КЗК-12-3-0112130А
Установка бачка расширительного КЗК-12-3-0106070А
Установка ограждения КЗК-12-3-0106330Г-01
Установка сливных рукавов КЗК-12-3-0106490
Устройство натяжное КЗК-10-0112010
Пружина КЗС 0131210
Электрооборудование установки двигателя КЗК-12-3-0106000-01
Установка глушителя КЗК-12-3-0126520
Установка трубы воздушной КЗК-12-3-0126350А
Установка вентилятора КЗК-12-3-0112240
Вентилятор КЗК-12-3-0112100
Привод главного контрпривода КЗК-12-3-0220000
Пружина КЗК-12-3-0220050
Рычаг КЗК-12-3-0220210
Ограничитель КЗК-12-3-0220260
Привод выгрузки КЗК-12-0221100А (лист 1)
Привод выгрузки КЗК-12-0221100А (лист 2)
Рычаг КЗК-12-0221110
Пружина КЗК-12-0221140А
Площадка управления КЗК-12А-1-0119000А
Рычаги и трубопроводы площадки управления
Установка сиденья КЗК-12-0119290Б, КЗК-12-0119290Б-01
Сиденье КЗК-12-0119290Б
Рычаг КЗК-12-0119920Б
Сиденье КЗК-12-0119290Б-01
Электрооборудование блока управления КЗК-12-0119890А
Кронштейн КЗК-12-0119300
Пульт управления КЗК-12А-1-0119500А
Пульт управления КЗК-12А-1-011951
Рычаг КЗК-12-0119440В
Установка электрооборудования пульта управления КЗК-12А-1-0725000А (лист 1)
Установка электрооборудования пульта управления КЗК-12А-1-0725000A (лист 2)
Панель выключателей КЗК-12А-1-0700450А
Колонка рулевая КЗК-12А-1-0119230А
Привод КЗК-12А-1-0119240
Установка насоса-дозатора КЗК-10-0602090
Кардан 50-3401060
Установка колеса рулевого КЗК-12-012260
Колесо рулевое КЗК-12-0122300
Установка электрооборудования рулевой колонки КЗК-12А-1-0723000А
Установка колонки привода УЭС 0300710
Колонка привода УЭС 0300710
Установка механизма КПП КЗК-12-0122500
Установка тросов управления стояночным тормозом КЗК-12-0119610
Установка троса ГСТ КЗК-12-0119620В
Установка трубопроводов моста ведущих колес КЗК-12-0119630
Установка тросов управления двигателем КЗК-12-0119640Г
Кабина КЗК-12-0120000 (лист 1)
Кабина КЗК-12-0120000 (лист 2)
Кабина КЗК-12-0120000 (лист 3)
Кабина КЗК-12-0120000 (лист 4)
Каркас КЗК-12-0120010
Дверь КЗК-12-0120330
Дверь КЗК-12-0120360
Крышка КЗК-12-0120530А
Электрооборудование кабины КЗК-12-0120000
Установки климатические КЗК-12-0113000В-01, КЗК-12-0113000В-02
Установки компрессора КЗК-12-0113030-01, КЗК-12-0113030-02 (лист 1)
Установки компрессора КЗК-12-0113030-01, КЗК-12-0113030-02 (лист 2)
Компрессоры КЗК-12-0113160А и КЗК-12-0113160А-01
Компрессоры КВС-1-0150630 и КВС-1-0150630-01
Установка испарителя КЗК-12-0113040-01
Установка испарителя КЗК-12-0113040-02
Установка стеклоомывателя КЗК-12-0120460
Установка бампера КЗК-12А-1-0132000
Фары КЗК-12А-1-0132040 и КЗК-12А-1-0132040-01
Установка трапа КЗК-12-0117000А
Рама КЗК-12-0117010Б
Трап КЗК-12-0117030А
Установка капотов и ограждений КЗК-12А-1-0128000 (вид спереди)
Установка капотов и ограждений КЗК-12А-1-0128000 (вид справа)
Установка капотов и ограждений КЗК-12А-1-0128000 (вид слева)
Кожухи боковые КЗК-12А-1-0128530 и КЗК-12А-1-0128530-01
Замок КВС-1-0160240
Панель КЗК-12-0128660А
Упор КЗК-12-0128950
Настил КЗК-12-0100320А
Установка капота КЗК-12А-1-0228350 (лист 1)
Установка капота КЗК-12А-1-0228350 (лист 2)
Капот КЗК-12А-1-0228020А
Замок КВС-1-0160240
Капот КЗК-12А-1-0228340-01
Крыша КЗК-12А-1-0228140
Установка ресиверов КЗК-2-12-0800010
Ресивер КЗК-2-12-0800030
Ресивер КЗК-2-12-0800050
Установка фильтра воздушного КЗК-12-3-0126340А
Воздухозаборник вращающийся КЗК-12-3-0126420
Гидросистема привода ходовой части КЗК-12-0601000Б (лист 1)
Гидросистема привода ходовой части КЗК-12-0601000Б (лист 2)
Фильтр всасывающий КЗК-12-0601070
Бак масляный КЗК-12-0601410
Крестовина КЗК-12-0601330
Гидросистема рабочих органов и рулевого управления КЗК-12А-1-0602000А (лист 1)
Гидросистема рабочих органов и рулевого управления КЗК-12А-1-0602000А (лист 2)
Гидросистема рабочих органов и рулевого управления КЗК-12А-1-0602000А (лист 3)
Гидроблок пятисекционный КЗК-12А-1-0602330
Гидроцилиндр КЗК-12-0602310
Полумуфты молотилки КЗК-12-0602330, КЗК-12-0602330-01, КЗК-12-0602330-02
Фильтр сливной КЗК-12-0602400
Фильтр напорный КЗК-12-0602620
Клапан-сигнализатор УЭС 0603660-01
Коллектор КЗК-12-0602630
Гидроблок односекционный КЗК-12-0602670
Гидроцилиндр КЗК-12-0602700 и КЗК-12-0602730-01
Тройник КЗК-12-0602770 и КЗК-12-0602780
Манометр КЗК-12-0602810
Дроссель с обратным клапаном КЗК 0602520А и КЗК 0602520А-01
Кран КЗК-10-0602380
Гидроцилиндр КЗК-10-0602500
Полумуфта внутренняя МС 12-3-020-01
Пневмогидроаккумулятор УЭС-7-0602470
Гидромотор КЗК-12-0601500-01
Гидроцилиндр КЗК-12-0602740
Пневмосистема КЗК-12-0800000А
Регулятор давления КЗК-12-0800190
Установка электрооборудования молотилки КЗК-12А-1-0721000А (вид слева)
Установка электрооборудования молотилки КЗК-12А-1-0721000А (вид справа)
Установка электрооборудования молотилки КЗК-12А-1-0721000А (вид спереди)
Установка электрооборудования молотилки КЗК-12А-1-0721000А (вид сверху)
Установка электрооборудования молотилки КЗК-12А-1-0721000А (шкаф электрический)
Схема приводов комбайна КЗС-1218А-1 (вид слева)
Схема приводов комбайна КЗС-1218А-1 (вид справа)
1
2
3
4
5
6
7
8
9
9
10
11
12
13
14
15
16
17
18
19
Позиция на иллюстрации
Заводской номер детали
Название детали
КЗК-12А-1-0202000
КЗК-12А-1-0202000
Очистка
1
КЗК-12-0202500Б
Контрпривод вариатора
2
КЗК-12-0217400
Шкив ведомый
3
КЗК-10-0202270А
Труба
4
КЗК-10-0217606
Втулка
5
КЗР0217432А
Шайба
6
КЗР0217432А-01
Шайба
7
КЗР0217432А-02
Шайба
8
КЗР0217616
Штуцер переходной
9
КСН0100636-02
Шайба
10
ПКК0100427
Шайба
11
БолтМ16-6eх40-7798
Болт М16-6eх40-7798
12
БолтМ16-6eх40-7798
Болт М16-6eх40-7798
13
ГайкаМ24х2-6G-2526
Гайка М24х2-6G-2526
14
ГайкаМ24х2-6G-5915
Гайка М24х2-6G-5915
15
Шпонка8х7х70-23360
Шпонка 8х7х70-23360
16
1.2-19853
Масленка
17
Ремень38х18-1440Li
Ремень
18
Ремень38х18х1500Lp
Ремень
19
Ремень38х18х1500Lp
Ремень
Содержащиеся в справочниках-каталогах запасные части и детали не предлагаются к продаже, а носят исключительно информационный характер
Дополнительная информация
×
Название:
Номер:
Примечание: