Каталог запасных частей к технике: Гомсельмаш КЗР-10. Редуктор конический (КЗР0209000Б)
1
2
3
4
5
6
7
8
9
10
11
12
12
13
13
14
14
15
16
17
18
18
18
18
19
20
21
22
22
23
24
25
26
27
28
29
30
31
32
33
33
33
34
35
36
37
38
39
40
41
42
42
42
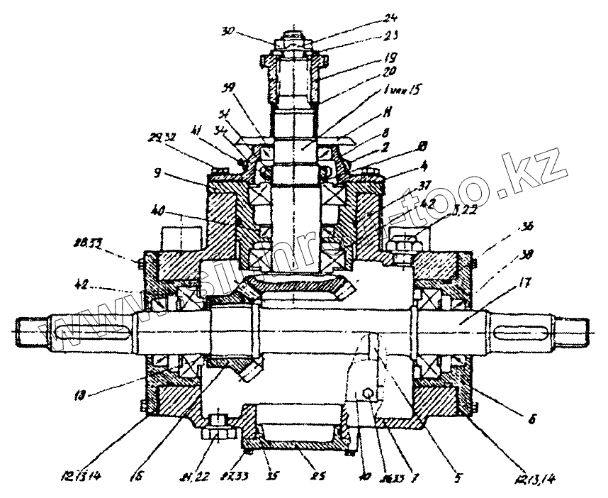
| Позиция на иллюстрации | Заводской номер детали | Название детали | |
|---|---|---|---|
| КЗР0209120 | КЗР0209120 | Стакан | |
| КЗР0209110 | КЗР0209110 | Стакан | |
| КЗР0209140 | КЗР0209140 | Крышка | |
| КЗР0209130 | КЗР0209130 | Крышка | |
| 1 | КЗР0209150 | Вал-шестерня | |
| 2 | КУЖ0108010 | Клапан предохранительный | |
| 3 | РФ00.01.000 | Сапун | |
| 4 | КЗР0209001 | Прокладка | |
| 5 | КЗР0209002 | Прокладка | |
| 6 | КЗР0209215 | Стакан | |
| 7 | КЗР0209221 | Корпус | |
| 8 | КЗР0209222 | Крышка | |
| 9 | КЗР0209223 | Стакан | |
| 10 | КЗР0209401 | Крышка | |
| 11 | КЗР0209421 | Щиток | |
| 12 | КЗР0209503 | Прокладка регулировочная | |
| 13 | КЗР0209503-01 | Прокладка регулировочная | |
| 14 | КЗР0209503-02 | Прокладка регулировочная | |
| 15 | КЗР0209611 | Вал-шестерня | |
| 16 | КЗР0209612 | Шестерня | |
| 17 | КЗР0209613 | Вал | |
| 18 | КЗР0209801 | Шайба | |
| 18 | КЗР0209801 | Шайба | |
| 19 | КЗР0210609А | Полумуфта | |
| 20 | КЗР0210801А | Втулка | |
| 21 | КУЖ0110615-01 | Пробка | |
| 22 | КИС0118005 | Прокладка | |
| 23 | ПКК0117434 | Шайба | |
| 24 | ПКК0117435 | Шайба | |
| 25 | ПКК0202113 | Крышка | |
| 26 | [Болт М10-6gх20-7796] | Болт М10-6gх20-7796 | |
| 27 | [Болт М10-6gх25-7796] | Болт М10-6gх25-7796 | |
| 28 | [Болт М10-6gх30-7796] | Болт М10-6gх30-7796 | |
| 29 | [Болт М6-6gх12-7798] | Болт М6-6gх12-7798 | |
| 30 | [Гайка М18х1,5-6g-5916] | Гайка М18х1,5-6g-5916 | |
| 31 | [Гайка М39х1,5-6Н-11871] | Гайка М39х1,5-6Н-11871 | |
| 32 | [Шайба 6.65Г-6402] | Шайба 6.65Г-6402 | |
| 33 | [Шайба 10.65Г-6402] | Шайба 10.65Г-6402 | |
| 34 | [Шайба 39.01-11872] | Шайба 39.01-11872 | |
| 35 | [Кольцо 068-072-25-18829/9833] | Кольцо 068-072-25-18829/9833 | |
| 36 | [Кольцо 090-95-30-18829/9833] | Кольцо 090-95-30-18829/9833 | |
| 37 | [Кольцо 098-105-46-18829/9833] | Кольцо 098-105-46-18829/9833 | |
| 38 | [Манжета 2.2-40х60-8752] | Манжета 2.2-40х60-8752 | |
| 39 | [Манжета 2.2-35х58-8752] | Манжета 2.2-35х58-8752 | |
| 40 | [Манжета 1.2-40х60-8752] | Манжета 1.2-40х60-8752 | |
| 41 | [Масленка 1.1-19853] | Масленка 1.1-19853 | |
| 42 | [Подшипник 7208А-27365] | Подшипник 7208А-27365 | |
| 42 | [Подшипник 7208А-27365] | Подшипник 7208А-27365 |
Содержащиеся в справочниках-каталогах запасные части и детали не предлагаются к продаже, а носят исключительно информационный характер