Каталог запасных частей к технике: Гомсельмаш КЗР-10. Редуктор (КЗР0003000Б)
1
2
3
4
5
6
7
8
9
10
11
12
13
14
15
16
17
18
19
20
21
22
23
24
25
26
27
28
29
30
31
32
33
34
35
36
37
38
39
40
41
42
43
44
45
46
47
48
49
50
51
52
53
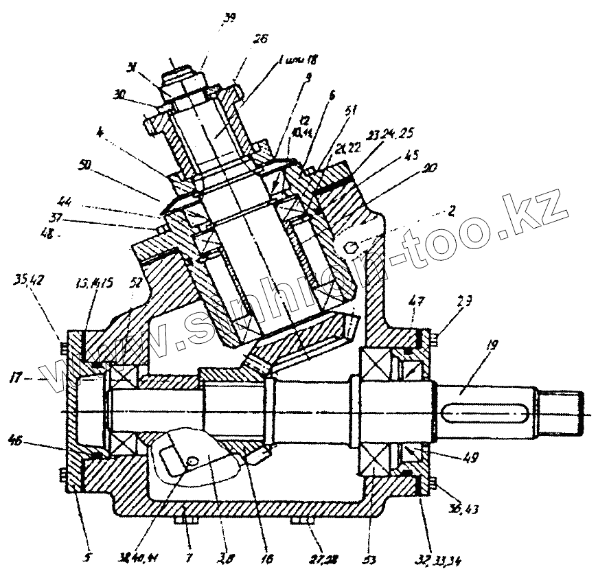
| Позиция на иллюстрации | Заводской номер детали | Название детали | |
|---|---|---|---|
| КЗР0003070Б | КЗР0003070Б | Стакан | |
| КЗР0003000Б | КЗР0003000Б | Редуктор | |
| КЗР0003050А | КЗР0003050А | Крышка | |
| КЗР0003100 | КЗР0003100 | Крышка | |
| 1 | КЗР0003110 | Вал-шестерня | |
| 2 | КУЖ0108010 | Клапан предохранительный | |
| 3 | КЗР0003002А | Прокладка | |
| 4 | КЗР0003102 | Втулка | |
| 5 | КЗР0003213А | Крышка | |
| 6 | КЗР0003216А | Стакан | |
| 7 | КЗР0003218 | Корпус | |
| 8 | КЗР0003401А | Крышка | |
| 9 | КЗР0003402 | Щиток | |
| 10 | КЗР0003502А | Прокладка регулировочная | |
| 11 | КЗР0003502А-01 | Прокладка регулировочная | |
| 12 | КЗР0003502А-02 | Прокладка регулировочная | |
| 13 | КЗР0003511А | Прокладка регулировочная | |
| 14 | КЗР0003511А-01 | Прокладка регулировочная | |
| 15 | КЗР0003511А-02 | Прокладка регулировочная | |
| 16 | КЗР0003612А | Шестерня | |
| 17 | КЗР0003615А | Втулка | |
| 18 | КЗР0003617Б | Вал-шестерня | |
| 19 | КЗР0003621 | Вал | |
| 20 | КЗР0003805А | Втулка | |
| 21 | КЗР0210502А | Прокладка | |
| 22 | КЗР0210502А-01 | Прокладка | |
| 23 | КЗР0210503А | Прокладка | |
| 24 | КЗР0210503А-01 | Прокладка | |
| 25 | КЗР0210503А-02 | Прокладка | |
| 26 | КЗР0210609А | Полумуфта | |
| 27 | КЗР0118005 | Прокладка | |
| 28 | КЗР0110615-01 | Пробка | |
| 29 | МКС0202101 | Крышка | |
| 30 | ПКК0117434 | Шайба | |
| 31 | ПКК0117435 | Шайба | |
| 32 | ПКК0202511 | Прокладка регулировочная | |
| 33 | ПКК0202511А-01 | Прокладка регулировочная | |
| 34 | ПКК0202511А-02 | Прокладка регулировочная | |
| 35 | [Болт М8-6gх25-7796] | Болт М8-6gх25-7796 | |
| 36 | [Болт М10-6gх20-7796] | Болт М10-6gх20-7796 | |
| 37 | [Болт М10-6gх25-7796] | Болт М10-6gх25-7796 | |
| 38 | [Гайка М6-6g-5915] | Гайка М6-6g-5915 | |
| 39 | [Гайка М18х1,5-6g-5916] | Гайка М18х1,5-6g-5916 | |
| 40 | [Шпилька 2М6-6gх25-22032] | Шпилька 2М6-6gх25-22032 | |
| 41 | [Шайба 6.65Г-6402] | Шайба 6.65Г-6402 | |
| 42 | [Шайба 8.65Г-6402] | Шайба 8.65Г-6402 | |
| 43 | [Шайба 10.65Г-6402] | Шайба 10.65Г-6402 | |
| 44 | [Кольцо В35-13942] | Кольцо В35-13942 | |
| 45 | [Кольцо В62-13942] | Кольцо В62-13942 | |
| 46 | [Кольцо 050-055-30-2-2-18829/9833] | Кольцо 050-055-30-2-2-18829/9833 | |
| 47 | [Кольцо 068-072-25-2-2-18829/9833] | Кольцо 068-072-25-2-2-18829/9833 | |
| 48 | [Кольцо 075-080-25-2-2-18829/9833] | Кольцо 075-080-25-2-2-18829/9833 | |
| 49 | [Манжета 1.2-35х58-8752] | Манжета 1.2-35х58-8752 | |
| 50 | [Манжета 2.2-35х58-1-8752] | Манжета 2.2-35х58-1-8752 | |
| 51 | [Подшипник 107-8338] | Подшипник 107-8338 | |
| 52 | [Подшипник 205-8338] | Подшипник 205-8338 | |
| 53 | [Подшипник 207А-8338] | Подшипник 207А-8338 |
Содержащиеся в справочниках-каталогах запасные части и детали не предлагаются к продаже, а носят исключительно информационный характер