Вернуться на главную
Поиск
Каталоги запчастей к технике
Сельхозтехника
Гомсельмаш
КВК-800 (FS80-7)
Установка колонки привода УЭС 0300710
Каталог запасных частей к технике: Гомсельмаш КВК-800 (FS80-7). Установка колонки привода УЭС 0300710
zoom-in
zoom-out
enlarge
shrink
circle-right
circle-left
file-text2
info
cart
Тип техники
Не выбрано
Легковые автомобили
Грузовые автомобили и прицепы
Автобусы
Сельхозтехника
Спецтехника
Двигатели
Мототехника
Марка
Не выбрано
AGCO
Amity
CASE IH
DongFeng
Fortschritt
Foton
Franz Kleine
Gaspardo
Great Plains
KRONE
KUHN
Lemken
Lovol
MacDon
Massey Ferguson
New Holland
TIGARBO
Vaderstad
Versatile
Wirax
Агро
Агротехмаш
Бобруйскагромаш (ОАО «УКХ «Бобруйскагромаш»)
БЭМЗ
ВгТЗ
Воронежсельмаш
ВТЗ
Гомсельмаш
ДКЗ
ЗАО "Техника-сервис"
ЗиД
КЗК
Кировец-Ландтехник
Клевер
Красная Звезда
Лидагропроммаш
Лидсельмаш
ЛТЗ
Машстройхолдинг
Минитракторы
Мордовагромаш
МТЗ
Навигатор-Новое машиностроение
Нефтекамский автозавод
ПТЗ
Ремком
РСМ
Сибсельмаш
ТеКЗ
ТКЗ
ХЗТСШ
ХТЗ
ЮМЗ
Модель
Не выбрано
FS80-2 (2017)
KЗС-812 (2016)
KЗС-812 (2017)
KЗС-812 (2018)
KЗС-812 (2021)
KЗС-812 (ПАЛЕССЕ GS812 PRO) (2022)
KЗС-812 (ПАЛЕССЕ GS812) (2021)
KС-100 (2020)
KС-100 (2021)
KС-100 (2022)
KС-150С (2022)
KС-200 (2017)
MS280F (2022)
ЖГР-4.5-1 (2011)
ЖГР-4.5-1 (2018)
ЖЗК-5-1 (2021)
ЖЗК-5-2 (2021)
ЖЗК-6-5 (2008)
ЖЗК-6-5 (2020)
ЖЗК-7-5 (2008)
ЖЗК-7-5 (2011)
ЖЗК-7-7 (2020)
ЖЗК-9 (2020)
ЖЗС-6, 7 (2010)
ЖЗС-9-1 (2018)
ЖЗС-9-2 (2018)
ЖЗС-9-2 (2020)
ЖЗС-9-2 (2021)
ЖР-5 (2021)
КВК-1-0900000 (2018)
КВК-1-0900000 (2021)
КВК-6025 (2015)
КВК-800 (FS80) (2017)
КВК-800 (FS80-2) (2010)
КВК-800 (FS80-2) (2014)
КВК-800 (FS80-5) (2013)
КВК-800 (FS80-5) (2016)
КВК-800 (FS80-7) (2017)
КВК-800 ПАЛЕССЕ FS80-2 (2019)
КВК-800-8 ПАЛЕССЕ FS80-8 (2018)
КВК-800-8 ПАЛЕССЕ FS80-8 (2021)
КВК-8060 (2012)
КВК-8060 (2017)
КВК-8060 (2021)
КВК-8060 (2021)
КВС-1-3900000 (2007)
КВС-4-3900000 (2010)
КГС-0200000 (2010)
КГС-0800000 (2010)
КГС-0900000 (2010)
КДП-3000 Палессе FT40 (2008)
КЗР-10 (2007)
КЗС-10К (ПОЛЕСЬЕ) (2005)
КЗС-10К Палессе GS10 (2012)
КЗС-10К Палессе GS10 (2013)
КЗС-10К Палессе GS10 (2018)
КЗС-10К Палессе GS10 (2021)
КЗС-1218 (ПАЛЕССЕ GS12) дополнение 1 (2020)
КЗС-1218 (ПАЛЕССЕ GS12) дополнение 2 (2020)
КЗС-1218 часть 1 (2013)
КЗС-1218 часть 2 (2013)
КЗС-1218А-1 (2015)
КЗС-1218А-1 (2018)
КЗС-1218А-1 (2019)
КЗС-1218А-1 (ПАЛЕССЕ GS12 А1) Дополнение (2020)
КЗС-1420 часть 1 (2014)
КЗС-1420 часть 2 (2014)
КЗС-1624-1 (2014)
КЗС-1624-1 (2017)
КЗС-2124КР (2018)
КЗС-3221КР ПАЛЕССЕ GH800 (2021)
КЗС-4118К ПАЛЕССЕ GS 4118 (2019)
КЗС-575 (2016)
КЗС-7 (2010)
КЗС-812 (2013)
КЗС-812С (2011)
КЗС-812С (2014)
КОК-6 (2011)
КОК-6-3, КОК-6-3-01, КОК-6-3-02 (2020)
КОК-8-2 (2012)
КОК-8-4 (2018)
КПК Полесье-3000
КПК Полесье-3000 (2006)
КПК-3000 (ПАЛЕССЕ FH40) (2010)
КПК-3000А (Палессе FH40A) (2010)
КПР-6 (2005)
КПР-9 Полесье-СН-90 (2006)
КСК-100А (2002)
КСК-100А-3 (2005)
КСК-600 (2007)
КСК-600 (2011)
КСК-600 (2015)
КСК-600 (2017)
КСК-600А (2020)
КСН-6 (2005)
ПЗ (2019)
ПКК-0200000А-06 (2010)
ПКК-0350000 (2010)
ПКК-0400000А (2010)
ПКК-0460000 (2010)
ПКК-1-0350000А (2010)
ПР (2019)
ПР-9 (2021)
Приспособление ПР-4 (2013)
СТВ-12 (2005)
УЭС Полесье-250 (2006)
УЭС-2-250А (2010)
УЭС-2-280А (2010)
УЭС-2-280А (2018)
УЭС-2-280А ПАЛЕССЕ 2U280А (2020)
УЭС-280 (2017)
УЭС-280 ПАЛЕССЕ U280 (2020)
Схема
>
Не выбрано
Измельчитель самоходный КВС-7-0100000 (вид справа)
Измельчитель самоходный КВС-7-0100000 (вид слева)
Измельчитель самоходный КВС-7-0100000 (вид спереди)
Установка площадки входа КВС-2-0124000 (лист 1)
Установка площадки входа КВС-2-0124000 (лист 2)
Аппарат питающе-измельчающий КВС-2-0110000A
Аппарат питающий КВС-2-0111000В
Установка рамы верхней КВС-2-0111300Б
Установка карданного вала КВС-1-0119000-01
Пружины аппарата питающего
Датчик камнедетектора КВС-1-0111070-01
Контрпривод КВС-1-0111170А
Вальцы верхние КВС-2-0111100
Корпус КВС-2-0111180
Редуктор верхних вальцев КВС-2-0112000
Вальцы нижние КВС-2-0111200Г-01
Валец передний нижний КВС-1-0111210А-02
Датчик металлодетектора КВС-2-0701300-03
Редуктор нижних вальцев КВС-2-0113000
Коробка передач КВС-2-0114100А (Корпуса и крышки)
Коробка передач КВС-2-0114100А (Валы и шестерни)
Установка рычага КВС-2-0114020А
Муфта КГС 0100120
Установка гидромотора привода питающего аппарата КВС-2-0604210
Аппарат измельчающий КВС-2-0115000Б
Установка поддона КВС-2-0115050
Установка барабана КВС-2-0115430
Установка рычагов КВС-2-0117020 и КВС-2-0117020-01
Привод КВС-1-0115140Б
Подбрусник КВС-2-0117050А
Датчик положения КВС-1-0701500-01
Устройство заточное КВС-2-0116500
Установка каретки КВС-2-0116510
Привод каретки КВС-2-0116510
Установка опоры КВС-2-0116550
Привод измельчающего барабана КВС-5-0130000-01
Рычаг КВС-2-0130050
Устройство доизмельчающее КВС-1-0148000
Привод доизмельчающего устройства КВС-1-0132100
Рычаг КВС-1-0132010
Пружина КВС-1-0132090
Устройство доизмельчающее КВС-1-0148310
Устройство доизмельчающее КВС-1-0148310 (установка кожухов)
Устройство доизмельчающее КВС-1-0148310 (установка верхнего вальца)
Устройство доизмельчающее КВС-1-0148310 (установка нижнего вальца)
Валец верхний КВС-1-0148600
Валец нижний КВС-1-0148610
Валец КВС-1-0148900
Гидросистема регулировки зазора КВС-1-0603000
Цилиндр КВС-1-0603110
Толкатели КВС-1-0603020 и КВС-1-0603020-01
Механизм перемещения КВС-1-0148170
Установка ускорителя выброса, камеры приемной и основания силосопровода КВС-1-0140000
Камера приемная КВС-1-0147000
Ускоритель выброса КВС-1-0142000 (лист 1)
Ускоритель выброса КВС-1-0142000 (лист 2)
Вал ускорителя выброса КВС-1-0142900
Вал ускорителя выброса КВС-1-0142910А
Поддон бичевой КВС-1-0142320 (сменный)
Основание силосопровода и механизм поворота КВС-1-0143000
Проставка КВС-1-0147500
Силосопровод КВС-2-0144200
Гидроцилиндр КВС-2-0602500
Установка двигателя КВС-7-0150000 (лист 1)
Установка двигателя КВС-7-0150000 (лист 2)
Установка двигателя КВС-7-0150000 (лист 3)
Установка двигателя КВС-7-0150000 (лист 4)
Установка двигателя КВС-7-0150000 (лист 5)
Двигатель КВС-7-0150010 (лист 1)
Двигатель КВС-7-0150010 (лист 2)
Двигатель КВС-7-0150010 (лист 3)
Установка сливных рукавов КВС-7-0150260
Главный привод КВС-7-0151000
Механизм нажимной КВК 0151040
Корпус КВС-1-0151010
Амортизатор КЗК-10-0106160
Установка привода вентилятора КВС-7-0150090
Рычаг КВС-7-0150120
Установка блока радиаторов КВС-7-0152000 (лист 1)
Установка блока радиаторов КВС-7-0152000 (лист 2)
Редуктор КВС-1-0135000А-01
Стакан КВС-1-0135020А-01
Воздухозаборник КВС-5-0155000 (лист 1)
Воздухозаборник КВС-5-0155000 (лист 2)
Гидромотор воздухозаборника КВС-5-0602100
Установка бачка расширительного КВС-7-0154000
Установка щитков КВС-7-0156000
Установка глушителя КВС-7-0157000
Привод компрессора кондиционера КВС-1-0150100А
Компрессор КВС-1-0150630-01
Привод гидростата КВС-5-0133000А
Рычаг КВС-5-0133020
Насос трехсекционный КВС-2-0601200
Пружина КЗС 0100650
Установка аккумуляторов КВС-2-0101020
Установка топливного оборудования КВС-7-0103000 (лист 1)
Установка топливного оборудования КВС-7-0103000 (лист 2)
Установка топливного оборудования КВС-7-0103000 (лист 3)
Шасси КВС-2-0101500
Шасси КВС-2-0101500 (лист 2)
Мост ведущий КВС-2-0107000
Муфта КВС-1-0107050
Муфта КВС-1-0107060
Редуктор бортовой КЗК-10-0107200-02
Редуктор бортовой КЗК-10-0107200-02 (Корпуса и крышки)
Редуктор бортовой КЗК-10-0107200-02 (Валы и шестерни)
Редуктор бортовой КЗК-10-0107200-03
Редуктор бортовой КЗК-10-0107200-03 (Корпуса и крышки)
Редуктор бортовой КЗК-10-0107200-03 (Валы и шестерни)
Диски нажимные МК-23М.03.030А
Гидроцилиндр тормоза МК-23М.03.220А
Коробка диапазонов 3518020-46150 (Корпус, крышки)
Коробка диапазонов 3518020-46150 (Валы, шестерни)
Дифференциал 3518020-43190
Механизм переключения диапазонов 3518020-46160
Гидроцилиндр блокировки диапазонов 3518020-46330
Мост управляемых колес КВС-2-0109000
Мост управляемых колес КВС-2-0109000 (установка ступиц)
Гидроцилиндр УЭС-7-0109200
Устройство тягово-сцепное УЭС 0003150
Механизм вывешивания КВС-1-0105000А
Установка колес КВС-2-0108000 и КВС-2-0108000-01
Установка колес КЗК-10-0110000 и КЗК-10-0110000-01
Площадка управления КВС-7-0129000 (лист 1)
Площадка управления КВС-7-0129000 (лист 2)
Рычаги и трубопроводы площадки управления
Пульт управления КВС-7-0129050
Привод КВС-5-0129550
Ось КВС-1-0129800
Установка электрооборудования привода КВС-5-0724000
Электрооборудование пульта управления КВС-7-0725000
Панели пульта управления КВС-5-0700450 и КВС-2-0700460Б
Панель ввода жгутов КВС-5-0700470А-01
Блок управления питающим аппаратом КВС-2-0701900
Рулевая колонка КВС-1-0129230
Установка насоса-дозатора КВС-1-0602990
Привод управления КЗС 0119600
Кардан 50-3401060
Установка колеса рулевого КЗК-12-0122600 или КЗК-12-0122600-01
Колесо рулевое КЗК-12-0122300
Колесо рулевое УЭС 0302560
Зажим УЭС 0302540
Электрооборудование рулевой колонки КВС-1-0129230
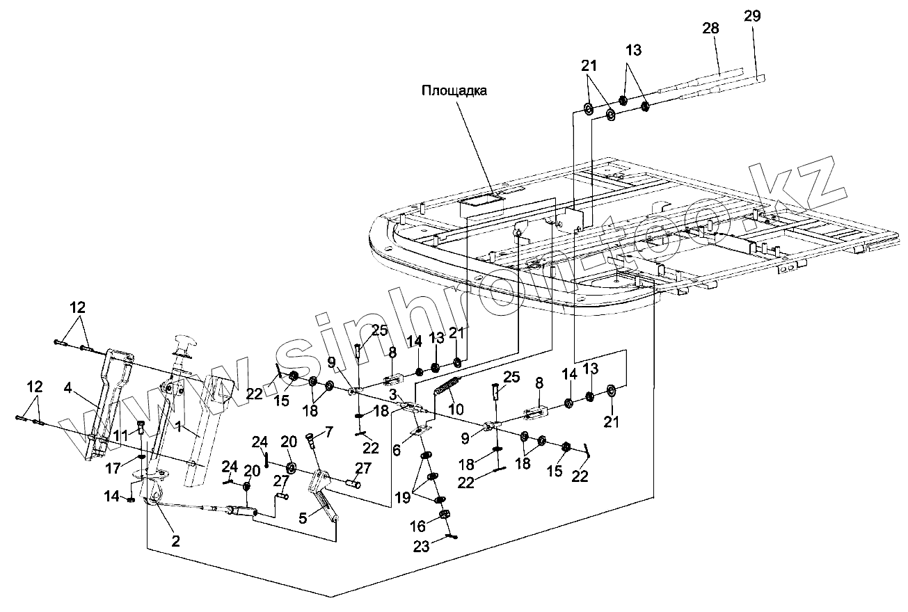
Установка колонки привода УЭС 0300710
Колонка привода УЭС 0300710
Установка механизма управления коробкой диапазонов КВС-2-0129040
Блок переключения КВС-2-0129070
Опора КВС-1-0129070
Шток КВС-1-0129180
Установка трубопроводов и стояночных тормозов КВС-1-0129100
Привод управления КВС-1-0129530А
Кабина КВС-2-0122000 (лист 1)
Кабина КВС-2-0122000 (лист 2)
Каркас КВС-2-0122010
Дверь КЗК-10-0200120
Дверь КЗК-10-0200140
Установка стеклоочистителя КЗК-12-0120810 или КЗК-12-0120810-01
Электрооборудование кабины КВС-2-0122000
Установка стеклоомывателей КВС-2-0122030
Установка климатическая КВС-2-0121000Б-03
Установка испарителя КВС-2-0121050-01
Установка капотов КВС-6-0160000-01 (установка капота верхнего)
Установка капотов КВС-6-0160000-01 (вид слева)
Установка капотов КВС-6-0160000-01 (вид справа)
Капот верхний КВС-2-0162000-01 (лист 1)
Капот верхний КВС-2-0162000-01 (лист 2)
Капот верхний КВС-2-0162000-01 (лист 3)
Воздухозаборник вращающийся КВС-1-0153000А
Бачок расширительный КВС-2-0154000Б
Установка настилов и ограждений КВС-2-0169000-02
Ящик КВС-2-0173000
Установка гидросистемы привода питающего аппарата и адаптеров КВС-2-0131500, КВС-2-0131500-01 и КВС-2-0131500-02
Редуктор КВС-2-0104100
Шестерня КВС-2-0104110
Гидросистема привода питающего аппарата и адаптеров комбайна КВК-800 КВС-5-0604000
Гидросистема привода питающего аппарата и адаптеров комбайна КВК-800 КВС-5-0604000
Гидросистема привода питающего аппарата и адаптеров комбайна КВК-800 КВС-5-0614000
Гидросистема привода питающего аппарата и адаптеров комбайна КВК-800 КВС-5-0614000
Гидросистема привода питающего аппарата и адаптеров комбайна КВК-800 КВК-5-0624000
Гидросистема привода питающего аппарата и адаптеров комбайна КВК-800 КВК-5-0624000
Фильтр напорный КВС-5-0604300
Гидроблок адаптеров КВС-2-0604170 и КВС-2-0604170А
Гидромотор привода адаптеров КГС 0115380
Гидроблок управления КГС 0115120А-01
Полумуфта внутренняя МС 12-3-020
Гидронасос двухсекционный КВС-5-0604330
Гидронасос двухсекционный КВС-5-0614340
Гидронасос двухсекционный КВС-5-0624340
Муфта КГС 0100110 и КГС 0100140
Гидросистема привода ходовой части КВС-5-0601000
Гидросистема привода ходовой части КВС-5-0601000
Гидроблок включения главного привода КВС-5-0601290
Фильтр всасывающий КВС-2-0601090Б
Бак масляный КВС-2-0601310В
Гидросистема рабочих органов и рулевого управления КВС-5-0602000
Гидросистема рабочих органов и рулевого управления КВС-5-0602000
Гидроцилиндр КВС-1-0602120
Фильтр напорный КВС-5-0602370
Клапан-сигнализатор УЭС 0603660-01
Дроссель с обратным клапаном регулируемый КВС-1-0602170
Гидроцилиндр КВС-1-0602440 и КВС-1-0602440-01
Блок пневмогидроаккумуляторов КВС-1-0602540
Дроссель с обратным клапаном КВС-1-0602690-05
Фильтр сливной КВС-2-0602020-01
Гидроблок четырехсекционный КВС-2-0602310-01
Гидроблок навески КВС-5-0602300 и КВС-5-0602320
Гидроблок воздухозаборника КВС-5-0602310А
Клапан приоритетный КВС-5-602340
Пневмогидроаккумулятор КВС-5-0602400
Кран КЗК-10-0602380
Пневмосистема КВС-7-0800000
Ресиверы КВС-5-0800030 и КВС-5-0800050
Регулятор давления КВС-5-0800190
Установка электрооборудования КВС-7-0721000
Установка электрооборудования КВС-7-0721000
Установка электрооборудования КВС-7-0721000
Электрошкаф КВС-2-0702010Б-01
Установка ОВК КВС-2-0900000А
1
2
3
4
5
6
7
8
8
9
9
10
11
12
12
13
13
13
14
14
14
15
15
16
17
18
18
18
18
19
20
20
21
21
21
22
22
22
22
23
24
24
25
25
27
27
28
29
Позиция на иллюстрации
Заводской номер детали
Название детали
КВС-7-0129000
КВС-7-0129000
Площадка управления
1
УЭС0300270
Крышка
2
УЭС0300710
Колонка привода
3
РСМ-10.04.15.130
Качалка
4
УЭС0300087
Крышка
5
УЭС0300205
Рычаг
6
УЭС0300522
Пластина
7
УЭС0300626
Ось
8
УЭС0300686
Вилка
9
УЭС0302611
Сухарик
10
РСМ10.04.13.606Б
Пружина
11
БолтМ8-6ех30-7796
Болт М8-6ех30-7796
12
ВинтВ.М4-6ех25-17473
Винт В.М4-6ех25-17473
13
ГайкаМ18х1,5-6G-2526
Гайка М18х1,5-6G-2526
14
ГайкаМ8-6G-5915
Гайка М8-6G-5915
15
ГайкаМ8-6G-5919
Гайка М8-6G-5919
16
ГайкаМ10-6G-5919
Гайка М10-6G-5919
17
Шайба8Т.65Г-6402
Шайба 8Т.65Г-6402
18
ШайбаС.8.01-11371
Шайба С.8.01-11371
19
ШайбаС.10.01-11371
Шайба С.10.01-11371
20
ШайбаС.14.01-11371
Шайба С.14.01-11371
21
ШайбаС.18.01-11371
Шайба С.18.01-11371
22
Шплинт2х20-397
Шплинт 2х20-397
23
Шплинт3,2х20-397
Шплинт 3,2х20-397
24
Шплинт4х25-397
Шплинт 4х25-397
25
6-8b12х30-9650
Ось 6-8 b12х30-9650
26
6-10b12х36-9650
Ось 6-10 b12х36-9650
27
6-14b12х45-9650
Ось 6-14 b12х45-9650
28
113-075-03500
Трос дистанционного управления
29
113-075-04000
Трос дистанционного управления
Содержащиеся в справочниках-каталогах запасные части и детали не предлагаются к продаже, а носят исключительно информационный характер
Дополнительная информация
×
Название:
Номер:
Примечание: