Вернуться на главную
Поиск
Каталоги запчастей к технике
Сельхозтехника
Гомсельмаш
КВК-800 (FS80-2)
Гидронасос двухсекционный КВС-5-0624340
Каталог запасных частей к технике: Гомсельмаш КВК-800 (FS80-2). Гидронасос двухсекционный КВС-5-0624340
zoom-in
zoom-out
enlarge
shrink
circle-right
circle-left
file-text2
info
cart
Тип техники
Не выбрано
Легковые автомобили
Грузовые автомобили и прицепы
Автобусы
Сельхозтехника
Спецтехника
Двигатели
Мототехника
Марка
Не выбрано
AGCO
Amity
CASE IH
DongFeng
Fortschritt
Foton
Franz Kleine
Gaspardo
Great Plains
KRONE
KUHN
Lemken
Lovol
MacDon
Massey Ferguson
New Holland
TIGARBO
Vaderstad
Versatile
Wirax
Агро
Агротехмаш
Бобруйскагромаш (ОАО «УКХ «Бобруйскагромаш»)
БЭМЗ
ВгТЗ
Воронежсельмаш
ВТЗ
Гомсельмаш
ДКЗ
ЗАО "Техника-сервис"
ЗиД
КЗК
Кировец-Ландтехник
Клевер
Красная Звезда
Лидагропроммаш
Лидсельмаш
ЛТЗ
Машстройхолдинг
Минитракторы
Мордовагромаш
МТЗ
Навигатор-Новое машиностроение
Нефтекамский автозавод
ПТЗ
Ремком
РСМ
Сибсельмаш
ТеКЗ
ТКЗ
ХЗТСШ
ХТЗ
ЮМЗ
Модель
Не выбрано
FS80-2 (2017)
KЗС-812 (2016)
KЗС-812 (2017)
KЗС-812 (2018)
KЗС-812 (2021)
KЗС-812 (ПАЛЕССЕ GS812 PRO) (2022)
KЗС-812 (ПАЛЕССЕ GS812) (2021)
KС-100 (2020)
KС-100 (2021)
KС-100 (2022)
KС-150С (2022)
KС-200 (2017)
MS280F (2022)
ЖГР-4.5-1 (2011)
ЖГР-4.5-1 (2018)
ЖЗК-5-1 (2021)
ЖЗК-5-2 (2021)
ЖЗК-6-5 (2008)
ЖЗК-6-5 (2020)
ЖЗК-7-5 (2008)
ЖЗК-7-5 (2011)
ЖЗК-7-7 (2020)
ЖЗК-9 (2020)
ЖЗС-6, 7 (2010)
ЖЗС-9-1 (2018)
ЖЗС-9-2 (2018)
ЖЗС-9-2 (2020)
ЖЗС-9-2 (2021)
ЖР-5 (2021)
КВК-1-0900000 (2018)
КВК-1-0900000 (2021)
КВК-6025 (2015)
КВК-800 (FS80) (2017)
КВК-800 (FS80-2) (2010)
КВК-800 (FS80-2) (2014)
КВК-800 (FS80-5) (2013)
КВК-800 (FS80-5) (2016)
КВК-800 (FS80-7) (2017)
КВК-800 ПАЛЕССЕ FS80-2 (2019)
КВК-800-8 ПАЛЕССЕ FS80-8 (2018)
КВК-800-8 ПАЛЕССЕ FS80-8 (2021)
КВК-8060 (2012)
КВК-8060 (2017)
КВК-8060 (2021)
КВК-8060 (2021)
КВС-1-3900000 (2007)
КВС-4-3900000 (2010)
КГС-0200000 (2010)
КГС-0800000 (2010)
КГС-0900000 (2010)
КДП-3000 Палессе FT40 (2008)
КЗР-10 (2007)
КЗС-10К (ПОЛЕСЬЕ) (2005)
КЗС-10К Палессе GS10 (2012)
КЗС-10К Палессе GS10 (2013)
КЗС-10К Палессе GS10 (2018)
КЗС-10К Палессе GS10 (2021)
КЗС-1218 (ПАЛЕССЕ GS12) дополнение 1 (2020)
КЗС-1218 (ПАЛЕССЕ GS12) дополнение 2 (2020)
КЗС-1218 часть 1 (2013)
КЗС-1218 часть 2 (2013)
КЗС-1218А-1 (2015)
КЗС-1218А-1 (2018)
КЗС-1218А-1 (2019)
КЗС-1218А-1 (ПАЛЕССЕ GS12 А1) Дополнение (2020)
КЗС-1420 часть 1 (2014)
КЗС-1420 часть 2 (2014)
КЗС-1624-1 (2014)
КЗС-1624-1 (2017)
КЗС-2124КР (2018)
КЗС-3221КР ПАЛЕССЕ GH800 (2021)
КЗС-4118К ПАЛЕССЕ GS 4118 (2019)
КЗС-575 (2016)
КЗС-7 (2010)
КЗС-812 (2013)
КЗС-812С (2011)
КЗС-812С (2014)
КОК-6 (2011)
КОК-6-3, КОК-6-3-01, КОК-6-3-02 (2020)
КОК-8-2 (2012)
КОК-8-4 (2018)
КПК Полесье-3000
КПК Полесье-3000 (2006)
КПК-3000 (ПАЛЕССЕ FH40) (2010)
КПК-3000А (Палессе FH40A) (2010)
КПР-6 (2005)
КПР-9 Полесье-СН-90 (2006)
КСК-100А (2002)
КСК-100А-3 (2005)
КСК-600 (2007)
КСК-600 (2011)
КСК-600 (2015)
КСК-600 (2017)
КСК-600А (2020)
КСН-6 (2005)
ПЗ (2019)
ПКК-0200000А-06 (2010)
ПКК-0350000 (2010)
ПКК-0400000А (2010)
ПКК-0460000 (2010)
ПКК-1-0350000А (2010)
ПР (2019)
ПР-9 (2021)
Приспособление ПР-4 (2013)
СТВ-12 (2005)
УЭС Полесье-250 (2006)
УЭС-2-250А (2010)
УЭС-2-280А (2010)
УЭС-2-280А (2018)
УЭС-2-280А ПАЛЕССЕ 2U280А (2020)
УЭС-280 (2017)
УЭС-280 ПАЛЕССЕ U280 (2020)
Схема
>
Не выбрано
Измельчитель самоходный КВС-2-0100000-01 (лист 1)
Измельчитель самоходный КВС-2-0100000-01 (лист 2)
Аппарат питающе-измельчающий КВС-2-0110000A-01
Аппарат питающий КВС-2-0111000Б-01
Установка рамы верхней КВС-2-0111300Б-01 аппарата питающего
Установка карданного вала КВС-1-0119000-01
Пружины аппарата питающего
Датчик камнедетектора КВС-1-0111070-01
Контрпривод КВС-1-0111170
Вальцы верхние КВС-2-0111100
Корпус КВС-2-0111180
Редуктор верхних вальцев КВС-2-0112000
Вальцы нижние КВС-2-0111200Б
Валец передний нижний КВС-2-0111800
Датчик металлодетектора КВС-2-0701300
Металлодетектор КВС-2-0111900
Редуктор нижних вальцев КВС-2-0113000
Установка гидромотора привода питающего аппарата КВС-2-0604210
Коробка передач КВС-2-0114100А. Корпуса и крышки
Коробка передач КВС-2-0114100А. Валы и шестерни
Установка рычага КВС-2-0114020А
Муфта КГС 0100120
Аппарат измельчающий КВС-2-0115000Б-01
Установка поддона КВС-2-0115050
Установка барабана КВС-2-0115430
Установка рычагов КВС-2-0117020 и КВС-2-0117020-01
Привод КВС-1-0115140Б
Подбрусник КВС-2-0117050А
Датчик положения КВС-1-0701500-01
Устройство заточное КВС-2-0116500
Установка каретки КВС-2-0116510
Привод каретки КВС-2-0116510
Установка опоры КВС-2-0116550
Гидромотор заточного устройства КВС-1-0602650
Установка звезды КВС-2-0100460 на барабан измельчающего аппарата
Привод измельчающего барабана КВС-2-0130000-01
Рычаг КВС-2-0130050
Устройство доизмельчающее КВС-1-0148000
Привод доизмельчающего устройства КВС-1-0132100
Рычаг КВС-1-0132010
Пружина КВС-1-0132090
Устройство доизмельчающее КВС-1-0148310
Устройство доизмельчающее КВС-1-0148310 (установка кожухов)
Устройство доизмельчающее КВС-1-0148310 (установка верхнего вальца)
Устройство доизмельчающее КВС-1-0148310 (установка нижнего вальца)
Валец верхний КВС-1-0148600
Валец нижний КВС-1-0148610
Валец КВС-1-0148900
Гидросистема регулировки зазора КВС-1-0603000
Цилиндр КВС-1-0603110
Толкатели КВС-1-0603020 и КВС-1-0603020-01
Механизм перемещения КВС-1-0148170
Установка ускорителя выброса, камеры приемной и основания силосопровода КВС-1-0140000
Камера приемная КВС-1-0147000
Ускоритель выброса КВС-1-0142000 (лист 1)
Ускоритель выброса КВС-1-0142000 (лист 2)
Вал ускорителя выброса КВС-1-0142900
Вал ускорителя выброса КВС-1-0142910
Поддон бичевой КВС-1-0142320 (сменный)
Основание силосопровода и механизм поворота КВС-1-0143000
Гидромотор силосопровода КВС-1-0602970
Проставка КВС-1-0147500
Силосопровод КВС-2-0144000
Гидроцилиндр КВС-2-0602500
Установка дизеля ОМ 502LA КВС-2-0150000В (лист 1)
Установка дизеля ОМ 502LA КВС-2-0150000В (лист 2)
Установка дизеля ОМ 502LA КВС-2-0150000В (лист 3)
Установка дизеля ОМ 502LA КВС-2-0150000В (лист 4)
Электрооборудование дизеля OM 502LA КВС-2-0100000-01
Привод вентилятора КВС-2-0150090А
Механизм натяжения КВС-2-0150120
Установка главного привода
Главный привод КВС-2-0151000Г
Корпус КВС-2-0151010А
Механизм нажимной КВК 0151040
Стакан КВС-1-0151070
Установка щитов КВС-2-0156000Б
Установка блока радиаторов КВС-2-0152000А (лист 1)
Установка блока радиаторов КВС-2-0152000А (лист 2)
Редуктор КВС-2-0135000А
Стакан КВС-2-0135020А
Воздухозаборник КВС-5-0155000 (лист 1)
Воздухозаборник КВС-5-0155000 (лист 2)
Гидромотор воздухозаборника КВС-5-0602100
Привод компрессора кондиционера КВС-1-0150100А
Компрессор КВС-1-0150630-01
Привод гидростата КВС-2-0133000
Рычаг КВС-2-0133020
Насос трехсекционный КВС-2-0601200
Вал КВС-1-0133050
Муфта КЗК 0222100
Пружина КЗС 0100650
Установка аккумуляторов КВС-2-0101020
Установка топливного оборудования КВС-2-01037000 (лист 1)
Установка топливного оборудования КВС-2-01037000 (лист 2)
Шасси КВС-2-0101500 (лист 1)
Шасси КВС-2-0101500 (лист 2)
Мост ведущий КВС-2-0107000
Муфта КВС-1-0107050
Муфта КВС-1-0107060
Редуктор бортовой КЗК-10-0107200-02
Редуктор бортовой КЗК-10-0107200-02. Корпуса и крышки
Редуктор бортовой КЗК-10-0107200-02. Валы и шестерни
Редуктор бортовой КЗК-10-0107200-03
Редуктор бортовой КЗК-10-0107200-03. Корпуса и крышки
Редуктор бортовой КЗК-10-0107200-03. Валы и шестерни
Диски нажимные МК-23М.03.030А
Гидроцилиндр тормоза МК-23М.03.220А
Коробка диапазонов 3518020-46150 (корпус, крышки)
Коробка диапазонов 3518020-46150 (валы, шестерни)
Дифференциал 3518020-43190
Механизм переключения диапазонов 3518020-46160
Гидроцилиндр блокировки диапазонов 3518020-46330
Мост управляемых колес КВС-2-0109000
Мост управляемых колес КВС-2-0109000 (установка ступиц)
Гидроцилиндр УЭС-7-0109200
Гидромотор КВС-2-0601210-01
Устройство тягово-сцепное УЭС 0003150
Механизм вывешивания КВС-1-0105000А
Установка колес КВС-2-0108000 и КВС-2-0108000-01
Установка колес КЗК-10-0110000 и КЗК-10-0110000-01
Площадка управления КВС-2-0129000А-03 (лист 1)
Площадка управления КВС-2-0129000А-03 (лист 2)
Рычаги и трубопроводы площадки управления
Пульт управления КВС-2-0129050В-03
Привод КВС-5-0129550
Установка электрооборудования привода КВС-5-0724000
Электрооборудование пульта управления КВС-2-0129050В-03 (лист 1)
Электрооборудование пульта управления КВС-2-0129050В-03 (лист 2)
Блок регулировки питающим аппаратом КВС-2-0701800А
Рулевая колонка КВС-1-0129230 или КВС-1-0129230-03
Установка насоса-дозатора КВС-1-0602990 или КВС-1-0602990-01
Привод управления КЗС 0119600
Кардан 50-3401060
Установка колеса рулевого КЗК-12-0122600 или КЗК-12-0122600-01
Колесо рулевое КЗК-12-0122300
Колесо рулевое УЭС 0302560
Зажим УЭС 0302540
Электрооборудование рулевой колонки КВС-1-0129230 или КВС-1-0129230-03
Установка колонки привода УЭС 0300710
Колонка привода УЭС 0300710
Установка механизма управления коробкой диапазонов КВС-2-0129040
Блок переключения КВС-2-0129070
Опора КВС-1-0129070
Шток КВС-1-0129180
Установка трубопроводов и стояночных тормозов КВС-1-0129100
Привод управления КВС-1-0129530А
Установка площадки входа КВС-2-0124000 (лист 1)
Установка площадки входа КВС-2-0124000 (лист 2)
Кабина КВС-2-0122000 (лист 1)
Кабина КВС-2-0122000 (лист 2)
Каркас КВС-2-0122010
Дверь КЗК-10-0200120
Дверь КЗК-10-0200140
Установка стеклоочистителя КЗК-12-0120810 или КЗК-12-0120810-01
Электрооборудование кабины КВС-2-0122000
Установка стеклоомывателей КВС-2-0122030
Установка климатическая КВС-2-0121000Б
Установка испарителя КВС-2-0121050
Установка капотов КВС-2-0160000-02 (лист 1)
Установка капотов КВС-2-0160000-02 (лист 2)
Установка капотов КВС-2-0160000-02 (лист 3)
Капот верхний КВС-2-0162000-02 (лист 1)
Капот верхний КВС-2-0162000-02 (лист 2)
Капот верхний КВС-2-0162000-02 (лист 3)
Воздухозаборник вращающийся КВС-1-0153000А
Установка настилов и ограждений КВС-2-0169000
Ящик КВС-2-0173000
Установка гидросистемы привода питающего аппарата и адаптеров КВС-2-0131500-03 и КВС-2-0131500-04
Редуктор КВС-2-0104100
Шестерня КВС-2-0104110
Гидросистема привода питающего аппарата и адаптеров комбайна КВК-800-16 КВС-2-0604000Б (вид сбоку)
Гидросистема привода питающего аппарата и адаптеров комбайна КВК-800-16 КВС-2-0604000Б (вид сверху)
Гидросистема привода питающего аппарата и адаптеров комбайна КВК-800-16 КВС-2-0624000 (вид сбоку)
Гидросистема привода питающего аппарата и адаптеров комбайна КВК-800-16 КВС-2-0624000 (вид сверху)
Фильтр напорный КВС-5-0604300
Гидроблок адаптеров КВС-2-0604170 и КВС-2-0604170А
Гидромотор привода адаптеров КГС 0115380
Гидроблок управления КГС 0115120А-01
Полумуфта внутренняя МС 12-3-020
Гидронасос двухсекционный КВС-5-0604330
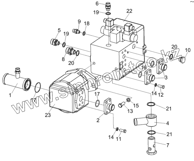
Гидронасос двухсекционный КВС-5-0624340
Муфта КГС 0100110 и КГС 0100140
Гидросистема привода ходовой части КВС-2-0601000В (вид слева)
Гидросистема привода ходовой части КВС-2-0601000В (вид сверху)
Бак масляный КВС-2-0601310В
Фильтр всасывающий КВС-2-0601090Б
Гидроблок включения главного привода КВС-1-0601220А
Гидросистема рабочих органов и рулевого управления КВС-5-0602000 (лист 1)
Гидросистема рабочих органов и рулевого управления КВС-5-0602000 (лист 2)
Гидроцилиндр КВС-1-0602120
Фильтр напорный КВС-5-0602370
Клапан-сигнализатор УЭС 0603660-01
Дроссель с обратным клапаном регулируемый КВС-1-0602170
Гидроцилиндр КВС-1-0602440 и КВС-1-0602440-01
Блок пневмогидроаккумуляторов КВС-1-0602540
Дроссель с обратным клапаном КВС-1-0602690-05
Фильтр сливной КВС-2-0602020-01
Гидроблок четырехсекционный КВС-2-0602310-01
Гидроблок навески КВС-5-0602300 и КВС-5-0602320
Гидроблок воздухозаборника КВС-5-0602310А
Клапан приоритетный КВС-5-602340
Пневмогидроаккумулятор КВС-5-0602400
Кран КЗК-10-0602380
Пневмосистема КВС-2-0800000
Ресиверы КВС-5-0800030 и КВС-5-0800050
Регулятор давления КВС-2-0800180
Электрооборудование измельчителя самоходного КВС-2-0100000-01 (лист 1)
Электрооборудование измельчителя самоходного КВС-2-0100000-01 (лист 2)
Электрооборудование измельчителя самоходного КВС-2-0100000-01 (лист 3)
Электрошкаф КВС-2-0702010Б-01
Электрооборудование электрошкафа КВС-2-0702010Б-01
Электропривод на опоре КВС-2-0701430
Электропривод на опоре КВС-2-0701430-01
Установка централизованной системы смазки КВС-2-0900700
Установка ОВК КВС-2-0900000А
1
2
3
4
5
6
7
8
9
10
11
12
13
14
14
15
16
17
17
18
19
19
20
20
21
21
22
23
Позиция на иллюстрации
Заводской номер детали
Название детали
КВС-5-0624320
КВС-5-0624320
Гидронасос шестеренный
КВС-5-0624340
КВС-5-0624340
Гидронасос двухсекционный
1
КВС-5-0614620
Фланец всасывающий
2
КВС-5-0614634
Фланец напорный
3
КГС0115090
Фланец
4
КГС0115230А
Угольник поворотный
5
КВС-5-0624601
Штуцер
6
КВС-1-0602608
Штуцер
7
КГС0115613А
Болт поворотного угольника
8
КГС0115652
Штуцер
9
КЗК0602604
Штуцер
10
ЗВГ0000601-06
Заглушка внутренняя гидравлическая
11
БолтМ10-6ех20-7796
Болт М10-6ех20-7796
12
БолтМ10-6eх25-7796
Болт М10-6eх25-7796
13
БолтМ12-6eх30-7796
Болт М12-6eх30-7796
14
Шайба10Т.65Г-6402
Шайба 10Т.65Г-6402
15
Шайба12Т.65Г-6402
Шайба 12Т.65Г-6402
16
024-028-25-2-2-18829/9833
Кольцо 024-028-25-2-2-18829/9833
17
032-036-25-2-2-18829/9833
Кольцо 032-036-25-2-2-18829/9833
18
14М1-23358
Прокладка
19
18М1-23358
Прокладка
20
22М1-23358
Прокладка
21
33М1-23358
Прокладка 33 М1-23358
22
A10VG45EP4D1/10L-NTC10F025DP-S
Гидронасос
23
SNP3NN/055LN07SAP1CACANNNN/NNNNN
Гидронасос шестеренный
Содержащиеся в справочниках-каталогах запасные части и детали не предлагаются к продаже, а носят исключительно информационный характер
Дополнительная информация
×
Название:
Номер:
Примечание: