Каталог запасных частей к технике: Гомсельмаш КПР-6. Редуктор (КПР6203050-01)
1
2
3
3
4
4
5
5
6
6
7
8
9
10
11
12
12
12
12
13
13
13
13
14
14
14
14
15
15
15
15
16
17
18
19
20
20
21
21
22
22
23
23
23
23
24
24
25
25
26
26
26
26
27
27
28
29
30
31
32
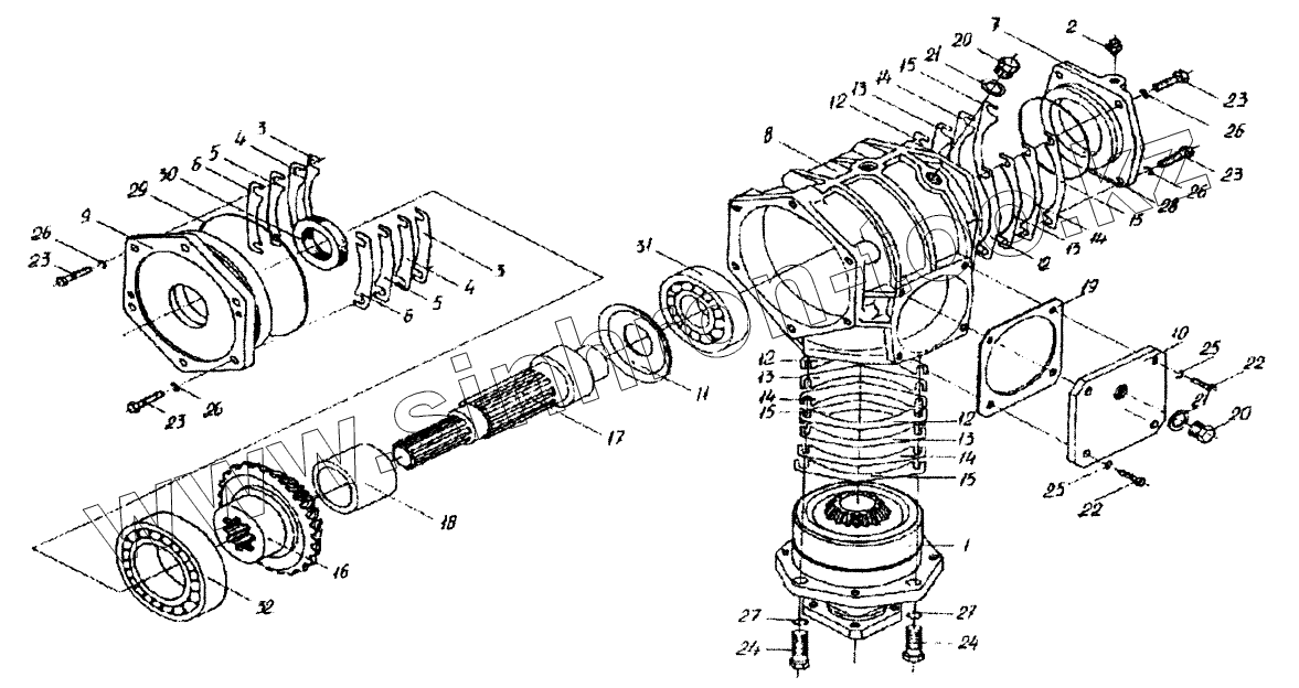
| Позиция на иллюстрации | Заводской номер детали | Название детали | |
|---|---|---|---|
| КПР6203020 | КПР6203020 | Стакан | |
| КПР6203090-01 | КПР6203090-01 | Крышка | |
| 1 | КПР6203060-01 | Стакан | |
| 2 | 34-4-1-17А | Сапун | |
| 3 | КПР6103501 | Прокладка регулировочная | |
| 4 | КПР6103501-01 | Прокладка регулировочная | |
| 5 | КПР6103501-02 | Прокладка регулировочная | |
| 6 | КПР6103501-03 | Прокладка регулировочная | |
| 7 | КПР6203104-01 | Крышка | |
| 8 | КПР6203201-01 | Корпус | |
| 9 | КПР6203202 | Стакан | |
| 10 | КПР6203401 | Крышка | |
| 11 | КПР6203402 | Маслоотражатель | |
| 12 | КПР6203501 | Прокладка регулировочная | |
| 13 | КПР6203501-01 | Прокладка регулировочная | |
| 14 | КПР6203501-02 | Прокладка регулировочная | |
| 15 | КПР6203501-03 | Прокладка регулировочная | |
| 16 | КПР6203602-01 | Шестерня | |
| 17 | КПР6203611 | Вал | |
| 18 | КПР6203801 | Втулка | |
| 19 | КИС0114014 | Прокладка | |
| 20 | КУЖ0110615 | Пробка | |
| 21 | РФ0000002 | Прокладка | |
| 22 | [Болт М8-6gх20-7796] | Болт М8-6gх20-7796 | |
| 23 | [Болт М10-6gх30-7796] | Болт М10-6gх30-7796 | |
| 24 | [Болт М12-6gх40-7796] | Болт М12-6gх40-7796 | |
| 25 | [Шайба 8.65Г-6402] | Шайба 8.65Г-6402 | |
| 26 | [Шайба 10.65Г-6402] | Шайба 10.65Г-6402 | |
| 27 | [Шайба 12.65Г-6402] | Шайба 12.65Г-6402 | |
| 28 | [Кольцо 094-100-36-2-2-18829/9833] | Кольцо 094-100-36-2-2-18829/9833 | |
| 29 | [Кольцо 140-150-46-2-2-18829/9833] | Кольцо 140-150-46-2-2-18829/9833 | |
| 30 | [Манжета 2.2-38х58-1-8752] | Манжета 2.2-38х58-1-8752 | |
| 31 | [Подшипник 7309А-27365] | Подшипник 7309А-27365 | |
| 32 | [Подшипник 7514] | Подшипник 7514 |
Содержащиеся в справочниках-каталогах запасные части и детали не предлагаются к продаже, а носят исключительно информационный характер