Каталог запасных частей к технике: Гомсельмаш КПК Полесье-3000. Делители боковые
1
2
3
4
5
6
7
8
9
10
11
11
12
12
13
13
14
15
16
16
17
18
19
20
20
21
21
22
22
23
23
24
24
25
25
26
27
27
28
28
29
29
30
30
30
30
31
31
32
33
33
34
35
35
35
35
35
36
36
37
38
39
39
39
39
39
40
40
40
40
40
41
41
42
42
43
43
43
44
44
45
45
46
46
46
46
47
48
49
49
50
50
50
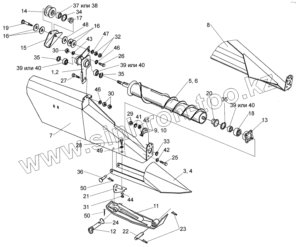
| Позиция на иллюстрации | Заводской номер детали | Название детали | |
|---|---|---|---|
| ПКК 0207000А-01 | ПКК 0207000А-01 | Делитель боковой | |
| ПКК 0207000А | ПКК 0207000А | Делитель боковой | |
| ПКК 0207210 | ПКК 0207210 | Вкладыш | |
| ПКК 0207200 | ПКК 0207200 | Ролик в сборе | |
| ПКК 0207210 | ПКК 0207210 | Вкладыш | |
| 1 | ПКК 0207020Б | Опора | |
| 2 | ПКК 0207020Б-01 | Опора | |
| 3 | ПКК 0207030 | Башмак | |
| 4 | ПКК 0207030-01 | Башмак | |
| 5 | ПКК 0207090 | Шнек | |
| 6 | ПКК 0207090-01 | Башмак | |
| 7 | ПКК 0207110 | Боковина | |
| 8 | ПКК 0207110-01 | Боковина | |
| 9 | ПКК 0207180 | Скребок | |
| 10 | ПКК 0207180-01 | Скребок | |
| 11 | МКС 0205000 | Башмак | |
| 11 | МКС 0205000 | Башмак | |
| 12 | МКС 0206000 | Фиксатор | |
| 12 | МКС 0206000 | Фиксатор | |
| 13 | ПКК 0207103 | Корпус опоры | |
| 13 | ПКК 0207103 | Корпус опоры | |
| 14 | ПКК 0207107 | Ролик натякной | |
| 15 | ПКК 0207445 | Ограждение | |
| 16 | ПКК 0207451 | Шайба | |
| 17 | ПКК 0207611 | Втулка | |
| 18 | ПКК 0207612 | Вкладыш | |
| 19 | ПКК 0207615 | Ось | |
| 20 | ПКК 0207805 | Кожух защитный | |
| 20 | ПКК 0207805 | Кожух защитный | |
| 21 | МКС 0200404 | Скоба | |
| 21 | МКС 0200404 | Скоба | |
| 22 | МКС 0200603 | Ось | |
| 22 | МКС 0200603 | Ось | |
| 23 | ЖКЛ 0000609 | Шплинт | |
| 23 | ЖКЛ 0000609 | Шплинт | |
| 24 | А 61.05.004 | Кольцо | |
| 24 | А 61.05.004 | Кольцо | |
| 25 | [Болт М8-6ех25 – 7796] | Болт М8-6ех25 – 7796 | |
| 25 | [Болт М8-6ех25 – 7796] | Болт М8-6ех25 – 7796 | |
| 26 | [Болт М10-6ех25 – 7796] | Болт М10-6ех25 – 7796 | |
| 27 | [Болт М10-6ех35 – 7796] | Болт М10-6ех35 – 7796 | |
| 27 | [Болт М10-6ех35 – 7796] | Болт М10-6ех35 – 7796 | |
| 28 | [Болт М12-6ех35 – 7796] | Болт М12-6ех35 – 7796 | |
| 28 | [Болт М12-6ех35 – 7796] | Болт М12-6ех35 – 7796 | |
| 29 | [Гайка М6-6g – 5915] | Гайка М6-6g – 5915 | |
| 29 | [Гайка М6-6g – 5915] | Гайка М6-6g – 5915 | |
| 30 | [Гайка М10-6g – 5915] | Гайка М10-6g – 5915 | |
| 30 | [Гайка М10-6g – 5915] | Гайка М10-6g – 5915 | |
| 30 | [Гайка М10-6g – 5915] | Гайка М10-6g – 5915 | |
| 31 | [Гайка М12-6g – 5915] | Гайка М12-6g – 5915 | |
| 31 | [Гайка М12-6g – 5915] | Гайка М12-6g – 5915 | |
| 32 | [Гайка М16-6g – 5915] | Гайка М16-6g – 5915 | |
| 33 | [Кольцо В25 – 13940] | Кольцо В25 – 13940 | |
| 33 | [Кольцо В25 – 13940] | Кольцо В25 – 13940 | |
| 34 | [Кольцо В47 – 13941] | Кольцо В47 – 13941 | |
| 35 | [Кольцо В52 – 13943] | Кольцо В52 – 13943 | |
| 35 | [Кольцо В52 – 13943] | Кольцо В52 – 13943 | |
| 35 | [Кольцо В52 – 13943] | Кольцо В52 – 13943 | |
| 36 | [Ось 6- 16b12х140 – 9650] | Ось 6- 16b12х140 – 9650 | |
| 36 | [Ось 6- 16b12х140 – 9650] | Ось 6- 16b12х140 – 9650 | |
| 37 | [Подшипник 180204 – 8882] | Подшипник 180204 – 8882 | |
| 38 | [Подшипник 180204С17 – 8882] | Подшипник 180204С17 – 8882 | |
| 39 | [Подшипник 180205 – 8882] | Подшипник 180205 – 8882 | |
| 39 | [Подшипник 180205 – 8882] | Подшипник 180205 – 8882 | |
| 39 | [Подшипник 180205 – 8882] | Подшипник 180205 – 8882 | |
| 40 | [Подшипник 180205АС17 – 8882] | Подшипник 180205АС17 – 8882 | |
| 40 | [Подшипник 180205АС17 – 8882] | Подшипник 180205АС17 – 8882 | |
| 40 | [Подшипник 180205АС17 – 8882] | Подшипник 180205АС17 – 8882 | |
| 41 | [Шайба 6Т 65Г – 6402] | Шайба 6Т 65Г – 6402 | |
| 41 | [Шайба 6Т 65Г – 6402] | Шайба 6Т 65Г – 6402 | |
| 42 | [Шайба 8Т 65Г – 6402] | Шайба 8Т 65Г – 6402 | |
| 42 | [Шайба 8Т 65Г – 6402] | Шайба 8Т 65Г – 6402 | |
| 43 | [Шайба 10Т 65Г – 6402] | Шайба 10Т 65Г – 6402 | |
| 43 | [Шайба 10Т 65Г – 6402] | Шайба 10Т 65Г – 6402 | |
| 43 | [Шайба 10Т 65Г – 6402] | Шайба 10Т 65Г – 6402 | |
| 44 | [Шайба 12Т 65Г – 6402] | Шайба 12Т 65Г – 6402 | |
| 44 | [Шайба 12Т 65Г – 6402] | Шайба 12Т 65Г – 6402 | |
| 45 | [Шайба А.6.01 – 6958] | Шайба А.6.01 – 6958 | |
| 45 | [Шайба А.6.01 – 6958] | Шайба А.6.01 – 6958 | |
| 46 | [Шайба А.10.01 – 6958] | Шайба А.10.01 – 6958 | |
| 46 | [Шайба А.10.01 – 6958] | Шайба А.10.01 – 6958 | |
| 46 | [Шайба А.10.01 – 6958] | Шайба А.10.01 – 6958 | |
| 47 | [Шайба А.16.01 – 6958] | Шайба А.16.01 – 6958 | |
| 48 | [Шайба А.20.01 – 6958] | Шайба А.20.01 – 6958 | |
| 49 | [Шайба С.12.01 – 11371] | Шайба С.12.01 – 11371 | |
| 49 | [Шайба С.12.01 – 11371] | Шайба С.12.01 – 11371 | |
| 50 | [Шплинт 4х25 – 397] | Шплинт 4х25 – 397 | |
| 50 | [Шплинт 4х25 – 397] | Шплинт 4х25 – 397 |
Содержащиеся в справочниках-каталогах запасные части и детали не предлагаются к продаже, а носят исключительно информационный характер