Каталог запасных частей к технике: Gaspardo AI MAXI. Рама
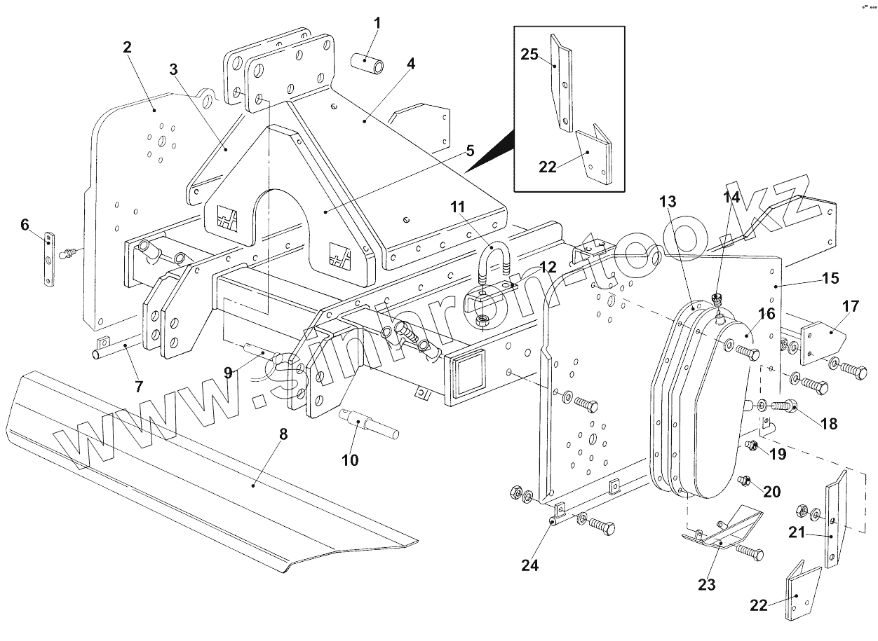
1
2
3
4
5
6
7
8
9
10
11
12
13
14
15
16
17
18
19
20
21
22
22
23
24
25
| Позиция на иллюстрации | Заводской номер детали | Название детали | |
|---|---|---|---|
| 1 | EHR000074R | Распорная втулка | |
| 2 | EHR000157R | Правая боковая панель | |
| 3 | EHR000155R | Трехточечная боковая панель | |
| 4 | EHR000154R | Трехточечная боковая панель | |
| 5 | EHR000131R | Передняя закрывающая панель | |
| 6 | EHR000115R | Защита масленки | |
| 7 | EHR000003R | Правая салазка | |
| 8 | EHR000190R | Передний защитный кожух | |
| 8 | EHR000189R | Передний защитный кожух | |
| 8 | EHR000188R | Передний защитный кожух | |
| 8 | EHR000187R | Передний защитный кожух | |
| 8 | EHR000186R | Передний защитный кожух | |
| 9 | EHR000132R | Палец третьей точки | |
| 10 | EHR000138R | Палец 1-2 точек | |
| 11 | EHR000191R | U-образный болт | |
| 12 | EHR000073R | Скоба для хомута | |
| 13 | EHR000002R | Уплотнение картера передачи ротора | |
| 14 | EHR000055R | Заливная пробка | |
| 15 | EHR000156R | Левая боковая панель | |
| 16 | EHR000192R | Кожух ротора | |
| 17 | EHR000053R | Штанга бороздоделателя | |
| 17 | EHR000052R | Штанга бороздоделателя | |
| 17 | EHR000051R | Штанга бороздоделателя | |
| 17 | EHR000050R | Штанга бороздоделателя | |
| 18 | EHR000037R | Винт регулировки натяжителя цепи | |
| 19 | EHR000058R | Пробка уровня масла | |
| 20 | EHR000056R | Сливная пробка | |
| 21 | EHR000173R | Левый ограничитель | |
| 22 | EHR000072R | Скоба-ограничитель гряды | |
| 23 | EHR000116R | Защита кожуха | |
| 24 | EHR000001R | Левая салазка | |
| 25 | EHR000174R | Правый ограничитель |
Содержащиеся в справочниках-каталогах запасные части и детали не предлагаются к продаже, а носят исключительно информационный характер