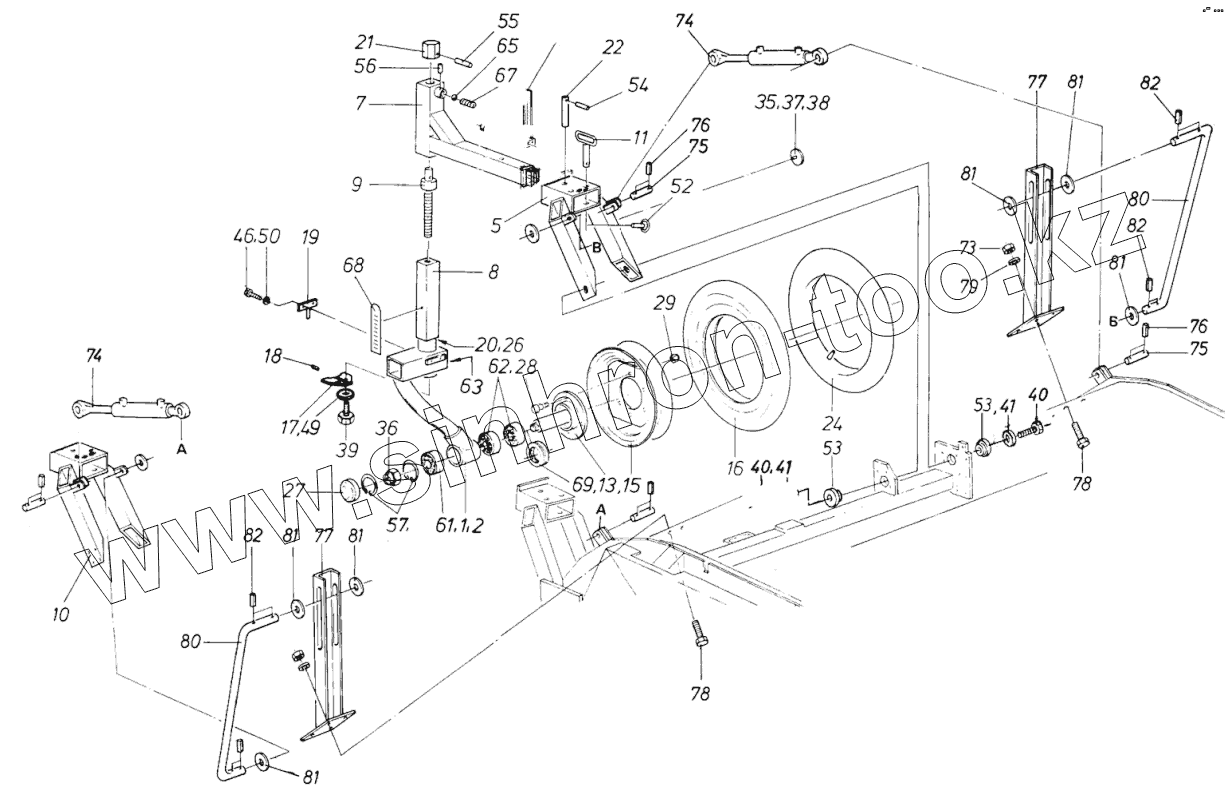
Каталог запасных частей к технике: Franz Kleine SF-10-2. Опорные колеса
1
2
5
7
8
9
10
11
13
15
16
17
18
19
20
21
22
24
26
27
28
29
35
36
37
38
39
40
40
41
41
46
49
50
52
53
53
54
55
56
57
61
62
63
65
67
68
69
73
74
74
75
75
76
76
77
77
78
78
79
80
80
81
81
81
81
81
81
82
82
82
| Позиция на иллюстрации | Заводской номер детали | Название детали | |
|---|---|---|---|
| 1 | 11-800-002-002 | Колёсный кронштайн, справа | |
| 2 | 11-800-002-006 | Колёсный кронштайн, слева | |
| 5 | S4-240-002-009 | Опорная стойка, справа | |
| 7 | S0-240-002-012 | Опора | |
| 8 | 11-800-002-015 | Направляющая труба | |
| 9 | 10-800-002-016 | Шпиндель | |
| 10 | S4-240-002-011 | Опорная стойка, слева | |
| 11 | 16-800-002-018 | Вставной палец | |
| 13 | 11-800-002-020 | Гребень обода колеса | |
| 15 | 13-623-002-001-010 | Обод колеса | |
| 16 | 13-623-002-001-011 | Шина | |
| 16а | 13-623-002-099 | Шина в сборе | |
| 17 | 22-729-002-000-001 | Ограничительная плиточка | |
| 18 | 934 | Призматическая шпонка А 8x7x45 | |
| 19 | 22-729-002-071 | Упор | |
| 20 | 10-800-002-001-004 | Шайба | |
| 21 | 10-800-002-001-005 | Шестигранный сталь | |
| 22 | 16-800-002-001-006 | Палец | |
| 24 | 13-623-002-001-012 | Камера | |
| 26 | 04-002-001-051 | Втулка | |
| 27 | Y1-007-001-017 | Крышка-заглушка | |
| 28 | 14-003-002-002-001 | Колёсный болт | |
| 29 | 705 | Гайка с шариковой головкой AM14x1,5 | |
| 33 | 686 | Шестигранная гайка М16 | |
| 35 | 664 | Шестигранная гайка M5 | |
| 36 | 2480 | Шестигранная гайка М24х1,5 | |
| 37 | 531 | Винт со сферо-цилиндр. Головкой М5х20 | |
| 38 | Y6-101-000-030 | Рефлектор | |
| 39 | 29389 | Шестигранный винт М12х1,5х25 10.9 | |
| 40 | 360 | Шестигранный винт | |
| 41 | 26609 | Блокирующая шайба SKM16 | |
| 46 | 471 | Шестигранный винт М10х25 | |
| 49 | 781 | Шайба А13 | |
| 50 | 807 | Упругая зажимная шайба 10 | |
| 52 | 2817 | Откидной арретир | |
| 53 | S7-120-002-050-001 | Опорная шейка | |
| 54 | 865 | Трубчатый разрезной штифт 6х36 | |
| 55 | 2715 | Трубчатый разрезной штифт 6x30 | |
| 56 | 862 | Трубчатый разрезной штифт 5х24 | |
| 57 | 962 | Стопорное кольцо 62х2 | |
| 61 | 3728 | Радиальный шарикоподшипник 6305-2RS | |
| 62 | 14371 | Радиальный шарикоподшипник | |
| 63 | 754 | Пресс-маслёнка с конич. головкой Н18x1S | |
| 65 | 13955 | Стальный шарик диаметром 14 | |
| 67 | 16-400-003-001-002 | Пружина | |
| 68 | 16-600-001-060-025 | Наклейка | |
| 69 | 16917 | 1 Комплект кольца Фей 75,0/4,1/1,65 | |
| 72 | 463 | Шестигранный винт М8х20 | |
| 73 | 682 | Шестигранная гайка М8 | |
| 74 | S5-720-002-055 | Цилиндр | |
| 75 | Х1-003-006-002 | Палец | |
| 76 | 863 | Штифт распорный 5x30 | |
| 77 | 12-840-002-051 | Указатель глубины | |
| 78 | 464 | Шестигранный винт М8х25 | |
| 79 | 806 | Упругая зажимная шайба 8 | |
| 80 | 12-840-002-000-050 | Указательная скоба | |
| 81 | 781 | Шайба А13 | |
| 82 | 860 | Трубчатый разрезной штифт 4х26 |
Содержащиеся в справочниках-каталогах запасные части и детали не предлагаются к продаже, а носят исключительно информационный характер