Вернуться на главную
Поиск
Каталоги запчастей к технике
Сельхозтехника
Foton
Foton Europard 40
Gearbox Assembly
Каталог запасных частей к технике: Foton Europard 40. Gearbox Assembly
zoom-in
zoom-out
enlarge
shrink
circle-right
circle-left
file-text2
info
cart
Тип техники
Не выбрано
Легковые автомобили
Грузовые автомобили и прицепы
Автобусы
Сельхозтехника
Спецтехника
Двигатели
Мототехника
Марка
Не выбрано
AGCO
Amity
CASE IH
DongFeng
Fortschritt
Foton
Franz Kleine
Gaspardo
Great Plains
KRONE
KUHN
Lemken
Lovol
MacDon
Massey Ferguson
New Holland
TIGARBO
Vaderstad
Versatile
Wirax
Агро
Агротехмаш
Бобруйскагромаш (ОАО «УКХ «Бобруйскагромаш»)
БЭМЗ
ВгТЗ
Воронежсельмаш
ВТЗ
Гомсельмаш
ДКЗ
ЗАО "Техника-сервис"
ЗиД
КЗК
Кировец-Ландтехник
Клевер
Красная Звезда
Лидагропроммаш
Лидсельмаш
ЛТЗ
Машстройхолдинг
Минитракторы
Мордовагромаш
МТЗ
Навигатор-Новое машиностроение
Нефтекамский автозавод
ПТЗ
Ремком
РСМ
Сибсельмаш
ТеКЗ
ТКЗ
ХЗТСШ
ХТЗ
ЮМЗ
Модель
Не выбрано
Foton Europard 25 (2010)
Foton Europard 40 (2010)
TA60 (2010)
Схема
>
Не выбрано
Engine assembly
Air Cleaner Assembly
Air Cleaner Assembly
Cooling System Assembly
Pressure-Reducing Mechanism Assembly
Control Mechanism Assembly of the Engine
Single-Stage Clutch Assembly(FT300)
Single-Stage Clutch Assembly(FT400)
Dual-Stage Clutch Assembly
Exhaust Tube Assembly
Front Axle Assembly
Front Axle Assembly
Front Driving Axle Assembly(yantai)
Front Driving Axle Assembly(yantai)
Front Driving Axle Assembly(yantai)
Front Driving Axle Assembly(yantai)
Front Driving Axle Assembly(yantai)
Front Driving Axle Assembly(qingjiang)
Front Driving Axle Assembly(qingjiang)
Front Driving Axle Assembly(qingjiang)
Front Driving Axle Assembly(qingjiang)
Front Driving Axle Assembly(qingjiang)
Front Driving Axle Assembly(qingjiang)
Front Driving Wheel Assembly
Front Wheel assembly
Rear Driving Wheel and Rear Ballast Assembly
Towing Mechanism Assembly
Gearbox Assembly
Gearbox Assembly
Gearbox Assembly
Gearbox Assembly
Gearbox Assembly(creeper)
Gearbox Assembly(shuttle-type gear shift)
Gearbox Assembly(shuttle-type gear shift)
Gearbox Assembly(shuttle-type gear shift)
Rear Axle Assembly
Rear Axle Assembly
Rear Axle Assembly
Rear Axle Assembly
Rear Axle Assembly
Final Drive Assembly
Hydraulic Steering Wheel Assembly
Hydraulic Steering Wheel Assembly
Hydraulic Steering Wheel Assembly
PTO Shaft Assembly
PTO Shaft Assembly
PTO Shaft Assembly
PTO Shaft Assembly
PTO Shaft Assembly
Transfer Case Assembly
Transfer Case Assembly
Brake Assembly
Brake Assembly
Driver's Seat Assembly
Driver's Cab Assembly
Driver's Cab Assembly
Safety Frame Assembly
Helmet Structure Assembly
Helmet Structure Assembly
Helmet Structure Assembly
Helmet Structure Assembly
Electrical System Assembly
Electrical System Assembly
Tool Box Assembly
Fuel Tank and Bracket Assembly
Hitch Mechanism Assembly
Lifter assembly
Lifter assembly
Lifter assembly
Lifter assembly
Suspension Mechanism Assembly
Suspension Mechanism Assembly
Gear Pump/Pipe and Filter Assembly
Gear Pump/Pipe and Filter Assembly (FT300)
Gear Pump/Pipe and Filter Assembly (FT400)
Gear Pump/Pipe and Hydraulic Output Assembly (FT304)
Gear Pump/Pipe and Hydraulic Output Assembly (FT304)
Gear Pump/Pipe and Hydraulic Output Assembly (FT354)
Gear Pump/Pipe and Hydraulic Output Assembly (FT354)
Gear Pump/Pipe and Hydraulic Output Assembly (FT404)
Gear Pump/Pipe and Hydraulic Output Assembly (FT404)
Gear Pump/Pipe and Multi-way Valve Assembly
Gear Pump/Pipe and Multi-way Valve Assembly
Gear Pump/Pipe and Oil Filter Assembly
Front Ballast Bracket Assembly
Front Ballast Bracket Assembly
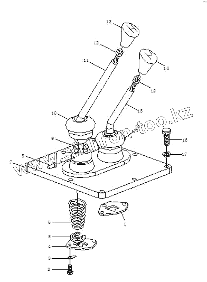
1
2
3
4
5
6
7
8
9
10
10
11
12
12
13
14
15
16
17
Позиция на иллюстрации
Заводской номер детали
Название детали
1
FT300.37.161
Auxiliary gearshift runner
2
GB/T5783
Болт M12x35
3
GB/T854
Tab washer with long tab8
4
FT300.37.162
Main gearshift runner
5
FT300.37.164
Spring snap ring of gear change handle
6
FT300.37.165
Spring of gear change handle
7
FT300.37.163
Upper housing ,gearbox
8
FT300.37.177
Rivet
9
GB/T893.1
Кольцо установочное для отверстия 110
10
FT300.37.166
Dust cover of gear change handle
11
FT300.37.167
Gear change handle ,main gearshift
12
GB/T6172
Гайка M10
13
FT300.37.015
Gear change handle assembly
14
FT300.37.016
Gear change handle assembly ,auxiliary gearshift
15
FT300.37.160a
Gear change handle of auxiliary gearshift
16
GB/T5783
Болт M12x35
17
GB/T93
Шайба 12
Содержащиеся в справочниках-каталогах запасные части и детали не предлагаются к продаже, а носят исключительно информационный характер
Дополнительная информация
×
Название:
Номер:
Примечание: