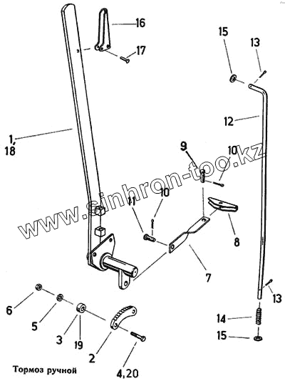
Каталог запасных частей к технике: Fortschritt Е-303. Тормоз ручной
1
2
3
4
5
6
7
8
9
10
10
11
12
13
13
14
15
15
16
17
18
19
20
| Позиция на иллюстрации | Заводской номер детали | Название детали | |
|---|---|---|---|
| 1 | 4131 77221 4 | Вал с рычагом | |
| 2 | 4210 37711 7 | Сегмент зубчатый | |
| 3 | 4131 77213 4 | Втулка распорная | |
| 4 | 9933 93026 8 | Болт шестигранный | |
| 5 | 9961 91123 7 | Кольцо пружинное | |
| 6 | 9950 89589 8 | Гайка шестигранная | |
| 7 | 4131 77450 5 | Соединение | |
| 8 | 4221 60594 7 | Коромысло | |
| 9 | 9949 86361 8 | Палец | |
| 10 | 9963 94974 6 | Шплинт | |
| 11 | 9949 86317 7 | Палец | |
| 12 | 4221 60588 3 | Тяга | |
| 13 | 9963 94941 6 | Шплинт | |
| 14 | 9973 87987 5 | Пружина сжатия | |
| 15 | 9960 92163 3 | Шайба | |
| 16 | 4131 77000 3 | Рукоятка | |
| 17 | 9971 89939 0 | Заклепка с полукруглой головкой | |
| 18 | 4131 78415 4 | Вал с рычагом | |
| 19 | 4131 78416 2 | Втулка распорная | |
| 20 | 9932 93046 1 | Болт шестигранный |
Содержащиеся в справочниках-каталогах запасные части и детали не предлагаются к продаже, а носят исключительно информационный характер